Чтение онлайн

на главную - закладки

Жанры

Аппаратные средства персональных компьютеров. Самоучитель
Шрифт:

Процессоры Intel

История персональных компьютеров неразрывно связана с микропроцессорами корпорации Intel. Инженеры корпорации первыми создали микросхему, в которой целиком была смоделирована вычислительная машина – калькулятор. И в дальнейшем именно корпорация Intel разрабатывала наиболее массовые процессоры для компьютеров. Поэтому рассмотрим шаг за шагом, как усложнялись конструкции процессоров семейства х86. Желающие узнать об этом из первоисточника, могут заглянуть на русскоязычный сайт корпорации (http://www.intel.ru) [2] .

2

Все

даты и цифры, касающиеся процессоров корпорации Intel, соответствуют официальным данным, приведенным на этом же сервере.

Докомпьютерная эра

Первая «компьютерная» микросхема была разработана в 1971 г. (официальная дата рождения 15 ноября) инженерами корпорации Intel по заказу небольшой японской фирмы, которая производила настольные калькуляторы Busicom.

Микросхема получила обозначение 4004 (рис. 2.1).

Рис. 2.1. Микросхема 4004

Примечание

На сервере корпорации Intel по адресу http://www.lntel.ru можно найти цветные фотографии кристаллов микросхем. Так, на фотографии кремниевого кристалла, который находится в микросхеме 4004, хорошо видны контактные площадки по краям, к которым припаиваются золотые проводки, ведущие к контактам корпуса микросхемы. Так как количество элементов на кристалле невелико, то ясно просматриваются отдельные элементы и напыленные проводники. В дальнейшем, по мере увеличения количества элементов кристалла и уменьшения их размеров, наглядность изображений значительно снижается.

Сегодня для обозначения процессоров часто добавляют букву "i" перед цифрами, например – i486, чтобы указать на изготовителя – корпорацию Intel, т. к. ряд фирм выпускают процессоры Intel по лицензии.

Технические характеристики 4004 в то время были довольно впечатляющие, хотя сегодня они вряд ли вызовут восхищение. Тактовая частота была всего 108 кГц, а количество выполняемых операций – 0,06 млн./с. По сравнению сегодняшними гигагерцами (миллиардами герц) совсем-совсем мало, но тридцать с небольшим лет назад это были отличные показатели.

Количество транзисторов в микросхеме составляло 2300 штук, которые выполнялись по 10 мкм технологии.

Размерность шины данных составляла совсем маленькую величину – 4 бита, а адресуемая память достигала 640 байтов (байтов, а не килобайт или мегабайт). Но поскольку основным назначением микросхемы было выполнение арифметических вычислений в калькуляторе, этого вполне хватало.

Вторая микросхема 8008, которая разрабатывалась одновременно с процессором 4004, появилась в апреле 1972 г. Ее тактовая частота достигла уже 200 кГц. Внешний вид микросхемы показан на рис. 2.2.

Рис. 2.2. Микросхема 8008

В новом процессоре шина данных была удвоена до 8 битов. Количество транзисторов на кристалле достигло 3500 (технология 10 мкм), соответственно, адресуемая память возросла до 16 Кбайт (тысяч байтов). Обратите внимание, что количество транзисторов не увеличилось пропорционально увеличению шины, т. к. в новом кристалле расположили не два процессора 4004, а разработали другую схему.

Как сказано на сайте корпорации Intel, основное назначение микросхемы 8008 – это использование ее в терминалах ввода/вывода, калькуляторах общего назначения и автоматах бутылочного разлива, а также в обработке данных и текста.

Шина данных

На протяжении всей книги будет использоваться

термин «размерность шины», например, 16-разрядная шина, 32-разрядная шина и т. д. В компьютерной индустрии это означает, что информация передается от устройства к устройству не по одному проводу, а параллельно по многим проводникам. Но, в любом случае, используется один общий провод, который называется «земля» или «общий».

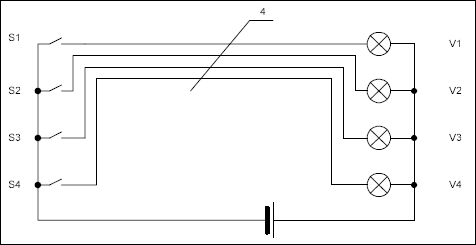
На рис. 2.3 показаны четыре лампочки, управляемые четырьмя выключателями – это наглядная иллюстрация четырехразрядной шины данных.

Рис. 2.3. Иллюстрация работы четырехразрядной шины

Можно также вспомнить, как устроено освещение в квартире. Например, к люстре для включения света в комнате могут подходить 3 провода, т. е. здесь используется 2-разрядная шина.

Технологии

Независимо от того, как выглядит корпус процессора (часто используется термин «чип», от англ. chip), внутри обязательно находится тонкая кремниевая пластинка площадью около 1 квадратного сантиметра, на которой вытравлены микротранзисторы, резисторы, конденсаторы. Каждый элемент на кристалле соединяется с другими тонкими проводниками, которые создаются напылением на кремний пленки золота, алюминия или меди.

Производство микросхем напоминает печать обычных фотографий с помощью фотоувеличителя. Через фототрафарет, аналог фотопленки, засвечивается фотослой, который нанесен на кремниевую пластину. Потом ее многократно травят в химических реактивах и напыляют в нужных местах слои металла. При установке кристалла в корпус микросхемы контактные площадки на кристалле с помощью тонких золотых проводников соединяют с выводами микросхемы.

В современных процессорах количество транзисторов превышает несколько десятков миллионов штук, но вот размеры кремниевых кристаллов не могут быть большими. В первую очередь, это обусловлено огромной ценой больших кристаллов, да и размеры корпуса процессора ограничены. Поэтому при изготовлении процессоров используются самые передовые технологии. Даже можно сказать, что разработка новых процессоров всегда влечет появление новых технологий, т. к. эти микросхемы содержат больше всего различных элементов на кристалле.

Наиболее выгодно сокращать размеры элементов и толщину проводников, т. к. в этом случае на одном и том же кристалле можно разместить значительно больше транзисторов. В первых процессорах использовалась технология 10 мкм, означающая, что минимальная толщина проводников или геометрические размеры транзисторов на кристалле кремния могут быть не меньше 10 мкм. В последних разработках используется технология 0,13 и даже 0,08 мкм, а это уже соизмеримо с длиной волны солнечного света. Поэтому в техпроцессе начинают применять мягкое рентгеновское излучение и пучки электронов, как в кинескопах.

Примечание

Технический термин, например, "0,13 мкм технология" означает, что размер поликремниевого затвора транзистора, созданного на кремниевой пластине, не может быть меньше 0,13 мкм. Этот параметр не только характеризует геометрические размеры, но и напрямую связан со скоростью работы микросхемы и энергопотреблением. Уменьшение размеров элементов на кристалле позволяет увеличить рабочую частоту и уменьшить потребляемый ток и напряжение. В свою очередь, уменьшение энергопотребления позволяет увеличивать рабочую частоту. Можно сказать, что ключевая проблема современной микроэлектроники заключается в том, как отвести тепло, выделяемое при работе, от кристалла. Например, без внешнего радиатора современный процессор нагреется до температуры выше 100 градусов примерно за секунду.

Поделиться:
Популярные книги

Купец из будущего 2

Чайка Дмитрий
2. Третий Рим
Фантастика:
попаданцы
альтернативная история
5.00
рейтинг книги
Купец из будущего 2

Крысиный бег II

А.Морале
2. Крысиный бег
Фантастика:
городское фэнтези
аниме
4.25
рейтинг книги
Крысиный бег II

Газлайтер. Том 3

Володин Григорий
3. История Телепата
Фантастика:
попаданцы
альтернативная история
аниме
5.00
рейтинг книги
Газлайтер. Том 3

Тринадцатый VII

NikL
7. Видящий смерть
Фантастика:
фэнтези
попаданцы
аниме
5.00
рейтинг книги
Тринадцатый VII

Холодный ветер перемен

Иванов Дмитрий
7. Девяностые
Фантастика:
попаданцы
альтернативная история
6.80
рейтинг книги
Холодный ветер перемен

Страж Кодекса. Книга IV

Романов Илья Николаевич
4. КО: Страж Кодекса
Фантастика:
фэнтези
попаданцы
аниме
5.00
рейтинг книги
Страж Кодекса. Книга IV

Эволюционер из трущоб. Том 12

Панарин Антон
12. Эволюционер из трущоб
Фантастика:
попаданцы
аниме
фэнтези
5.00
рейтинг книги
Эволюционер из трущоб. Том 12

Имя нам Легион. Том 17

Дорничев Дмитрий
17. Меж двух миров
Фантастика:
боевая фантастика
рпг
аниме
5.00
рейтинг книги
Имя нам Легион. Том 17

Око василиска

Кас Маркус
2. Артефактор
Фантастика:
городское фэнтези
попаданцы
аниме
5.00
рейтинг книги
Око василиска

Командор космического флота

Борчанинов Геннадий
3. Звезды на погонах
Фантастика:
боевая фантастика
космическая фантастика
космоопера
5.00
рейтинг книги
Командор космического флота

Чужак

Листратов Валерий
1. Ушедший Род
Фантастика:
попаданцы
аниме
фэнтези
5.00
рейтинг книги
Чужак

Моя простая курортная жизнь 4

Блум М.
4. Моя простая курортная жизнь
Любовные романы:
эро литература
5.00
рейтинг книги
Моя простая курортная жизнь 4

Отмороженный 4.0

Гарцевич Евгений Александрович
4. Отмороженный
Фантастика:
боевая фантастика
постапокалипсис
рпг
5.00
рейтинг книги
Отмороженный 4.0

Беглец

Бубела Олег Николаевич
1. Совсем не герой
Фантастика:
фэнтези
попаданцы
8.94
рейтинг книги
Беглец