Чтение онлайн

на главную - закладки

Жанры

Большая Советская Энциклопедия (ГИ)
Шрифт:

При запуске ракеты необходимо с высокой степенью точности знать скорость её вертикального взлёта. С этой, казалось бы, очень трудной задачей, тоже легко справляется прецессирующий Г.

В гироскопических приборах часто используют и свойства Г. с двумя степенями свободы. К таким приборам относятся авиационный указатель поворота, а также некоторые виды гиростабилизаторов, в частности устройства для пространственной стабилизации объекта (например, искусственного спутника Земли). Подробнее о всех этих и др. устройствах см. Гироскопические устройства.

Современная техника требует от многих гироскопических приборов очень высокой точности, что вызывает большие технологические трудности при их изготовлении. Например, у некоторых приборов

при весе ротора порядка 1 кГ для обеспечения нужной точности смещение центра тяжести от центра подвеса не должно превышать долей микрона, иначе момент силы тяжести вызовет нежелательную прецессию (уход) оси Г. Кроме того, на точность показаний приборов с Г. в кардановом подвесе влияет трение в осях. Всё это привело к разработке Г., основанных не на чисто механических, а на других физических принципах (см. также Квантовый гироскоп, Вибрационный гироскоп).

Лит.: Николаи Е. Л., Гироскоп и некоторые его технические применения, М. — Л., 1947 (популярное изложение); Граммель Р., Гироскоп, его теория и применения, пер. с нем., т. 1—2, М., 1952; Булгаков Б. В., Прикладная теория гироскопов, 2 изд., М., 1955; Ишлинский А. Ю., Механика гироскопических систем, М., 1963.

С. М. Тарг.

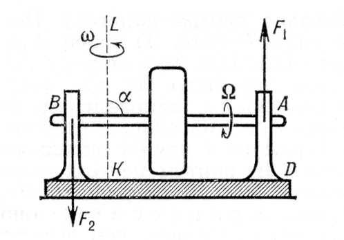
Рис. 8. Действие гироскопических сил на подшипники, закрепляющие ось, при повороте основания прибора вокруг оси KL.

Рис. 6. а — прецессия артиллерийского снаряда; б и в — схемы движения снарядов и их траектории соответственно; б — для невращающегося снаряда; в — для вращающегося.

Рис. 4. Правило определения направления прецессии: глядя на ротор из точки приложения силы Р, надо установить, как вращается ротор — по ходу или против хода часовой стрелки. После этого мысленно повернуть вектор АР вокруг оси АВ на 90° в ту же сторону (т. е. по ходу или против хода часовой стрелки соответственно); тогда он и укажет направление прецессии (здесь — AD).

Рис. 5. а — прецессия волчка под действием силы тяжести; б — движение оси волчка при медленном собственном вращении.

Рис. 7. Гироскоп с двумя степенями свободы.

Рис. 1. Волчок; ОА — его ось, Р — сила тяжести.

Рис. 3. Действие силы Р на гироскоп с вращающимся ротором; ось АВ движется перпендикулярно направлению Р.

Рис. 2. Гироскоп в кардановом подвесе. Ротор С, кроме вращения вокруг своей оси АВ, может вместе с рамкой 1 поворачиваться вокруг оси DE и вместе с рамкой 2 — вокруг оси GK; следовательно, ось ротора может занять любое положение в пространстве. О — центр подвеса, совпадающий с центром тяжести гироскопа.

Гироскоп направления

Гироско'п направле'ния, гироазимут, курсовой гироскоп, гирополукомпас, гироскопическое устройство для определения углов рыскания (изменения курса) и углов поворота объекта вокруг вертикальной оси. При согласовании Г. н. с плоскостью меридиана (например, по данным какого-нибудь компаса) он указывает текущее значение курса объекта. Г. н. представляет собой трёхстепенной астатический (уравновешенный) гироскоп, снабженный горизонтальной и азимутальной системами коррекции (см. рис.).

Горизонтальная система коррекции, удерживающая внутреннее карданово кольцо 2 (ось гироскопа 1) в плоскости горизонта, состоит из маятника-корректора 4, определяющего угол отклонения оси гироскопа от плоскости горизонта, и датчика моментов 5, прикладывающего к гироскопу соответствующие корректирующие моменты. Азимутальная система коррекции, удерживающая ось гироскопа в заданном азимутальном направлении (т. е. под заданным углом, например, к плоскости меридиана), состоит из датчика моментов 6 и вычислительного устройства 7, вырабатывающего момент азимутальной коррекции. При этом учитываются поправки на вращение Земли и на движение объекта относительно Земли. Азимутальная коррекция Г. н. может также осуществляться от чувствительного элемента, обладающего избирательностью по отношению к стабилизируемому направлению, например от магнитной стрелки (см. Гиромагнитный компас). Потенциометр 8 служит для съёма углов рыскания и поворота объекта вокруг вертикальной оси. Погрешности Г. н. характеризуются уходами оси гироскопа в азимуте, которые могут составлять от единиц до десятых долей градуса в час.

Г. н. используют для определения углов рыскания и поворота летательных аппаратов и кораблей, а также для кратковременного указания курса. Г. н. может применяться и как чувствительный элемент системы автоматической стабилизации курса объекта, например в автопилоте летательного аппарата, в автомате курса торпеды и др.

А. Ю. Ишлинский, С. С. Ривкин.

Принципиальная схема гироскопа направления: 1 — ротор; 2, 3 — внутреннее и наружное кардановы кольца; 4 — маятник-корректор; 5, 6 — датчики моментов; 7 — вычислительное устройство; 8 — потенциометр.

Гироскопические устройства

Гироскопи'ческие устро'йства, гироскопические приборы, электромеханические устройства, содержащие гироскопы, и предназначенные для определения параметров, характеризующих движение (или положение) объекта, на котором они установлены, а также для стабилизации этого объекта. Г. у. используют при решении задач навигации, управления подвижными объектами и др.

Наиболее существенными признаками, характеризующими применяемые в технике разнообразные Г. у., являются: тип гироскопа, физический принцип построения чувствительного гироскопического элемента, тип подвеса, назначение Г. у.

Типы гироскопов. Различают два основных типа гироскопов: с тремя и двумя степенями свободы. Гироскопы с тремя степенями свободы делятся на уравновешенные, или астатические, и неуравновешенные, или позиционные.

Астатическим называется гироскоп, у которого центр тяжести совпадает с точкой пересечения осей карданова подвеса (т. е. с точкой подвеса). Сила тяжести не влияет на движение оси такого гироскопа и её уходы при внешних возмущениях могут вызываться лишь моментами сил в осях подвеса (моменты сил трения и др.). При отсутствии моментов внешних сил гироскоп называется свободным. Хотя астатические гироскопы не обладают избирательностью по отношению к заданному направлению, т. е. «направляющей силой», стремящейся привести ось гироскопа в определенное положение, они используются в ряде Г. у., например, в гироскопах направления, гировертикалях и др., причём прецизионные гироскопы могут применяться без корректирующих устройств.

Позиционным называется гироскоп, обладающий избирательностью по отношению к некоторому направлению; при отклонении его оси от этого направления возникает «направляющая сила», стремящаяся вернуть ось гироскопа в заданное положение. Для придания Г. у. позиционных свойств применяют два способа. Первый состоит в смещении центра тяжести гироскопа относительно точки подвеса. Он используется в гирокомпасах, у которых «направляющая сила» возникает при отклонении оси гироскопа от плоскости меридиана, и в гиромаятниках, у которых «направляющая сила» возникает при отклонении оси гироскопа от вертикали места. Др. способ состоит в применении астатического гироскопа и соответствующей системы коррекции, например маятниковой (см. Гировертикаль).

Поделиться:
Популярные книги

Двойник Короля 5

Скабер Артемий
5. Двойник Короля
Фантастика:
фэнтези
попаданцы
аниме
5.00
рейтинг книги
Двойник Короля 5

Возвышение Меркурия. Книга 3

Кронос Александр
3. Меркурий
Фантастика:
попаданцы
аниме
5.00
рейтинг книги
Возвышение Меркурия. Книга 3

Эволюционер из трущоб

Панарин Антон
1. Эволюционер из трущоб
Фантастика:
попаданцы
аниме
фэнтези
фантастика: прочее
5.00
рейтинг книги
Эволюционер из трущоб

Сумеречный стрелок

Карелин Сергей Витальевич
1. Сумеречный стрелок
Фантастика:
фэнтези
попаданцы
аниме
5.00
рейтинг книги
Сумеречный стрелок

Тринадцатый V

NikL
5. Видящий смерть
Фантастика:
фэнтези
попаданцы
аниме
5.00
рейтинг книги
Тринадцатый V

Мастер 9

Чащин Валерий
9. Мастер
Фантастика:
боевая фантастика
попаданцы
технофэнтези
аниме
фэнтези
5.00
рейтинг книги
Мастер 9

Вперед в прошлое 12

Ратманов Денис
12. Вперед в прошлое
Фантастика:
попаданцы
5.00
рейтинг книги
Вперед в прошлое 12

Идеальный мир для Лекаря 20

Сапфир Олег
20. Лекарь
Фантастика:
фэнтези
юмористическое фэнтези
аниме
5.00
рейтинг книги
Идеальный мир для Лекаря 20

Соло. Книга 2

Маханенко Василий Михайлович
2. Соло
Фантастика:
аниме
сказочная фантастика
фэнтези
5.00
рейтинг книги
Соло. Книга 2

Миллионщик

Шимохин Дмитрий
3. Подкидыш
Фантастика:
попаданцы
альтернативная история
5.00
рейтинг книги
Миллионщик

Жатва душ. Остров мертвых

Сугралинов Данияр
Фантастика:
боевая фантастика
рпг
5.20
рейтинг книги
Жатва душ. Остров мертвых

Восход. Солнцев. Книга IV

Скабер Артемий
4. Голос Бога
Фантастика:
фэнтези
попаданцы
аниме
5.00
рейтинг книги
Восход. Солнцев. Книга IV

Вперед в прошлое 6

Ратманов Денис
6. Вперед в прошлое
Фантастика:
попаданцы
альтернативная история
5.00
рейтинг книги
Вперед в прошлое 6

Восход. Солнцев. Книга X

Скабер Артемий
10. Голос Бога
Фантастика:
фэнтези
попаданцы
аниме
5.00
рейтинг книги
Восход. Солнцев. Книга X