Чтение онлайн

на главную - закладки

Жанры

Большая Советская Энциклопедия (СЦ)
Шрифт:

Лит.: Станиславский К. С., Собр. соч., т. 3, М., 1955; Кнебель М. О., Слово в творчестве актера, 1954.

Сценический танец

Сцени'ческий та'нец, один из основных видов танца. Возник из народного танца в процессе профессионализации танцевального искусства. Развитие С. т. в Европе началось в период античности (4—2 вв. до н. э.). В Древнем Риме происходило освоение эллинистического танца, который получил позднее развитие в пантомимах (2—5 вв. н. э.). Ранние формы европейского С. т. в годы средневековья — танцы жонглёров, шпильманов, скоморохов и др. В 14—15 вв. появились морескьёры (исполнители сюжетной танцевальной сценки — морески). В конце 16 — начале 17 вв. возникла новая форма С. т. — фигурный (изобразительный) танец (баллофигурато — в Италии, балле — во Франции, баиле — в Испании). С 17 в., после появления танцевальных спектаклей (см. Балет),

формируются современные формы С. т. — классический танец, характерный танец. В 20 в. в Европе и США получает распространение танец «модерн», включающий различные виды пластического, ритмического, ритмопластического и др. танцев. В странах Азии, где танец раньше, чем в Европе, достиг высокой профессионализации, сложились свои системы С. т. Сходный процесс происходил и у народов Северной, Центральной и Южной Америки (майя, инки и др.) до вторжения европейских колонизаторов.

Е. Я. Суриц.

Сценическое действие

Сцени'ческое де'йствие, одно из основных выразительных средств в актёрском искусстве. Сценический образ воплощается в действиях, совершаемых актёром (на спектакле, концерте, репетиции), раскрывающих цели, а следовательно, и внутренний мир персонажа. Большое место в искусстве драматического актёра занимает слово или словесное действие, обращенное к зрителю и партнёру.

Сцепка

Сце'пка сельскохозяйственная, приспособление для агрегатирования с трактором нескольких с.-х. машин в целях рационального использования тяговой мощности трактора и увеличения производительности агрегата. С. бывают универсальные, специального назначения, прицепные, полунавесные и навесные (универсальная навеска). Универсальная прицепная С. (рис. 1) применяется для составления агрегатов из трактора и прицепных машин. Выполняется из двух или трёх шарнирно скрепленных (для лучшей приспособляемости к рельефу поля) и опирающихся на колёсный ход брусьев и оборудуется удлинителями. Машины и удлинители прикрепляют к брусьям хомутами, перемещением которых обеспечивается правильность взаимного расположения машин или орудий в агрегате. Для присоединения к трактору С. имеет сницу. Специальные С. обычно не имеют ходовой части и составляются из звеньев, соединяющих прицепные машины между собой (например, у Пахотного комбинированного агрегата). Полунавесные С. (рис. 2) служат для составления навесных агрегатов из 3 навесных машин шириной захвата каждой от 1,8 до 2,8 м. Одну машину навешивают на навесную систему трактора, а две — на боковые механизмы навески С., по устройству аналогичные навесной системе трактора. Механизм навески снабжен гидроцилиндром, работающим от гидрораспределителя трактора и используемым только для подъёма навесной машины. Опускается машина под действием собственной массы. Правильная установка машин с различной шириной захвата по фронту достигается перемещением каретки механизма навески по брусу С. Универсальная навеска (рис. 3) служит для навешивания на тракторы малой и средней мощности звеньев борон, которые присоединяют к стойке и кронштейнам навески при помощи шарнирной тяги, двух длинных и одной короткой цепей. Для навешивания звеньев борон различной ширины захвата кронштейны навески перемещают по брусу. На брус С. можно навесить 3 звена зубовой и 2 звена сетчатой борон. Длину бруса С. можно увеличить, вставив в его отверстия с обеих сторон 2 трубы меньшего диаметра, к которым приварены кронштейны для навешивания по 1 звену зубовой бороны, составляя агрегат из 5 звеньев бороны.

А. Д. Угаров.

Рис. 1. Схема универсальной прицепной сцепки: 1 — сница; 2 — брус; 3 — удлинитель; 4 — растяжки.

Рис. 2. Полунавесная сцепка: 1 — задняя растяжка; 2 — брус; 3 — каретка; 4 — опорное колесо; 5 — механизм навески; 6 — передняя растяжка; 7 — упорный транспортный ролик; 8 — установочный винт двухосного шарнира; 9 — рама.

Рис. 3. Навесная сцепка (универсальная навеска): 1 — брус; 2 — стойка; 3 — палец подвески; 4 — цепи; 5 — кронштейн; 6 — тяга.

Сцепление

Сцепле'ние, сцепная муфта, механизм транспортных машин для передачи крутящего момента от двигателя внутреннего сгорания к коробке передач. С. обеспечивает кратковременное разъединение вала двигателя и вала трансмиссии, безударное переключение передач и плавное трогание машины с места. В зависимости от числа ведомых дисков различают одно-, двух- и многодисковые С. Устанавливаемые в автомобилях С. обычно представляют собой одно- или двухдисковую муфту, диски которой сжаты пружинами. Для обеспечения мягкости включения С. и уменьшения крутильных колебаний трансмиссии между фрикционными накладками дисков часто устанавливают плоские пружины, а крепление дисков к их ступицам производят через упругую муфту с витыми пружинами (см. Демпфер) и т. п. Выключение С. осуществляется педалью через рычажную или гидравлическую передачу, а в тяжёлых машинах с помощью сервопривода (см. Исполнительный

механизм). Выключение может быть автоматическим при переключении передач. В качестве С. используют также многодисковые масляные муфты (в мотоциклах), нормально разомкнутые (в тракторах), гидродинамические или гидродинамические в сочетании с фрикционными (в автомобилях), а иногда электромагнитные муфты с ферромагнитной смесью (обычно в автомобилях для инвалидов).

Лит.: Хельдт П. М., Автомобильные сцепления и коробки передач, пер. с англ., М., 1960; Борисов С. Г., Эглит И. М., Муфты сцепления тракторов, М., 1972.

Н. Я. Ниберг, И. М. Эглит.

Сцепление генов

Сцепле'ниеге'нов, совместная передача двух или более генов от родителей потомкам. Объясняется тем, что эти гены лежат в одной хромосоме, то есть принадлежат одной группе сцепления и поэтому не могут случайно перекомбинироваться в мейозе, как это бывает при наследовании генов, лежащих в разных хромосомах. С. г. было открыто в 1906 английскими генетиками У. Бэтсоном и Р. Пеннетом, обнаружившими в опытах по скрещиванию растений у некоторых генов тенденцию передаваться совместно и тем самым нарушать закон независимого комбинирования признаков (см. Менделя законы, Менделизм). Правильное объяснение этому дали Т. Моргани сотрудники, обнаружившие аналогичное явление при изучении наследования признаков у дрозофилы.

Мерой С. г. служит частота образования гетерозиготой по этим генам кроссоверных гамет или спор, в которых гены находятся не в исходных, а в новых сочетаниях благодаря обмену частями несущих их гомологичных хромосом путём кроссинговера. У некоторых бактерий др. мерой С. г. служит частота совместной передачи по наследству разных генов при конъюгации, генетической трансформации и трансдукции. Сила С. г. может быть различной у разных полов (обычно она больше у гетерогаметного пола, см. Половые хромосомы) или даже С. г. может быть полным (отсутствие кроссинговера) у одного из полов (например, у самцов дрозофилы или у самок тутового шелкопряда). Кроме того, сила С. г. может варьировать в зависимости от возраста родителей, температуры, наличия хромосомных перестроек и др. факторов, а также от присутствия особых мутантных генов, специфически влияющих на силу С. г. См. также Генетические карты хромосом.

С. М. Гершензон.

Сцеплянки

Сцепля'нки, то же, что конъюгаты.

Сцепная муфта

Сцепна'я му'фта, то же, что сцепление.

Сцептрон

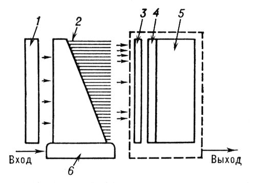
Сцептро'н, скептрон, оптико-электронный прибор для анализа сложных электрических сигналов в диапазоне частот от 100 гц до 100 кгц по их спектрально-временным признакам. Действие С. основано на использовании механических резонансных свойств оптических волокон (см. Волоконная оптика. Световод). На вход С. (рис.) поступают усиленные электрические сигналы с микрофона или электронно-оптического считывающего устройства. Они подаются на электромеханический возбудитель, заставляя его и определённые группы волокон колебаться (на резонансных частотах). Световые лучи, проходящие через колеблющиеся и неподвижные волокна, попадают на эталонную маску и сквозь неё — на матрицу фотоэлементов. По характеру распределения тока в цепях фотоэлементов анализирующее устройство определяет идентичность анализируемого сигнала записанному эталонному образу и выдаёт результат сравнения, классифицируя распознаваемый сигнал.

С. появились в начале 60-х гг. 20 в. Их применяют в криптографии, медицине, в системах связи и т. д., в частности для распознавания графических знаков и речевых сигналов, при анализе информации, поступающей от гидроакустических станций, диагностике сердечных и лёгочных заболеваний по характерным звуковым шумам, изучении «языка» дельфинов. См. также Распознавание образов.

Лит.: Барченков С. А., Чудесные волокна, М., 1969; Мясников Л. Л., Мясникова Е. Н., Автоматическое распознавание звуковых образов, Л., 1970; Галушкин А. И., Распознавание сигналов на септронах, М., 1974.

С. А. Барченков.

Блок-схема сцептрона: 1 — источник света; 2 — резонансная решётка из оптических волокон (стеклянных, кварцевых) разной длины (lb неск. см) и диаметра (lb 100 мкм), закрепленных с одной стороны на общем основании (в обойме); 3 — эталонная фотомаска (стеклянная пластинка с прозрачным или темповым узором — образом); 4 — матрица фотоэлементов; 5 — анализирующее и классифицирующее устройство; 6 — возбудитель решётки (электродинамический или пьезоэлектрический преобразователь электрических сигналов в механические колебания).

Поделиться:
Популярные книги

Дочь моего друга

Тоцка Тала
2. Айдаровы
Любовные романы:
современные любовные романы
эро литература
5.00
рейтинг книги
Дочь моего друга

Ну, здравствуй, перестройка!

Иванов Дмитрий
4. Девяностые
Фантастика:
попаданцы
альтернативная история
6.83
рейтинг книги
Ну, здравствуй, перестройка!

Локки 6. Потомок бога

Решетов Евгений Валерьевич
6. Локки
Фантастика:
аниме
фэнтези
5.00
рейтинг книги
Локки 6. Потомок бога

Кодекс Охотника. Книга XXIX

Винокуров Юрий
29. Кодекс Охотника
Фантастика:
попаданцы
аниме
фэнтези
5.00
рейтинг книги
Кодекс Охотника. Книга XXIX

Купец из будущего

Чайка Дмитрий
1. Третий Рим
Фантастика:
попаданцы
5.25
рейтинг книги
Купец из будущего

Законы Рода. Том 8

Андрей Мельник
8. Граф Берестьев
Фантастика:
юмористическое фэнтези
аниме
фэнтези
5.00
рейтинг книги
Законы Рода. Том 8

Эволюционер из трущоб. Том 6

Панарин Антон
6. Эволюционер из трущоб
Фантастика:
попаданцы
аниме
фэнтези
5.00
рейтинг книги
Эволюционер из трущоб. Том 6

Неправильный диверсант Забабашкин

Арх Максим
4. Неправильный солдат Забабашкин
Фантастика:
боевая фантастика
попаданцы
альтернативная история
5.00
рейтинг книги
Неправильный диверсант Забабашкин

Венецианский купец

Распопов Дмитрий Викторович
1. Венецианский купец
Фантастика:
фэнтези
героическая фантастика
альтернативная история
7.31
рейтинг книги
Венецианский купец

Месть Паладина

Юллем Евгений
5. Псевдоним `Испанец`
Фантастика:
фэнтези
попаданцы
аниме
7.00
рейтинг книги
Месть Паладина

Барон нарушает правила

Ренгач Евгений
3. Закон сильного
Фантастика:
фэнтези
попаданцы
аниме
5.00
рейтинг книги
Барон нарушает правила

Искатель 3

Шиленко Сергей
3. Валинор
Фантастика:
попаданцы
рпг
фэнтези
5.00
рейтинг книги
Искатель 3

Тринадцатый VIII

NikL
8. Видящий смерть
Фантастика:
фэнтези
попаданцы
аниме
5.00
рейтинг книги
Тринадцатый VIII

Время собирать камни

Распопов Дмитрий Викторович
4. Связь без брака
Фантастика:
попаданцы
альтернативная история
5.00
рейтинг книги
Время собирать камни