Чтение онлайн

на главную - закладки

Жанры

Большая Советская Энциклопедия (ВА)
Шрифт:

Н. Ф. Гатилин.

Рис. к ст. Вальцедековый станок.

Вальцетокарный станок

Вальцетока'рный стано'к, специализированный металлорежущий станок для механической обработки цилиндрических и фасонных валков прокатных станов диаметром от 350 до 1600 мм и длиной от 3000 до 8000 мм , а также сушильных цилиндров бумагоделательных машин, каландров и т.п. В. с., в отличие от токарного станка , может иметь 2 и более суппортов с односторонним и двусторонним расположением резцовых головок и необходимое число люнетов для поддержки обрабатываемой

заготовки по длине. В. с. снабжен механизмами ускоренного перемещения суппортов, непрерывной подачи в широком диапазоне, копировальным устройством и дистанционным управлением.

Вальцовый станок

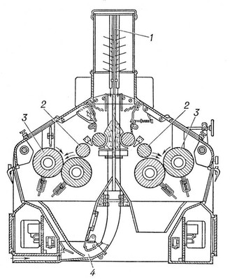
Вальцо'вый стано'к, машина для размола зерна (пшеницы, ржи и др. культур) в муку; используется также для измельчения соли и иных видов сыпучего сырья. Рабочим органом В. с. являются пара или две пары валков (см. Вальцы мельничные ), вращающихся навстречу друг другу с различной окружной скоростью (рис. ). Расстояние между валками (зазор) изменяется от 0,05 до 1,3 мм в зависимости от размера частиц перерабатываемого продукта и необходимой степени его измельчения. Питающий механизм В. с. осуществляет непрерывную и равномерную подачу продукта непосредственно в зазор лентой шириной во всю длину валков. В. с. изготовляются с автоматическим включением и выключением нижнего подвижного валка (см. Мельница мукомольная ).

Схема вальцового станка: 1 — датчик для автоматизации работы станка; 2 — питающие механизмы; 3 — валки; 4 — пневмоприёмник для удаления продуктов измельчения.

Вальцы

Вальцы' (от нем. Walze — валок, каток), рабочие органы дробильных, мукомольных, штамповальных и др. машин в виде гладких или рифлёных валков, цилиндров или конусов (вращающихся, как правило, в разных направлениях), обрабатывающих материал при прохождении его между ними, например вальцы ковочные, дробильные и др.

Вальцы мельничные

Вальцы' ме'льничные, валки мельничные, основной рабочий орган вальцовых станков . В. м. бывают сплошные и пустотелые, гладкие (с микрошероховатой поверхностью) и нарезные (с рифлями под небольшим углом к образующей цилиндра). На мельницах применяют главным образом сплошные валки из никельхромистого чугуна, отливаемого в кокиль, с короткими запрессованными осями. Такие В. м. требуют статической балансировки, но имеют большую массу, пустотелые В. м. нуждаются в динамической балансировке, что сложнее, но их конструкция позволяет применять водяное охлаждение, обеспечивающее снижение температуры поверхности В. м. и в небольшой степени размалываемого продукта. Основные требования к В. м.: высокая жёсткость, точность геометрической формы. Твёрдость поверхности гладких В. м. 320—350, а нарезных 400—500 (по Бринеллю).

Вальядолид

Вальядоли'д (Valladolid), город в Испании, в Старой Кастилии, на р. Писуэрга (приток Дуэро) и Кастильском канале. Административный центр провинции Вальядолид. 174,6 тыс. жителей (1968). Новый крупный центр автомобиле- и тракторостроения. Алюминиевый завод (более общеиспанского производства алюминия в 1965), предприятие по производству азотных удобрений, а также мукомольные, текстильные, кожевенные предприятия. Известен с 10 в.

В городе с нерегулярной планировкой и с площадью Пласа Майор, обрамленной портиками, много зданий в стиле платереско (15 в.): церкви, коллегии Санта-Крус (ныне археологический музей; архитектор Э. де Эгас) и Сан-Грегорио (с 1938 — Национальный музей религиозной скульптуры; архитектор Х. Гуас). Среди др. построек — церковь Санта-Мария ла Антигуа (11—14 вв.), собор (1582, архитектор Б. де Эррера; не окончен), университет (основан в 1346, фасады — 1715). Памятник Х. Колумбу (1905) и др.

Лит.: Garc'ia Chico Е., Valladolid, Valladolid, 1958.

Вальядолид. Церковь Сан-Пабло. 1486—1492. Стиль платереско.

Валюта

Валю'та (итал. valuta, от лат. valeo — стою),

1) денежная единица страны и её тип (золотая, серебряная, бумажная).

2) Денежные

знаки иностранных государств, а также кредитные и платёжные документы, выраженные в иностранных денежных единицах (векселя, чеки и т.д.) и используемые в международных расчётах (иностранная В.). До 19 в. всеобщее распространение имела либо серебряная В., либо биметаллизм , при котором роль денежного металла одновременно выполняли и серебро и золото. В начале 19 в. в Англии (а со 2-й половины 19 в. и в других капиталистических странах) получает распространение золотая В. Для периода общего кризиса капитализма характерна бумажная В., т.е. неразменные на золото или серебро банкноты и бумажные деньги. Неразменные банкноты и бумажные деньги подвержены инфляции , они обесцениваются, изменяется количество золота, реально представляемого бумажноденежной единицей, что ведёт также к понижению курса В. страны (см. Валютный курс ) в отношении иностранных В.

Для современного капитализма характерны неустойчивые, падающие В. Обесценение В. влечёт за собой снижение их золотого содержания. В течение всего послевоенного периода имеют место хронические инфляции и систематические девальвации В., в том числе массовые девальвации В. в 1949 и 1967. В этих условиях некоторые капиталистические страны стараются искусственно поддержать номинальное золотое содержание своих В. Например, в США, где уровень цен на товары, даже по официальным данным, в 1969 превышал довоенный более чем в 2,5 раза, золотое содержание доллара, установленное 31 января 1934 и равное 0,888671 г чистого золота, сохраняется. Во многих странах курс В. поддерживается с помощью валютных ограничений (из 115 стран, входивших в Международный валютный фонд в конце 1969, только около не применяли валютных ограничений).

В. капиталистических стран подразделяются на обратимые (конвертируемые), частично обратимые и необратимые (замкнутые). В. стран, полностью отменивших валютные ограничения как для нерезидентов (иностранных физических и юридических лиц), так и для резидентов (физических и юридических лиц данной страны), являются обратимыми и могут обмениваться на любую иностранную В. (американский доллар, канадский доллар, швейцарский франк, марка ФРГ и др.). В. стран, отменивших валютные ограничения не по всем валютным операциям или только для нерезидентов, называется частично обратимыми. К частично обратимым относятся В. большинства западноевропейских стран (Великобритании, Франции, Италии, Бельгии, Нидерландов, Швеции, Дании, Норвегии, Финляндии и Австрии), которые в декабре 1958 отменили валютные ограничения для нерезидентов, что дало последним возможность свободно переводить экспортную выручку и принадлежащие им суммы на банковских счетах в американские доллары и др. полностью или частично конвертируемые В.

К необратимым (замкнутым) В. относятся В. стран, сохраняющих валютные ограничения по всем валютным операциям и для резидентов и нерезидентов. К ним относятся, в частности, В. зависимых и развивающихся стран, которые в большинстве своём прикреплены к В. метрополий (или бывших метрополий) и курсы которых устанавливаются на уровне, выгодном для иностранных монополий.

В СССР и других социалистических странах устойчивость В. обеспечивается в основном товарной массой, поступающей в обращение через государственную и кооперативную торговлю по плановым ценам. В основе укрепления В. социалистических стран лежат плановое, бескризисное и поступательное развитие социалистической экономики, планирование денежного обращения и товарооборота. Устойчивость В. социалистических стран опирается также на государственный золотой запас в качестве одного из обеспечений В., на планирование внешнеэкономических связей, в том числе поступлений и платежей в В. и на государственную валютную монополию .

В. А. Марков.

Валютная монополия

Валю'тная монопо'лия, исключительное право социалистического государства на совершение операций с валютными ценностями, а также на управление принадлежащими стране валютными фондами. В. м. неразрывно связана с монополией внешней торговли. Позволяет социалистическому государству планомерно осуществлять международные расчёты, концентрировать валютные ресурсы в государственных кредитных учреждениях, уполномоченных на проведение валютных операций, рационально использовать валютные ценности для развития социалистической экономики, ограждая её от конъюнктурных колебаний на валютных рынках, укреплять денежную систему страны и координировать планы развития народного хозяйства социалистических стран.

Поделиться:
Популярные книги

Газлайтер. Том 18

Володин Григорий Григорьевич
18. История Телепата
Фантастика:
попаданцы
аниме
фэнтези
5.00
рейтинг книги
Газлайтер. Том 18

Идеальный мир для Демонолога 4

Сапфир Олег
4. Демонолог
Фантастика:
боевая фантастика
юмористическая фантастика
аниме
5.00
рейтинг книги
Идеальный мир для Демонолога 4

Эволюционер из трущоб. Том 6

Панарин Антон
6. Эволюционер из трущоб
Фантастика:
попаданцы
аниме
фэнтези
5.00
рейтинг книги
Эволюционер из трущоб. Том 6

Наследник из прошлого

Чайка Дмитрий
16. Третий Рим
Фантастика:
попаданцы
альтернативная история
5.00
рейтинг книги
Наследник из прошлого

Адаптация

Кораблев Родион
1. Другая сторона
Фантастика:
фэнтези
6.33
рейтинг книги
Адаптация

Каторжник

Шимохин Дмитрий
1. Подкидыш
Фантастика:
попаданцы
альтернативная история
фэнтези
5.00
рейтинг книги
Каторжник

Отмороженный 11.0

Гарцевич Евгений Александрович
11. Отмороженный
Фантастика:
боевая фантастика
рпг
попаданцы
фантастика: прочее
фэнтези
5.00
рейтинг книги
Отмороженный 11.0

Черный Маг Императора 9

Герда Александр
9. Черный маг императора
Фантастика:
юмористическое фэнтези
попаданцы
аниме
5.00
рейтинг книги
Черный Маг Императора 9

Кодекс Крови. Книга V

Борзых М.
5. РОС: Кодекс Крови
Фантастика:
фэнтези
попаданцы
аниме
5.00
рейтинг книги
Кодекс Крови. Книга V

Законы Рода. Том 5

Андрей Мельник
5. Граф Берестьев
Фантастика:
юмористическое фэнтези
аниме
5.00
рейтинг книги
Законы Рода. Том 5

Седьмой Рубеж IV

Бор Жорж
4. 5000 лет темноты
Фантастика:
фэнтези
попаданцы
5.00
рейтинг книги
Седьмой Рубеж IV

Газлайтер. Том 22

Володин Григорий Григорьевич
22. История Телепата
Фантастика:
боевая фантастика
попаданцы
фэнтези
5.00
рейтинг книги
Газлайтер. Том 22

Неправильный боец РККА Забабашкин 3

Арх Максим
3. Неправильный солдат Забабашкин
Фантастика:
попаданцы
альтернативная история
5.00
рейтинг книги
Неправильный боец РККА Забабашкин 3

Господин следователь. Книга седьмая

Шалашов Евгений Васильевич
7. Господин следователь
Фантастика:
попаданцы
альтернативная история
5.00
рейтинг книги
Господин следователь. Книга седьмая