Чтение онлайн

на главную - закладки

Жанры

Шрифт:

Типы малых огневых сооружений

Эльзасский укрепленный район (до 80 километров) состоял из трех секторов: Хахенау, Вогезы, Рорбах. Основу главной полосы обороны укрепрайона составляли расположенные в одну линию 10 опорных пунктов с глубокой подземной частью. Расстояние между ними достигало 8-12 километров. В наземной части они имели различное сообщение, в том числе посредством железных дорог, которые на своем протяжении имели большое количество туннелей, скрывавших маневр войск и защищавших находящихся там силы и средства от разведки и ударов авиации противника в ходе передвижения.

Лотарингский

укрепленный район (около 120 километров) делился на четыре сектора. Здесь также устойчивость обороны планировалось достигнуть за счет использования системы 38 опорных пунктов и укрепленных групп с развитой подземной частью, а также около 100 промежуточных укреплений, большого количества пулеметных и артиллерийских сооружений. Саарский участок заграждений имел много легких и средних железобетонных сооружений.

Наиболее важные операционные направления прикрывались Эльзасским и Лотарингским укрепленными районами, оборудованными мощными опорными пунктами и укрепленными группами с хорошо развитой подземной частью. Предполагалось ведение длительной обороны, используя огневые сооружения и подземные ходы сообщения. Огневые группы, опорные пункты, узлы обороны этих укрепрайонов были оборудованы, в основном, одинаково. Их основу составляли долговременные огневые сооружения (дос). Основными требованиями, предъявляемыми к ним, были: обслуживание небольшим количеством личного состава при полной механизации вооружения, обеспечения боевых действий и жизнедеятельности; наивысшая защищенность сооружений от огня и отравляющих веществ противника; тщательная маскировка; разнообразие форм; секционный характер сооружения; создание эффективной системы огня.

Фортификационная подготовка восточных и северо-восточных границ Франции

Досы по своему вооружению, устройству и оборудованию условно делились на три группы: малые огневые сооружения (одноэтажные пулеметные, орудийные и орудийно-пулеметные сооружения), огневые сооружения средней мощности (одно-, двухэтажные пулеметные, орудийные, орудийно-пулеметные сооружения – полукапониры, капониры), огневые сооружения укрепленных групп и опорных пунктов с комплексным вооружением.

Форт Шовино

Досы имели развитую подземную часть. Личный состав, вооружение и боеприпасы укрывались в них за бетонными стенами (до 3,5 метров) и находились под землей. В огневых сооружениях устанавливалось фильтровентиляционная аппаратура, проводилось освещение (керосиновое, свечное, электрическое).

Огневые группы (фортики, форты) представляли собой, как правило, несколько досов со специальным вооружением – пулеметами, пушками (25-, 37-, 47-, 75-мм), минометами (60-, 81-мм), гаубицами (135-мм). Казематированное вооружение находилось в бронебашнях и бронеколпаках, расположенных в верхней части сооружений. Иногда орудия, предназначенные для прикрытия промежутков, помещались в амбразурах боевых казематов для ведение огня в ограниченном секторе. Имелись и зенитные орудия. Сооружения оборудовались, как правило, 6 пушками различного калибра, 12 пулеметами, 2–3 минометами.

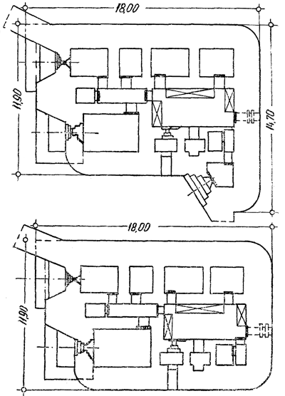
Общая схема укреплений зоны Шовино

Схема укрепленного района по Кюльману

Для ведения наблюдения за полем боя, управления войсками сооружались наблюдательные пункты (НП), представлявшие собой трех-четырех амбразурные бронеколпаки, установленные в одном из огневых сооружений. Боевая часть укрепления окружалась кольцевыми заграждениями. Огонь

казематного оружия, по мнению французского командования, должен был обеспечивать выполнение поставленных огневых задач, а в сочетании с системой заграждений – круговую оборону укрепления. Маскировка огневых точек считалась необходимым условием успешных действий оборонявшихся.

Огневые группы имели как наружную, так и подземную части. На поверхности земли находилось только то, что необходимо было для ведения огня. Все остальное располагалось под землей. Это: убежища-казармы для личного состава, склады боеприпасов и продовольствия, медицинские пункты, санитарно-техническое оборудование, электростанции и энергоустановки, бытовое оборудование и т. д. Общая площадь подземной части нередко достигала 0,15 кв. километров.

Помимо этого, все сооружения групп были связаны между собой подземными галереями. Многие подземные коммуникации оборудовались приспособлениями для преграждения их в случае возникновения опасности, а также для ведения в них борьбы с противником. Такой вид, например, имела огневая группа Иммергоф. Ее гарнизон насчитывал 160 человек.

Опорные пункты были сравнительно крупными по размерам и числу огневых сооружений. Входившие в них 5-10 огневых сооружений также имели центральную подземную часть и подземные ходы сообщения, соединявшие огневые сооружения в единую оборонительную систему с мощной подземной частью. Входной блок в опорные пункты выносился на 1500–2000 метров в глубину позиции и оборудовался амбразурами для орудий, бронеколпаками для пулеметов в целях недопущения проникновения противника внутрь сооружения. Опорные пункты, по сравнению с огневыми группами, имели более мощное вооружение: 75-, 120-и 135-мм орудия в железных казематах или в броневых вращающихся башнях. Общее количество орудий и минометов достигало 20 единиц, пулеметов более 30 единиц. Например, опорный пункт Шонебург на вооружении имел восемь 47-,75-мм пушек, 14 минометов, 33 пулемета.

Панцерверк

Французские опорные пункты занимали площадь (1800х800 метров) при гарнизоне до 800 человек. Наличие круговой системы огня казематированного оружия и заграждений, надежная защита личного состава от огня противника путем расположения под землей (до 15–20 метров) за железобетонными и бронированными стенами (до 3,5 метров), большие запасы продовольствия и боеприпасов (на 3 месяца) – все это давало возможность гарнизону опорного пункта длительное время успешно сдерживать атаки наземного противника.

Узлы обороны (ансамбли) располагались на наиболее важных участках укрепрайонов. Основные из них – Хохвальд (Эльзасский укрепрайон) и Хакенберг (Лотарингский укрепрайон). Они состояли из отдельного входного блока, отнесенного в глубину, долговременных огневых сооружений и круговых заграждений, состоявших из противотанкового рва шириной до 8-10 м, а также проволочной сети шириной около 10 метров. Ансамбль имел развитую подземную систему, представлявшую собой центральную подземную часть и подземные ходы сообщения, связывавшие между собой все элементы узла обороны в единый комплекс.

Орудийно-пулеметные полукапониры для 47-мм орудия и пулемета

Магистральные подземные галереи имели ширину – 6–8 метров, соединительные галереи несколько меньшую – 2–3 метров, но позволявшую достаточно быстро передвигаться по ней гарнизону. Передвижение подразделений, доставка большого количества боеприпасов, других материальных средств осуществлялись электропоездами по подземной железной дороге.

Входы в подземную часть, как правило, совмещались с огневыми сооружениями (в укрепленных группах) или устраивались в виде отдельных блоков, вынесенных на 1500–2000 метров в глубину обороны. Они располагались в складках местности и искусно маскировались.

Поделиться:
Популярные книги

Газлайтер. Том 18

Володин Григорий Григорьевич
18. История Телепата
Фантастика:
попаданцы
аниме
фэнтези
5.00
рейтинг книги
Газлайтер. Том 18

Идеальный мир для Демонолога 4

Сапфир Олег
4. Демонолог
Фантастика:
боевая фантастика
юмористическая фантастика
аниме
5.00
рейтинг книги
Идеальный мир для Демонолога 4

Эволюционер из трущоб. Том 6

Панарин Антон
6. Эволюционер из трущоб
Фантастика:
попаданцы
аниме
фэнтези
5.00
рейтинг книги
Эволюционер из трущоб. Том 6

Наследник из прошлого

Чайка Дмитрий
16. Третий Рим
Фантастика:
попаданцы
альтернативная история
5.00
рейтинг книги
Наследник из прошлого

Адаптация

Кораблев Родион
1. Другая сторона
Фантастика:
фэнтези
6.33
рейтинг книги
Адаптация

Каторжник

Шимохин Дмитрий
1. Подкидыш
Фантастика:
попаданцы
альтернативная история
фэнтези
5.00
рейтинг книги
Каторжник

Отмороженный 11.0

Гарцевич Евгений Александрович
11. Отмороженный
Фантастика:
боевая фантастика
рпг
попаданцы
фантастика: прочее
фэнтези
5.00
рейтинг книги
Отмороженный 11.0

Черный Маг Императора 9

Герда Александр
9. Черный маг императора
Фантастика:
юмористическое фэнтези
попаданцы
аниме
5.00
рейтинг книги
Черный Маг Императора 9

Кодекс Крови. Книга V

Борзых М.
5. РОС: Кодекс Крови
Фантастика:
фэнтези
попаданцы
аниме
5.00
рейтинг книги
Кодекс Крови. Книга V

Законы Рода. Том 5

Андрей Мельник
5. Граф Берестьев
Фантастика:
юмористическое фэнтези
аниме
5.00
рейтинг книги
Законы Рода. Том 5

Седьмой Рубеж IV

Бор Жорж
4. 5000 лет темноты
Фантастика:
фэнтези
попаданцы
5.00
рейтинг книги
Седьмой Рубеж IV

Газлайтер. Том 22

Володин Григорий Григорьевич
22. История Телепата
Фантастика:
боевая фантастика
попаданцы
фэнтези
5.00
рейтинг книги
Газлайтер. Том 22

Неправильный боец РККА Забабашкин 3

Арх Максим
3. Неправильный солдат Забабашкин
Фантастика:
попаданцы
альтернативная история
5.00
рейтинг книги
Неправильный боец РККА Забабашкин 3

Господин следователь. Книга седьмая

Шалашов Евгений Васильевич
7. Господин следователь
Фантастика:
попаданцы
альтернативная история
5.00
рейтинг книги
Господин следователь. Книга седьмая