Чтение онлайн

на главную - закладки

Жанры

Баня, сауна. Строим своими руками
Шрифт:

Устройство фундаментов под печи и трубы

Прежде чем приступить к закладке печного фундамента, нужно удостовериться, что вы правильно выбрали место для будущей печи. Чердачные балки и стропила не должны помешать вывести трубу через перекрытие и крышу наружу, а место, где будет стоять печь, необходимо защитить от сквозняков.

Замечу, что печи массой не более 750 кг (имеются в виду легкие печи в металлическом кожухе, а не стационарные кирпичные) можно ставить на полу, если он достаточно прочен.

Фундамент закладывают на солидном основании и плотном грунте.

Для строительства фундаментов под печи в качестве подсыпки используют щебень, гравий, песок и глину. Насыпные грунты тщательно утрамбовывают.

Нижняя часть фундамента, которая опирается непосредственно на грунт, называется подошвой. Для одноэтажных печей с насадными трубами она должна обязательно заглубляться в грунт на 75 см. По технологии размеры фундамента под печь должны быть минимум на 5 см больше ее длины и ширины. Чем больше площадь фундамента, тем меньше на него нагрузки от печи.

От фундамента бани фундамент печи должен отстоять не менее чем на 5 см. Этот промежуток засыпают песком. Важно отметить, что кладку фундамента дома нельзя связывать с кладкой фундамента печи, так как у них разная осадка.

Фундамент для печи сооружают чаще всего из бутового камня, прочного кирпича-железняка или бетона. Если грунт сухой, кладку делают на известковом и смешанном цементно-известковом растворах. В сырых почвах применяют только цементный раствор.

Итак, место для печи вы определили. Приступаем к рытью ямы-котлована. Если фундамент сооружается из бетона, яму нужно вырыть на 8–10 см шире фундамента, потом устроить опалубку, уплотнить дно ямы, приготовить бетон и залить его в опалубку до нужного уровня.

Верхнюю часть фундамента выравнивают ниже уровня чистого пола на 14 см, устанавливают вокруг дощатые бортики с выпуском поверх него на 2 см и заливают это пространство цементным раствором в соотношении одна часть цемента на три части песка. Раствор нужно приготовить густой, хорошо его разровнять и загладить кельмой. Через неделю поверх фундамента укладывают толь или рубероид в два слоя, оставив напуск 2–3 см. Можно при этом употребить специальную мастику. Затем на поверхности рубероида вычерчивают форму печи и выкладывают сперва первый ряд, а за ним остальные. При этом пользоваться нужно уже не цементным, а глиняным раствором.

На рис. 6.3–6.5 показано несколько вариантов фундаментов.

Рис. 6.3. Сплошной фундамент (бутобетонный): 1 — печь; 2 — уровень пола, гидроизоляция; 3 — кирпичная кладка или бетонная заливка; 4 — бутовый камень, щебенка, гравий; 5 — грунт

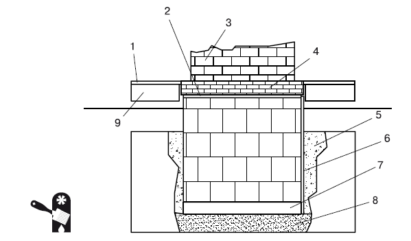
Рис. 6.4. Капитальный фундамент для тяжелой печи: 1 — доски пола; 2 — горизонтальная гидроизоляция (два слоя рубероида); 3 — печь; 4 — кирпич керамический полнотелый (два ряда); 5 — песчаная засыпка; 6 — обмазочная вертикальная гидроизоляция; 7 — ж/б плита; 8 — утрамбованный гранитный щебень; 9 — лаги пола

Рис. 6.5.

Фундамент на сваях: 1 — печь; 2 — уровень пола, гидроизоляция; 3 — плита; 4 — сваи; 5 — грунт

Готовим материалы для постройки печи

При выборе материала для сооружения печи нужно учитывать их взаимную сочетаемость. Например, при облицовке топливников и каналов никогда не перевязывают керамический кирпич с огнеупорным, потому что при одинаковом нагреве эти материалы дают разное расширение, и в местах перевязки будут быстро разрушаться. Еще одно обязательное условие: там, где кладка сильно нагревается, внутри нее нельзя применять металл, так как от высокой температуры он сильно расширяется и может просто ее разорвать.

Для кладки используют естественные и искусственные каменные материалы. К первым принадлежат булыжники и бутовый камень для устройства фундаментов под печи, ко вторым — кирпич.

Один кубический метр кирпича весит около 1700 кг и содержит 480 шт. При укладке на растворе необходимое количество кирпича меняется: при тонких швах его уходит меньше, при толстых расход больше. Например, если вы вычислили, что на ваш проект печи уйдет, скажем, 2 м3 кирпича, то запастись им следует не из расчета 960 шт., а прикупить до тысячи.

Перед началом кладки печи кирпич предварительно отбирают и сортируют. Лучший по качеству, без сколов и трещин применяют для кладки топливников и дымовых каналов.

Можно использовать и кирпич от разобранных печей. Глиняный раствор, применяемый для кладки банных печей, отстает от кирпича не так трудно, как цементный. Такой кирпич полностью очищают от раствора и сортируют. Применяют его в основном для кладки фундаментов и труб.

Техника печной кладки

Теперь — о процессе кладки. Честно говоря, не увидев воочию, как это делает опытный специалист, самостоятельно за столь непростое дело браться несколько опрометчиво. Тем не менее некоторые теоретические знания вам не повредят.

Прочность кладки зависит от того, как уложен кирпич, высоко ли его качество, как он будет намочен и как приготовлен раствор.

Если при кладке вы добьетесь того, что у вас получится единый, общий массив, как бы монолит, то качество получится высоким. Но если она будет разделена сплошными вертикальными швами, то такая печь просто развалится. О трещинах тоже не может идти и речи. Стенки печи ни в коем случае не должны пропускать дым в помещение. Иначе получится баня «по-черному».

Перед началом работы кирпичи раскладывают по каждому ряду кладки, раскалывают, отесывают и подгоняют так, чтобы они в точности легли на место.

Затем кирпичи замачивают в корыте длиной, равной количеству кирпичей в ряду. Для этого кирпичи снимают, укладывают в ряд, вымачивают по одному или все сразу и кладут на глиняном растворе на место. Раствор замешивать следует, исходя из соотношения песка и глины 1:1. Он должен получиться такой консистенции, чтобы излишки свободно выдавливались из швов.

Поделиться:
Популярные книги

Мастер 7

Чащин Валерий
7. Мастер
Фантастика:
фэнтези
боевая фантастика
попаданцы
технофэнтези
аниме
5.00
рейтинг книги
Мастер 7

Идеальный мир для Лекаря 5

Сапфир Олег
5. Лекарь
Фантастика:
фэнтези
юмористическая фантастика
аниме
5.00
рейтинг книги
Идеальный мир для Лекаря 5

Последний Паладин. Том 3

Саваровский Роман
3. Путь Паладина
Фантастика:
юмористическое фэнтези
попаданцы
аниме
5.00
рейтинг книги
Последний Паладин. Том 3

Возвращение демонического мастера. Книга 2

Findroid
2. Вселенная Вечности
Фантастика:
фэнтези
героическая фантастика
5.00
рейтинг книги
Возвращение демонического мастера. Книга 2

Я уже барон

Дрейк Сириус
2. Дорогой барон!
Фантастика:
боевая фантастика
попаданцы
аниме
5.00
рейтинг книги
Я уже барон

Ярар. Начало

Грехов Тимофей
1. Ярар
Фантастика:
фэнтези
попаданцы
5.00
рейтинг книги
Ярар. Начало

Идеальный мир для Лекаря 25

Сапфир Олег
25. Лекарь
Фантастика:
фэнтези
юмористическое фэнтези
аниме
5.00
рейтинг книги
Идеальный мир для Лекаря 25

Агенты ВКС

Вайс Александр
3. Фронтир
Фантастика:
боевая фантастика
космическая фантастика
5.00
рейтинг книги
Агенты ВКС

Попаданка

Ахминеева Нина
Любовные романы:
любовно-фантастические романы
5.00
рейтинг книги
Попаданка

Защитник

Кораблев Родион
11. Другая сторона
Фантастика:
боевая фантастика
попаданцы
рпг
5.00
рейтинг книги
Защитник

Жена неверного ректора Полицейской академии

Удалова Юлия
Любовные романы:
любовно-фантастические романы
4.25
рейтинг книги
Жена неверного ректора Полицейской академии

Отмороженный

Гарцевич Евгений Александрович
1. Отмороженный
Фантастика:
боевая фантастика
рпг
5.00
рейтинг книги
Отмороженный

Династия. Феникс

Майерс Александр
5. Династия
Фантастика:
попаданцы
аниме
5.00
рейтинг книги
Династия. Феникс

Виконт. Книга 2. Обретение силы

Юллем Евгений
2. Псевдоним `Испанец`
Фантастика:
боевая фантастика
попаданцы
рпг
7.10
рейтинг книги
Виконт. Книга 2. Обретение силы