Чтение онлайн

на главную - закладки

Жанры

Баня, сауна. Строим своими руками
Шрифт:

Третий ряд распушки должен иметь размеры 65 x 51 см. Теперь внутрь кладки вставляют пластинки кирпича толщиной уже около 6 см.

Четвертый ряд имеет размеры 71 x 57 см. Внутри распушки нужно вставить кирпичи толщиной 9–10 см.

Пятый ряд состоит полностью из целого кирпича.

Шестой ряд кладется так же, как и пятый, со строгим соблюдением перевязки швов. Если высоту распушки нужно увеличить, пятый и шестой ряды чередуются.

С седьмого ряда начинается кладка стояка трубы в пять кирпичей, который доводят на один-два ряда выше уровня кровли. Далее на стояке возводят выдру, не забывая при этом тщательно перевязывать швы.

Кладку выдры делают в девять рядов,

каждый из которых выступает на четверть кирпича вперед. Внутри нее, около дымового канала, вставляют кирпичные пластинки такой толщины, чтобы они сохраняли размеры канала постоянными.

В заключение напомню, что любые печные трубы необходимо осматривать несколько раз в год и в случае обнаружения дефектов сразу же их устранять.

Печные приборы

Теперь, когда печь практически готова, поговорим о печной «фурнитуре», или, как их называют, печных приборах. Печные приборы — это готовые металлические изделия: топочные, поддувальные и другие дверки, колосниковые решетки, колосники, дымовые задвижки, печные вьюшки, чугунные плиты, заслонки, духовые шкафы, водогрейные коробки и др. (рис. 6.10–6.12).

Рис. 6.10. Топочная дверка

Рис. 6.11. Печная задвижка

Рис. 6.12. Колосник

Стоит выбирать чугунные приборы, ибо они более прочные, чем стальные, не прогорают, не ржавеют, меньше коробятся от высокой температуры и долго служат. Дверки и задвижки, а также вьюшки должны хорошо закрываться. Наиболее плотно это делают герметические дверки. Дверки и ручки должны иметь плавный ход, без заедания задвижек, свободно перемещаться в пазах рамок.

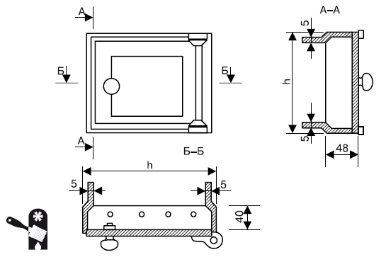
Дверки и полудверки подразделяют на топочные, поддувальные, прочистные и вьюшечные. Топочные дверки служат для закрывания печи, загрузки топлива в печь и его перемешивания — шуровки при горении (см. рис. 6.10). В печах, не имеющих поддувала, их используют для регулировки подаваемого воздуха, необходимого для горения топлива. Каждая дверка состоит из рамки, к которой приделан крючок, и полотна. Его крепят на двух петлях к рамке и закрывают ручкой за крючок. Рамку любой дверки нужно прочно приделывать к кладке печи. Изготавливают такие дверки обыкновенными и герметическими.

Прочистные дверки устанавливают в стенках печи или дымовой трубы. Они предназначены для очистки их каналов от золы и сажи. Размеры дверок — 11,2 x 15 см.

Чистки-коробочки более практичны, чем дверки. Их можно изготовить из кровельной стали таким же размером, как и прочистные дверки простой конструкции. Они состоят из рамки, в которую входит коробочка с ручкой. Их легко изготовить самостоятельно. Внутреннюю часть коробочки заполняют куском кирпича на глиняном растворе. Его толщина должна быть равна толщине стенки печи или дымохода. Можно обойтись одной коробочкой без рамки, вставляя ее в отверстие кладки и обмазывая глиняным раствором.

Чтобы можно было прочно установить дверку в печной кладке, к рамкам дверок крепят лапки из полосовой стали. Не стоит фиксировать дверки

проволокой: она быстро отгорает.

Металлический бак для воды чаще всего устанавливают в печь так, чтобы он своим днищем накрывал верхнюю часть топки. При таком классическом способе языки пламени нагревают воду непосредственно через его стенки. Берут горячую воду из таких емкостей или ковшиком, открыв крышку, или самотеком по вмонтированной трубе с краном.

Форма баков обычно прямоугольная, а материалом служат сваренные в жесткую конструкцию стальные листы (рис. 6.13). Его можно сварить самому в домашних условиях. При этом лучше использовать «нержавейку» (обычная сталь под воздействием воды и огня быстро ржавеет, и бак приходится заменять).

Рис. 6.13. Бак для воды

Под холодную воду специально никаких емкостей, как правило, не изготавливают, приспосабливая молочные фляги, бочки или другую подобную посуду. В последние годы в бани возвращается деревянная утварь: шайки, бочки, кадушки, черпаки, изготовленные иногда фабричным способом, но чаще народными умельцами, в роду которых такое ремесло передается из поколения в поколение.

В металлических печах, работающих на электричестве, газе и других видах топлива, горячее водоснабжение организовано по-другому. Нагревается маленький объем воды на большой контактной площади теплообменника, которая силой конвекции поднимается наверх, заменяясь холодной порцией. Внешние накопительные баки таких систем могут находиться довольно далеко от котла, соединяясь с ним трубами и обеспечивая циркуляцию воды.

Такие баки уже не контактируют напрямую с печным жаром, они более долговечны. Поэтому их делают из тонкого металла, всячески украшают в соответствии с выбранным интерьером. Установка внешнего бака из нержавеющей или хромированной стали, кроме того, приносит в баню дополнительный свет, поскольку такая сталь обладает зеркальным эффектом. Использование же проточного водонагревателя вообще делает накопление горячей воды ненужным; остается лишь позаботиться о получении пара.

Камни для печи

Эффективность печи во многом зависит от правильного подбора загружаемых в нее камней. Основное требование к ним — чтобы они хорошо аккумулировали, а затем и отдавали тепло, выдерживали высокие температуры и не растрескивались от воды. Для этого камни должны быть плотными, однородными, равномерно нагреваться по всей массе и иметь во всех направлениях одинаковый коэффициент теплового расширения. Стоит отбирать гладкие и имеющие округлую форму камни.

Всем этим требованиям отвечают хорошо окатанные крупные тяжелые камни-булыжники, подвергшиеся за миллионы лет закалке солнцем и водой. Наиболее прочны камни из горных пород вулканического происхождения, например базальта гранита, андезита.

Если невозможно достать камни горных пород вулканического происхождения, можно воспользоваться камнями из кремнистых горных пород невулканического происхождения. Они отличаются твердостью, плотностью, темным цветом. Такие камни собирают на берегах рек, озер, заливов. Песчаник, известняк и другие осадочные породы для печей не подходят, так как быстро разрушаются, забивая каналы для пламени, дыма и пара.

Прочность камней и отсутствие трещин в них проверяют, ударяя молотком. Кроме того, пригодность определяют, раскаливая их докрасна и окуная в воду. Если камень при этом не треснул, его можно использовать в банной печи.

Поделиться:
Популярные книги

Мастер 7

Чащин Валерий
7. Мастер
Фантастика:
фэнтези
боевая фантастика
попаданцы
технофэнтези
аниме
5.00
рейтинг книги
Мастер 7

Идеальный мир для Лекаря 5

Сапфир Олег
5. Лекарь
Фантастика:
фэнтези
юмористическая фантастика
аниме
5.00
рейтинг книги
Идеальный мир для Лекаря 5

Последний Паладин. Том 3

Саваровский Роман
3. Путь Паладина
Фантастика:
юмористическое фэнтези
попаданцы
аниме
5.00
рейтинг книги
Последний Паладин. Том 3

Возвращение демонического мастера. Книга 2

Findroid
2. Вселенная Вечности
Фантастика:
фэнтези
героическая фантастика
5.00
рейтинг книги
Возвращение демонического мастера. Книга 2

Я уже барон

Дрейк Сириус
2. Дорогой барон!
Фантастика:
боевая фантастика
попаданцы
аниме
5.00
рейтинг книги
Я уже барон

Ярар. Начало

Грехов Тимофей
1. Ярар
Фантастика:
фэнтези
попаданцы
5.00
рейтинг книги
Ярар. Начало

Идеальный мир для Лекаря 25

Сапфир Олег
25. Лекарь
Фантастика:
фэнтези
юмористическое фэнтези
аниме
5.00
рейтинг книги
Идеальный мир для Лекаря 25

Агенты ВКС

Вайс Александр
3. Фронтир
Фантастика:
боевая фантастика
космическая фантастика
5.00
рейтинг книги
Агенты ВКС

Попаданка

Ахминеева Нина
Любовные романы:
любовно-фантастические романы
5.00
рейтинг книги
Попаданка

Защитник

Кораблев Родион
11. Другая сторона
Фантастика:
боевая фантастика
попаданцы
рпг
5.00
рейтинг книги
Защитник

Жена неверного ректора Полицейской академии

Удалова Юлия
Любовные романы:
любовно-фантастические романы
4.25
рейтинг книги
Жена неверного ректора Полицейской академии

Отмороженный

Гарцевич Евгений Александрович
1. Отмороженный
Фантастика:
боевая фантастика
рпг
5.00
рейтинг книги
Отмороженный

Династия. Феникс

Майерс Александр
5. Династия
Фантастика:
попаданцы
аниме
5.00
рейтинг книги
Династия. Феникс

Виконт. Книга 2. Обретение силы

Юллем Евгений
2. Псевдоним `Испанец`
Фантастика:
боевая фантастика
попаданцы
рпг
7.10
рейтинг книги
Виконт. Книга 2. Обретение силы