Чтение онлайн

на главную - закладки

Жанры

Боевые корабли японского флота. Подводные лодки (10.1918-8.1945). Справочник
Шрифт:

Б. 2 ДГ (четырехцилиндровые, двухтактные) — 1850 л. с. (суммарная контрапная) + ЭД — 1200 л. с. (суммарная контрактная).

В. Надводная: — 13 узлов (максимальная, контрактная); — 10 узлов (экономическая), подводная: — 6,5 узла (максимальная, контрактная); — 3 узла (в течение 40 часов).

Г. 220 т соляра, I-372 с июля 1944 г. 180 т + 350 т сырой нефти (авиационного бензина).

Д. Надводная: — 15000 миль (10 узлов), подводная: — 120 миль (3 узла).

Е. 19,6%

Ж. 75 человек + 110 человек из состава разведывательно-диверсионных подразделений.

З. 1 — 140-мм/40 тип 11 (Д. стр. — 86 кбт.; 5 выстрелов в минуту; 150 выстрелов), 2 (2x1) — 25-мм/60 тип 96 (Д. стр. — 40 кбт./5200 м; от 110 до 260 выстрелов в минуту; 1800 унитарных патронов), на I-361, I-363, I-366, I-370 и I-372

артиллерийское вооружение отсутствовало.

И.I-361 с декабря 1944 г.: 4 человекоуправляемые торпеды тип 1; I-368 и I-370 с января 1945 г. и I-363, I-366, и I-367 с февраля 1945 г.: 5 человекоуправляемых торпед тип 1.

Л. СУАО для 140-мм орудия и 25-мм зенитных автоматов: 1,5-м дальномер тип 97 (переносной).

М. РЛС обнаружения воздушных целей тип 3 мод. 3 модиф. 1, РЛС обнаружения надводных целей тип 3 мод. 2 модиф. 2.

ПЛ I-361 типа D1 после вcтyпления в строй

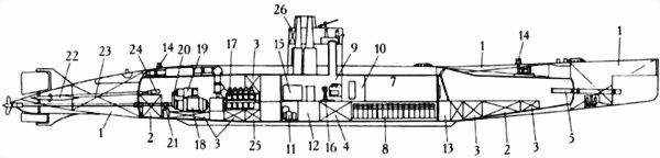
Продольый разрез ПЛ типа D1:

1. ЦГБ; 2. Топливные танки (цистерны для перевозки нефтепродуктов); 3. Дифферентные цистерны (цистерны погашения остаточной плавучсти); 4 Цистрны погашения остаточной плавучести; 5. Цистерны быстрого погружения (ЦГБ); 6. Уравнительная цистерна; 7. Носовой грузовой отсек (десантный отсек); 8. Погрузочное устройство; 9. Грузовой люк; 10. Якорный шпиль и его машинка; 11. Якорный брашпиль; 12. Носовой горизонтальный руль; 13. Привод носового горизонтального руля;.14. Машинка привода носового горизонтального руля; 15. Cтaнция управления носовыми горизонтальными рулями; 16. Компрессор системы ВВД; 17. Носовая cтaнция системы ВВД; 18. Носовой жилой отсек (аккумуляторный); 19. Емкости для хранения электролита; 20. Второй жилой отсек (аккумуляторный); 21. Цистерны пресной воды; 22. Цистерна циркуляционных масел; 23. Цистерны чистых масел; 24. Боевая рубка; 25. Ходовой мостик; 26. Шахта устройства работы дизелей под водой ("шноркель"); 27. Шахта общесудовой вентиляции; 28. 140-мм opyдие; 29. Кранцы первых выстрелов; 30. Центральный пост; 31. Центральный пост управления рулями; 32. Центральная cтaнция ВВД; 33. Пpoвизионные камеры; 34. Грузовой отсек; 35. Отсек для перевозки сухих грузов; 36. Отсек главных механизмов (отсек живучести); 37. Дизели; 38. Oтcек электродвижения; 39. ГЭД; 40. Упорный подшипник; 41. Разобщительные муфты; 42. Щит управления ГЭД; 43. Кoрмовой (жилой) отсек; 44. Кормовой пост управления рулями; 45. Привод кормовых горизонтальных рулей; 46. Машинка привода кормовых горизонтальных рулей; 47. Дейдвудный сальник; 48. Привод вертикального руля; 49. Машинка привода вертикальных рулей; 50. 25-мм зенитный автомат

I-361 (до января 1944 г. заказ № 5461) После вступления в строй вошла в состав Седьмой Специальной Транспортной эскадры Шестого флота. С 23.08 по 7.09 1944 г. I-361 доставила на атолл Науру 80 т продовольствия и вывезла 30 человек из состава армейских частей. С 25.09. по 20.12.1944 г. в Куре на верфи флота демонтировали артиллерийское вооружение, установили оборудование для транспортировки и боевого использования четырех человекоуправляемых торпед. После модернизации ПЛ приступила к боевой подготовке во Внутреннем японском море. 12.03.1945 г. ее включили в состав 15-го ДПЛ Шестого флота. 23.05.1945 г. корабль вышел из Токуяма и направился в район к юга-востоку от о. Окинава, имея на борту четыре человекоуправляемые торпеды (миссия "Тодороки"). 30.05.1945 г. в 400 милях к юго-востоку от Окинавы I-361 была потоплена самолетами с американского эскортного АВ Аnziо. Данные о том, использовала ли она свои человекоуправляемые торпеды отсутствуют.

I-362 (до января 1944 г. заказ № 5462) После вступления в строй вошла в состав Седьмой Специальной Транспортной эскадры Шестого флота. С 21.08. по 12.09.1944 г. I-362 доставила на атолл Науру (2.09.1944 г.) 80 т продовольствия и вывезла 83 человека из состава частей авиации флота. С 16.11 по 14.12.1944 г. ПЛ доставила на атолл Трук (28.11.1944 г.) 60 т продовольствия. 8.01.1945 г. корабль вновь направился к атоллу Трук, имея на борту 60 т продовольствия. 18.01.1945 г. в 320 милях к северу от атолла Трук он был потоплен американским эскортным миноносцем Flеming.

I-363 (до

января 1944 г. заказ № 5463) После вступления в строй вошла в состав Седьмой Специальной Транспортной эскадры Шестого флота. С 30.10.1944 г. по 20.02.1945 г. на верфи флота в Куре демонтировали артиллерийское вооружение, установили оборудование для транспортировки и боевого использования пяти человекоуправляемых торпед. После модернизации ПЛ приступила к боевой подготовке во Внутреннем японском море. 12.03.1945 г. ее включили в состав 15-го ДПЛ Шестого Флота. 26.06.1945 г. корабль вышел из Куре и направился в район к юго-востоку от о. Окинава, имея на борту пять человекоуправляемых торпед (миссия "Тодороки"). 30.06.1945 г. он пришел в Токуяма, не выполнив поставленной задачи. 19.07.1945 г. I-363 вышла из Куре и направилась в район к востоку от Филиппинских о-вов, имея на борту пять человекоуправляемых торпед (миссия "Тодороки"). 1.08.1945 г. ПЛ возвратилась в Куре, по техническим причинам не выполнив поставленной задачи. 18.08.1945 г. корабль передали в распоряжение американских оккупационных властей. 29.10.1945 г, во время перехода в Сасебо, к востоку от о. Кюсю, I-363 затонула после подрыва на мине, предположительно, выставленной американской базовой авиацией.

I-364 (до января 1944 г. заказ № 5464) После вступления в строй вошла в состав Седьмой Специальной Транспортной эскадры Шестого флота. С 15.09.1944 г. I-364 вышла из Куре и направилась к о-вам Палау [50] , имея на борту 80 т продовольствия и медикаментов. 16.09.1944 г. в 300 милях к югу от Йокосуки корабль был потоплен американской ПЛ Sea Levil.

I-365 (до января 1944 г. заказ № 5465) После вступления в строй вошла в состав Седьмой Специальной Транспортной эскадры Шестого флота. С 22.09. по 11.10.1944 г. I-365 доставила на о. Ангаур (группа о-вов Палау) 85 т продовольствия и медикаментов. С 19.10. по 21.10.1944 г. ПЛ безуспешно пыталась эвакуировать командование гарнизона о. Улити. С 30.10.1944 г. корабль направился к атоллу Трук, имея на борту 60 т продовольствия и медикаментов. 11.11.1944 г. он разгрузился и 12.11.1944 г. направился в Йокосуку (предположительно), имея на борту 26 человека раненых и больных (помимо экипажа). 28.11.1944 г. в 75 милях к юго-востоку от Йокосуки I-365 была потоплена американской ПЛ Scabbardfish.

50

В тот же день американцы высадились на о-ва Палау.

I-366 (до января 1944 г. заказ № 5466) После вступления в строй вошла в состав Седьмой Специальной Транспортной эскадры Шестого флота. С 30.10.1944 г. по 20.02.1945 г. на верфи флота в Куре демонтировали артиллерийское вооружение, установили оборудование для транспортировки и боевого использования пяти человекоуправляемых торпед. После модернизации ПЛ приступила к боевой подготовке во Внутреннем японском море. 12.03.1945 г. ее включили в состав 15-го ДПЛ Шестого флота. 19.07.1945 г. I-366 вышла из Куре и направилась в район к востоку от Филиппинских о-вов, имея на борту пять чenовекоуправляемых торпед (миссия "Тодороки"). 11.08.1945 г. ПЛ безрезультатно атаковала американский конвой тремя человекоуправляемыми торпедами. 22.08.1945 г. корабль возвратился в Куре, где его передали в распоряжение американских оккупационных властей. В октябре 1945 г. I-366 перевели в Сасебо. На бывшей верфи флота корабль полностью разоружили и 1.04.1946 г. затопили у о. Гото (32° 37' N; 129° 17' Ost), предварительно взорвав главные механизмы.

I-367 (до января 1944 г. заказ № 5467) После вступления в строй вошла в состав Седьмой Специальной Транспортной эскадры Шестого флота. С 30.10.1944 г. по 20.02.1945 г. на верфи флота в Куре демонтировали артиллерийское вооружение, установили оборудование для транспортировки и боевого использования пяти человекоуправляемых торпед. После модернизации ПЛ приступила к боевой подготовке во Внутреннем японском море. 12.03.1945 г. ее включили в состав 15-го ДПЛ Шестого Флота. 18.07.1945 г. I-367 вышла из Куре и направилась в район между Окинавой и Филиппинами, имея на борту пять человекоуправляемых торпед (миссия "Тамон"). 30.07.1945 г. корабль возвратился в Куре, по техническим причинам, не выпустив ни одной из человекоуправляемых торпед. 18.08.1945 г. он перешел в распоряжение американских оккупационных властей. В октябре 1945 г. I-367 перевели в Сасебо, где на бывшей верфи флота ее полностью разоружили и 1.04.1946 г. затопили у о. Гото (32° 37' N; 129° 17' Ost), предварительно взорвав главные механизмы.

Поделиться:
Популярные книги

Внешники

Кожевников Павел
Вселенная S-T-I-K-S
Фантастика:
боевая фантастика
попаданцы
5.00
рейтинг книги
Внешники

Камень. Книга вторая

Минин Станислав
2. Камень
Фантастика:
фэнтези
8.52
рейтинг книги
Камень. Книга вторая

Вечный. Книга V

Рокотов Алексей
5. Вечный
Фантастика:
боевая фантастика
попаданцы
рпг
5.00
рейтинг книги
Вечный. Книга V

Лихие. Авторитет

Вязовский Алексей
3. Бригадир
Фантастика:
альтернативная история
попаданцы
5.00
рейтинг книги
Лихие. Авторитет

Наследник

Майерс Александр
3. Династия
Фантастика:
попаданцы
аниме
фэнтези
5.00
рейтинг книги
Наследник

Черный Маг Императора 12

Герда Александр
12. Черный маг императора
Фантастика:
юмористическое фэнтези
попаданцы
аниме
сказочная фантастика
фэнтези
5.00
рейтинг книги
Черный Маг Императора 12

Путь Шедара

Кораблев Родион
4. Другая сторона
Фантастика:
боевая фантастика
6.83
рейтинг книги
Путь Шедара

Идеальный мир для Демонолога

Сапфир Олег
1. Демонолог
Фантастика:
юмористическое фэнтези
попаданцы
аниме
фэнтези
5.00
рейтинг книги
Идеальный мир для Демонолога

Идеальный мир для Лекаря 27

Сапфир Олег
27. Лекарь
Фантастика:
аниме
фэнтези
5.00
рейтинг книги
Идеальный мир для Лекаря 27

Испытание системы

Котов Артем
Фантастика:
постапокалипсис
рпг
фэнтези
фантастика: прочее
5.00
рейтинг книги
Испытание системы

Кодекс Охотника. Книга IX

Винокуров Юрий
9. Кодекс Охотника
Фантастика:
боевая фантастика
городское фэнтези
попаданцы
5.00
рейтинг книги
Кодекс Охотника. Книга IX

Огненный князь 2

Машуков Тимур
2. Багряный восход
Фантастика:
фэнтези
попаданцы
аниме
5.00
рейтинг книги
Огненный князь 2

Газлайтер. Том 9

Володин Григорий
9. История Телепата
Фантастика:
фэнтези
попаданцы
5.00
рейтинг книги
Газлайтер. Том 9

Санек 2

Седой Василий
2. Санек
Фантастика:
попаданцы
альтернативная история
5.00
рейтинг книги
Санек 2