Чтение онлайн

на главную - закладки

Жанры

Большая Советская Энциклопедия (АЭ)
Шрифт:

Рис. 6. Электродуговая аэродинамическая труба: 1 — центральный (грибообразный) электрод, охлаждаемый водой; 2 — стенки камеры, переходящие в сверхзвуковое сопло, охлаждаемые водой; 3 — рабочая часть с высотной камерой; 4 — модель; 5 — диффузор; 6 — дуговой разряд; 7 — индукционная катушка, вращающая дуговой разряд; I — контакты для подведения электрического тока дугового разряда; II — контакты для подведения электрического тока к индукционной катушке.

Рис. 3. Сверхзвуковая аэродинамическая труба: 1 —

рабочая часть; 2 — модель; 3 — аэродинамические весы; 4 — сопло; 5 — диффузор; 6 — спрямляющие решётки; 7 — компрессор с двигателем ; 9 — обратный канал; 10 — теплообменник; 11 — осушитель воздуха.

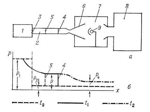
Рис. 5. а — ударная аэродинамическая труба; б — график изменения давления в ударной трубе.

Аэродинамические измерения

Аэродинами'ческие измере'ния, измерения скорости, давления, плотности и температуры движущегося воздуха, а также сил, возникающих на поверхности твёрдого тела, относительно которого происходит движение, и потоков тепла, поступающих к этой поверхности. Большинство практических задач, которые ставят перед аэрогазодинамикой авиация, ракетная техника, турбостроение, промышленное производство и т. д., требует для своего решения проведения экспериментальных исследований. В этих исследованиях на экспериментальных установках — аэродинамических трубах и стендах — моделируется рассматриваемое течение (например, движение самолёта с заданными величинами высоты и скорости) и определяются силовые и тепловые нагрузки на исследуемую модель. Соблюдение условий, диктуемых теорией моделирования, позволяет перейти от результатов эксперимента на модели к натуре. Результаты измерений обычно получают в форме зависимостей безразмерных аэродинамических коэффициентов от основных критериев подобия — М-числа, Рейнольдса числа, Прандтля числа и т. д. и в таком виде ими пользуются для определения подъёмной силы и сопротивления самолёта, нагревания поверхности ракеты и космического корабля и т. п.

Измерение сил и моментов, действующих на обтекаемое тело. При решении многих задач возникает необходимость измерений суммарных сил, действующих на модель. В аеродинамических трубах для определения величины, направления и точки приложения аэродинамических силы и момента обычно применяют аэродинамические весы. Аэродинамическую силу, действующую на свободно летящую модель, можно определить, измеряя ускорение модели. Ускорения летящих моделей или натурных объектов в лётных испытаниях измеряют акселерометрами. Если размер модели не позволяет установить на ней необходимые приборы, то ускорение находят по изменению скорости v модели вдоль траектории.

Полную аэродинамическую силу (момент), действующую на тело, можно представить как сумму равнодействующих нормальных и касательных сил на его поверхности. Чтобы получить значение нормальных сил, измеряют давления на поверхности модели при помощи специальных, т. н. дренажных, отверстий, соединённых с манометрами резиновыми или металлическими трубками (рис. 1). Тип манометра выбирается в соответствии с величиной измеряемого давления и заданной точностью измерений.

Если скорость потока, обтекающего модель, так велика, что сказывается сжимаемость газа, то можно оптическими методами найти распределение плотности газа вблизи поверхности модели (см. ниже), а затем рассчитать поле давлений и получить распределение давлений по поверхности модели. Силы, касательные к поверхности модели, обычно определяют расчётом; в некоторых случаях для их измерения применяют специальные весы.

Измерение скорости газа, обтекающего модель. Скорость газа в аэродинамических трубах и при обтекании самолётов, ракет и летающих моделей в большинстве случаев измеряется трубками (насадками) Прандтля (см. Трубки гидрометрические).

Манометры, подключенные к насадку Прандтля, измеряют полное p и статическое р давления текущего газа. Скорость несжимаемого газа определяют из уравнения Бернулли:

(где r — плотность жидкости).

Если измеряемая скорость больше скорости звука, перед насадком возникает ударная волна и показание манометра, соединённого с трубкой полного давления, будет соответствовать величине полного давления за ударной волной p’ < p. В этом случае определяют уже не v, а число М по специальной формуле. При измерении сверхзвуковых скоростей обычно пользуются раздельными насадками для измерения статического давления р и полного давления p’ за прямым скачоком уплотнения.

Существуют также методы, позволяющие измерять скорость газа по изменению количества тепла, отводимого от нагретой проволочки термоанемометра, по соотношению плотностей или температур в заторможенном и текущем газе; по скорости перемещения отмеченных частиц.

Для измерения относительно малых скоростей в промышленной аэродинамике и метеорологии применяют анемометры, среднюю величину скорости газа, текущего в трубе, можно получить, измеряя его расход специальными расходомерами. Скорость летящего тела можно также вычислить, измеряя время прохождения телом заданного участка траектории, по Доплера эффекту и другими способами.

Измерение плотности газа. Основные методы исследования поля плотностей газа можно разделить на 3 группы: основанные на зависимости коэффициента преломления света от плотности газа; на поглощении лучистой энергии газом и основанные на послесвечении молекул газа при электрическом разряде. Последние 2 группы методов применимы для исследования плотности газа при низких давлениях. Из методов 1-й группы применяются метод Тёплера («шлирен»-метод) и интерферометрический. В них для измерения плотности пользуются зависимостью между плотностью r газа и коэффициент преломления n света:

При обтекании тела сжимаемой средой в областях, где имеются возмущения газа, вызванные обтекаемым телом, возникают поля с неоднородным распределением плотности (поля градиентов плотности). Отдельные участки поля с разной плотностью по-разному отклоняют проходящий через них луч света. Часть отклоненных лучей не пройдёт через фокус приёмника прибора Тёплера, т. к. его срезает непрозрачная пластина, т. н. нож Фуко 7 (рис. 2); в результате получается местное изменение освещённости экрана (фотопластинки). Полученные фотографии (рис. 3, а) позволяют качественно анализировать характер обтекания модели; на них хорошо видны области значительных изменений плотности: ударных волн, зон разрежения и т. п. Ударные волны, которые видны на фотографии в виде тонких линий 2, в действительности представляют собой конические поверхности, на которых происходит скачкообразное изменение давления, плотности и температуры воздуха. При обтекании кольцевой поверхности торца цилиндра происходит отрыв пограничного слоя 3 от поверхности конуса.

Поделиться:
Популярные книги

Удержать 13-го

Уолш Хлоя
Любовные романы:
остросюжетные любовные романы
эро литература
зарубежные любовные романы
5.00
рейтинг книги
Удержать 13-го

Измена. Свадьба дракона

Белова Екатерина
Любовные романы:
любовно-фантастические романы
эро литература
5.00
рейтинг книги
Измена. Свадьба дракона

Плеяда

Суконкин Алексей
Проза:
военная проза
русская классическая проза
5.00
рейтинг книги
Плеяда

Восход. Солнцев. Книга IV

Скабер Артемий
4. Голос Бога
Фантастика:
фэнтези
попаданцы
аниме
5.00
рейтинг книги
Восход. Солнцев. Книга IV

Деревенщина в Пекине 2

Афанасьев Семён
2. Пекин
Фантастика:
попаданцы
дорама
фантастика: прочее
5.00
рейтинг книги
Деревенщина в Пекине 2

Сложный пациент

Рам Янка
5. Доктор, помогите...
Любовные романы:
современные любовные романы
5.00
рейтинг книги
Сложный пациент

Наследник из прошлого

Чайка Дмитрий
16. Третий Рим
Фантастика:
попаданцы
альтернативная история
5.00
рейтинг книги
Наследник из прошлого

Гимн шута 2

Федотов Антон Сергеевич
2. Шут
Фантастика:
боевая фантастика
попаданцы
аниме
5.00
рейтинг книги
Гимн шута 2

Беглец

Бубела Олег Николаевич
1. Совсем не герой
Фантастика:
фэнтези
попаданцы
8.94
рейтинг книги
Беглец

Имя нам Легион. Том 3

Дорничев Дмитрий
3. Меж двух миров
Фантастика:
боевая фантастика
рпг
аниме
5.00
рейтинг книги
Имя нам Легион. Том 3

Пепел и кровь

Шебалин Дмитрий Васильевич
4. Чужие интересы
Фантастика:
фэнтези
попаданцы
5.00
рейтинг книги
Пепел и кровь

Эммануэль

Арсан Эммануэль
1. Эммануэль
Любовные романы:
эро литература
7.38
рейтинг книги
Эммануэль

Кодекс Охотника. Книга XXI

Винокуров Юрий
21. Кодекс Охотника
Фантастика:
фэнтези
попаданцы
аниме
5.00
рейтинг книги
Кодекс Охотника. Книга XXI

Как я строил магическую империю 3

Зубов Константин
3. Как я строил магическую империю
Фантастика:
попаданцы
постапокалипсис
аниме
фэнтези
5.00
рейтинг книги
Как я строил магическую империю 3