Чтение онлайн

на главную - закладки

Жанры

Большая Советская Энциклопедия (ЦЕ)
Шрифт:

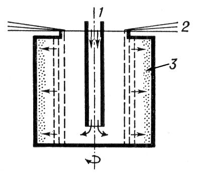
Рис. 1. Схема ротора осветляющей центрифуги: 1 — подвод суспензии; 2 — отвод фугата; 3 — осадок.

Рис. 3. Разрез горизонтальной автоматической фильтрующей центрифуги: 1 — ротор; 2 — горизонтальный вал; 3 — труба для подачи суспензии; 4 — клапан для периодической подачи суспензии; 5 — масляный цилиндр для автоматического подъема и опускания ножа; 6 — нож для срезания слоя осадка; 7 — жёлоб для удаления осадка; 8 — вибратор.

Центрифугирование

Центрифуги'рование (от центр и лат. fuga — бегство, бег), разделение неоднородных систем — суспензий , шламов, эмульсий под действием центробежных сил. Ц. может производиться по принципам отстаивания или фильтрования . Соответственно

аппараты, в которых осуществляется Ц. (центрифуги), бывают со сплошным ротором или перфорированным, покрытым фильтрующим материалом. Центробежное отстаивание применяется для выделения осветлённой жидкой фазы из разбавленных суспензий и для осаждения твёрдой фазы из концентрированных суспензий. Центробежное фильтрование используется чаще всего для выделения твёрдой фазы из суспензий и шламов с относительно малым содержанием жидкой фазы.

Для исследования высокодисперсных систем и высокомолекулярных соединений (например, белков) используется ультрацентрифугирование .

Лит. см. при ст. Центрифуги .

Центрические диатомовые

Центри'ческие диато'мовые (Centrophyceae), класс диатомовых водорослей . Клетки одиночные или образуют нитчатые и цепочковидные колонии. Хроматофоры обычно в виде мелких многочисленных зёрен, реже одна или несколько пластинок. Размножение путём вегетативного деления клетки на две половинки, известен половой процесс — оогамия . Панцирь цилиндрический, дисковидный, линзовидный, эллипсоидный, шаровидный, бочонковидный, реже призматический, со вставочными ободками. Створки панциря имеют радиальное строение и всегда лишены шва. Ц. д. насчитывают 100 родов, около 4000 видов — ископаемых (известны с мелового периода) и современных, широко распространённых в пресноводных и морских водоёмах. Развиваясь в фитопланктоне, Ц. д. служат пищей для многих беспозвоночных животных и мальков рыб. Отмершие панцири водорослей образуют мощные пласты диатомитов , используемых в промышленности.

Центрические сооружения

Центри'ческие сооруже'ния, постройки, симметричные относительно вертикальной оси в центре главного помещения, доминирующее значение которого (функциональное и идейно-художественное) выражено как в плане (круг, квадрат, многогранник или более сложная геометрическая фигура), так и во внешнем облике сооружения. В целом к Ц. с. относится много разнообразных построек от вигвамов и юрт кочевников до культовых, зрелищных, выставочных и промышленных сооружений 2-й половины 19 — 20 вв. (например, цирк в Сочи, 1971). См. илл. Обычно термин «Ц. с.» применяется к таким постройкам архитектуры, образ которых активно сосредоточивает эмоциональное восприятие зрителя на их главной идее-функции (чаще всего — культовой, мемориальной или зрелищной). Ц. с. особенно широко распространены в культовой архитектуре Среднего и Дальнего Востока, Западной и Восточной Европы [см. Италия (архитектура Высокого Возрождения), Крестово-купольный храм , Пантеон , Ротонда , Ступа , Тетраконх , Толос ].

Лит.: Кузнецов А. В., Тектоника и конструкция центрических зданий, [т. 1], М., 1951; Всеобщая история архитектуры, [т.] 5, М., 1967, с. 353—354.

В. Ф. Маркузон.

Храм Звартноц близ Эчмиадзина в Армении. 641—661. План.

Пантеон в Риме. Около 125. План.

Архитекторы Ю. Л. Шварцбрейм, В. Я. Эдемская, инженеры Н. В. Топилин, П. У. Карпов. Цирк в Сочи. 1971.

«Центрнаучфильм»

«Центрнаучфи'льм», Центральная студия научно-популярных и учебных фильмов, советская киностудия (Москва). Организована в 1933. До 1941 Московская студия технических фильмов («Мостехфильм»), в 1941—1944 «Воентехфильм», в 1945—66 «Моснаучфильм», с 1966 современное название. Студия выпускает в год свыше 300 фильмов, в том числе периодических киножурналы: «Наука и техника», «Новости сельского хозяйства», «Здоровье», детский журнал «Хочу всё знать», «Альманах кинопутешествий» и др. Награждена орденом Красной Звезды (1945).

Центроацинозные клетки

Центроацино'зные кле'тки, центроацинарные клетки, у животных и человека входят в состав основной массы внешнесекреторной, или экзокриновой, части поджелудочной железы. Представляют собой концевые разветвления вставочных (связанных с ацинусами ) отделов выводных протоков в хвостовой части железы. Ц. к. участвуют в образовании и выделении бикарбоната натрия, входящего в состав поджелудочного сока.

Центробалт

Центроба'лт, Центральный комитет Балтийского флота (ЦКБФ), высший выборный революционно-демократический орган матросских масс, созданный для координации деятельности флотских комитетов. 28—30 апреля (11—13 мая) 1917 по инициативе матросов-большевиков Гельсингфорсского совета, поддержанной флотскими комитетами, на транспорте «Виола» в Гельсингфорсе (ныне Хельсинки) состоялось

организационное собрание Ц. В 1-й состав Ц. вошло 33 чел. (по др. данным, 31), в том числе 6 большевиков и 4 сочувствующих. Председателем Ц. был избран большевик П. Е. Дыбенко , заместителем — Ф. И. Ефимов и Р. Р. Грундман (оба беспартийные), 1-й съезд Балтийского флота [25 мая — 15 июня (7—28 июня)] принял устав, согласно которому Ц. являлся высшим органом, без санкции которого ни один приказ, касающийся Балтийского флота, не мог иметь силы. Ц. стал центром, вокруг которого стали объединяться все революционные элементы флота, боровшиеся за передачу власти Советам. После съезда Ц. был увеличен до 63 чел. Выборы производились тайным голосованием непосредственно командами кораблей и личным составом частей флота по норме 1 делегат от 1000 чел. сроком на 3 мес. Ц. руководил всей политической работой на флоте, контролировал (до октября 1917) деятельность штабов и комсостава (кроме оперативных и военно-технических вопросов), проводил расследование контрреволюционной деятельности офицеров, боролся за поддержание революционного порядка на кораблях и в экипажах, заботился об улучшении быта и службы моряков. Деятельность Ц. проходила под руководством Гельсингфорсского комитета РСДРП (б) и военной организации при ЦК и Петроградского комитета РСДРП (б). В Июльские дни 1917 Ц. принял самое активное участие в демонстрации и сорвал контрреволюционную попытку Временного правительства использовать часть сил Балтийского флота для борьбы с революцией. 4 (17) июля Ц. совместно с судовыми комитетами решил потребовать от ВЦИК перехода власти в руки Советов, но делегация Ц. во главе с Дыбенко была арестована. 7 (20) июля премьер-министр А. Ф. Керенский отдал приказ о роспуске Ц. Вновь избранный 2-й состав Ц. [10—11 (23—24) июля] был также распущен, т.к. потребовал освобождения арестованных членов Ц. 3-й состав Ц. [25 июля (7 августа) — 16 (29) октября] — председатель Грундман [с 16 (29) сентября П. М. Сутырин (левый эсер)], заместитель А. В. Баранов, затем Ф. С. Аверичкин (оба большевики) — в обстановке наступления контрреволюции, несмотря на протесты большевиков, проводил соглашательскую политику, не отражавшую взгляды матросских масс. Тем не менее под влиянием большевиков Ц. 7 (20) августа принял решение о независимой от Временного правительства политической платформе, а затем участвовал в борьбе с корниловщиной , что вынудило Временное правительство освободить арестованных в Июльские дни 1917 член Ц. 19 сентября (2 октября) на объединённом заседании (под председательством Дыбенко) пленума Ц., судовых комитетов и матросской секции Гельсингфорсского совета была принята резолюция о непризнании власти Временного правительства и невыполнении его распоряжений. После 2-го съезда Балтийского флота [25 сентября (8 октября) — 5 (18) октября] приступил к своим обязанностям 16 (29) октября избранный 4-й состав Ц., в который вошли: П. Е. Дыбенко — председатель, В. П. Евдокимов, Баранов, Н. А. Ховрин, Аверичкин, П. Д. Мальков, Г. А. Светличный, Н. Ф. Измайлов [и. о. председателя с 27 октября (9 ноября) по 14 (27) ноября] и др. Ц. взял на себя руководство сохранением боеспособности флота и обороной Петрограда. Во время Моонзундской операции 1917 комиссары Ц., большевистские организации и судовые комитеты руководили обороной островов от германского флота. В октябре 1917 Ц., действуя в контакте и под руководством большевиков Гельсингфорса и Петроградского ВРК, стал боевым штабом на Балтийском флоте по подготовке вооружённого восстания, передал в распоряжение ВРК крейсер «Аврора». В ночь на 25 октября (7 ноября) по условной телеграмме «Центробалт, высылай устав» Ц. отправил в Петроград военные корабли («Самсон», «Забияка», «Амур» и др.) и эшелон матросов на помощь восставшим рабочим и солдатам, а позже выделил дополнительные силы для подавления Керенского — Краснова мятежа 1917 . Начавшийся после Октябрьской революции саботаж среди офицеров на флоте вынудил Ц. поставить вопрос о реорганизации командования Балтийским флотом. 6 (19) декабря должность командующего флотом и его штаб были упразднены, а руководство Балтийским флотом принял на себя Ц., выделив для этой цели военный отдел, 5-й состав Ц., избранный 2 (15) января 1918, попал под влияние анархистов (ввиду отправки значительного количества революционных моряков для борьбы за установление Советской власти на местах) и был распущен в связи с организацией нового революционного командования (Совета комиссаров Балтийского флота) 31 января (13 февраля) 1918.

Лит.: Протоколы и постановления ЦК Балтийского флота 1917—1918, М., 1963; Балтийские моряки в подготовке и проведении Великой Октябрьской социалистической революции. [Сб. док-тов], М., 1957; Измайлов Н. Ф., Пухов А. С., Центробалт, 2 изд., Калининград, 1967.

Центробежная муфта

Центробе'жная му'фта, см. Муфта .

Центробежная сила

Центробе'жная си'ла, сила, с которой движущаяся материальная точка действует на тело (связь), стесняющее свободу движения точки и вынуждающее её двигаться криволинейно. Численно Ц. с. равна mv2 / r, где m — масса точки, v — её скорость, r — радиус кривизны траектории, и направлена по главной нормали к траектории от центра кривизны (от центра окружности при движении точки по окружности). Ц. с. и центростремительная сила численно равны друг другу и направлены вдоль одной прямой в противоположные стороны, но приложены к разным телам — как силы действия и противодействия. Например, при вращении в горизонтальной плоскости привязанного к верёвке груза центростремительная сила действует со стороны верёвки на груз, вынуждая его двигаться по окружности, а Ц. с. действует со стороны груза на верёвку, натягивает её и при достаточно большой скорости движения может оборвать.

Поделиться:
Популярные книги

Законник Российской Империи

Ткачев Андрей Юрьевич
1. Словом и делом
Фантастика:
городское фэнтези
альтернативная история
аниме
5.00
рейтинг книги
Законник Российской Империи

Бастард Императора. Том 16

Орлов Андрей Юрьевич
16. Бастард Императора
Фантастика:
аниме
фэнтези
фантастика: прочее
5.00
рейтинг книги
Бастард Императора. Том 16

Аристократ из прошлого тысячелетия

Еслер Андрей
3. Соприкосновение миров
Фантастика:
фэнтези
попаданцы
аниме
5.00
рейтинг книги
Аристократ из прошлого тысячелетия

Третий. Том 2

INDIGO
2. Отпуск
Фантастика:
космическая фантастика
попаданцы
5.00
рейтинг книги
Третий. Том 2

Морской волк. 1-я Трилогия

Савин Владислав
1. Морской волк
Фантастика:
альтернативная история
8.71
рейтинг книги
Морской волк. 1-я Трилогия

Приручитель женщин-монстров. Том 12

Дорничев Дмитрий
12. Покемоны? Какие покемоны?
Фантастика:
юмористическое фэнтези
аниме
5.00
рейтинг книги
Приручитель женщин-монстров. Том 12

Санек 3

Седой Василий
3. Санек
Фантастика:
попаданцы
альтернативная история
5.00
рейтинг книги
Санек 3

Неудержимый. Книга XXVI

Боярский Андрей
26. Неудержимый
Фантастика:
фэнтези
попаданцы
5.00
рейтинг книги
Неудержимый. Книга XXVI

Последний попаданец

Зубов Константин
1. Последний попаданец
Фантастика:
фэнтези
попаданцы
рпг
5.00
рейтинг книги
Последний попаданец

Отмороженный 11.0

Гарцевич Евгений Александрович
11. Отмороженный
Фантастика:
боевая фантастика
рпг
попаданцы
фантастика: прочее
фэнтези
5.00
рейтинг книги
Отмороженный 11.0

Протокол "Наследник"

Лисина Александра
1. Гибрид
Фантастика:
фэнтези
попаданцы
аниме
5.00
рейтинг книги
Протокол Наследник

Обгоняя время

Иванов Дмитрий
13. Девяностые
Фантастика:
попаданцы
5.00
рейтинг книги
Обгоняя время

Офицер

Земляной Андрей Борисович
1. Офицер
Фантастика:
боевая фантастика
7.21
рейтинг книги
Офицер

Имя нам Легион. Том 4

Дорничев Дмитрий
4. Меж двух миров
Фантастика:
боевая фантастика
рпг
аниме
5.00
рейтинг книги
Имя нам Легион. Том 4