Чтение онлайн

на главную - закладки

Жанры

Мототуризм: спорт и отдых
Шрифт:

Мотоциклы ММВЗ-З.112 и ММВЗ-З.1121 можно укомплектовать задними боковыми грузовыми площадками, устройство которых приведено на рис. 49. Их можно установить в дополнение к имеющейся на мотоцикле верхней грузовой площадке и таким образом получить комбинированный багажник.

Присоединение боковины багажника к мотоциклу производится в месте крепления к раме верхнего наконечника амортизатора задней подвески. При этом следует использовать болты М10 х 1,25 длиной 65 мм. Внизу багажник присоединяется к кронштейну крепления подножки пассажира. В задней части багажник посредством болтов М6 длиной 18 мм присоединяется к щитку заднего колеса в месте крепления растяжки верхней площадки

штатного багажника. Задние фонари указателей поворота следует перенести на специальный кронштейн. При расположении фонарей должны быть выполнены требования, изложенные выше.

Один из возможных вариантов конструкции заднего бокового багажника для мотоцикла ММВЗ-3.11211 приведен на рис. 50. Он отличается от багажников для мотоциклов ММВЗ-3.1121 габаритами и присоединительными размерами. Конечно, при желании вы можете изготовить боковые площадки собственной конструкции, ориентируясь на указанные на рис. 50 присоединительные размеры и принимая подобную схему крепления боковин на машине.

В пути часто возникает необходимость некоторые предметы (например, фотоаппарат, радиоприемник, часы, записную книжку, атлас автомобильных дорог, карты и т. п.) разместить так, чтобы они меньше подвергались тряске, а пользоваться ими было бы удобно. В такой ситуации добрую услугу вам может оказать передний багажник, закрепленный на топливном баке. На нем можно закрепить футляр для укладки груза. Желательно, чтобы это была полужесткая сумка, изготовленная из натуральной или искусственной кожи. При желании на переднем багажнике можно укрепить планшет, имеющий прозрачную верхнюю стенку.

Если вам не удастся приобрести в магазине что-либо подобное, запаситесь терпением, материалами, творческим настроением и приступайте к работе. Даже если путь к цели будет далек и сложен, ваши труды будут достаточно вознаграждены многофункциональным оригинальным изделием. Отличительной особенностью рассматриваемого варианта сумки является то, что она состоит из отдельных блоков, которые можно использовать порознь или соединять в различных сочетаниях, «наращивая» сумку по высоте. Блоки соединяются с помощью застежки «молния» Предлагаемая к изготовлению сумка довольно вместительна, удобна в пользовании, травмобезопасна. При желании она может быть закреплена непосредственно на топливном баке на предварительно уложенной под нее эластичной прокладке (чтобы не повредить лакокрасочное покрытие). Крепить ее лучше всего с помощью широких резиновых полос с проволочными зацепами. При желании сумку можно использовать как переносную, для чего служат мягкая ручка и регулируемый по длине наплечный ремень.

На рис. 53 изображен передний багажник, предназначенный для установки на мотоцикл «Ява-350» тип 634. Его можно изготовить из листовой стали 10 или 20. Толщина площадки 2–2,5 мм. В задней части багажник устанавливается на болты крепления топливного бака, в передней — надевается на горловину бака и фиксируется пробкой.

Аналогичную конструкцию имеет передний багажник, предназначенный для установки на мотоцикл ММВЗ-3.1121 или ММВЗ-ЗЛ1211. Его можно изготовить, руководствуясь рис. 54. Установка багажника на мотоцикл показана на том же рисунке.

Багажники после изготовления желательно хромировать. Не следует укреплять на багажнике жесткие емкости с острыми краями. Если вы все же решите изготовить такую емкость, то все углы и ребра надо скруглить. Радиус скруглений должен быть не менее 10 мм. Если вы будете перевозить на переднем багажнике отдельные предметы, рекомендуем в отверстия площадки вставить резиновые муфты или закрепить сверху лист тонкой микропористой

резины, вырезанный по форме верхней площадки, чтобы груз ложился на эти детали, а не на площадку. При этом, во-первых, между грузом и багажником будут дополнительные амортизирующие элементы, во-вторых, груз не будет самопроизвольно смещаться.

Мотоциклы, снабженные двигателями с рабочим объемом 350 см3 и более, эксплуатируемые без бокового прицепа, крайне желательно оборудовать защитными дугами. Наилучший эффект дает установка на мотоцикле передних и задних защитных дуг. Передние, как правило, крепятся на раме в передней части мотоцикла. Задние — устанавливаются в зоне крепления амортизаторов задней подвески, подножек пассажира или в задней части рамы, ниже седла.

На рис. 55 изображен вариант передних защитных дуг, предназначенных для установки на мотоцикл «Ява-350» тип. 634. Их можно изготовить из стальной трубы 26x2 или 28x2. Кронштейны дуг и перемычки также следует изготовить из стали 10–20. Для сварки дуг желательно изготовить из листовой стали толщиной 2,5–3 мм стапель, в котором следует просверлить отверстия для фиксации верхнего и нижнего кронштейнов. Перед сваркой их надо установить на стапель и закрепить при помощи болтов М10 так, чтобы были выдержаны размеры, указанные на рисунке. После сварки швы следует зачистить. Дуги желательно хромировать, но можно нанести несколько слоев эмали типа МЛ-12.

Дуги к раме присоединяются при помощи кронштейнов, которые можно получить из заготовок, разрезав их на две части. В верхней части дуги фиксируются при помощи перемычки, помещенной между трубами рамы. При монтаже дуг между их кронштейнами и трубами рамы следует установить прокладки из листовой резины толщиной 2–3 мм. Соединение составных частей защитных дуг производится при помощи болтов М10 длиной 35–40 мм.

Дуги предлагаемой конструкции можно изготовить и для мотоциклов «Ява» более позднего выпуска, чтобы заменить защитные устройства заводского изготовления, которыми эти мотоциклы комплектуются. На дугах рассматриваемой конструкции могут быть установлены наколенные щитки, емкости для масла, закреплена упаковка с запасными частями или принадлежностями ремонтного набора.

Передние защитные дуги для минских мотоциклов можно изготовить, руководствуясь рис. 56. Для них желательно использовать стальную трубу 26x2 или 28x1,5. Кронштейны можно изготовить из листовой стали 20. Соединять трубы с кронштейнами желательно при помощи электросварки. После зачистки швов это изделие тоже следует хромировать или окрасить.

Присоединение к мотоциклу осуществляется путем закрепления дуг на кронштейнах передней трубы рамы. Их верхние кронштейны соединяются при помощи двух болтов М8 длиной 45 мм и одного болта М8 длиной 22 мм. Между верхними кронштейнами следует установить три распорные втулки, изготовленные из стальной трубы 12x1,5. Спереди устанавливается втулка длиной 4 мм, вверху — длиной 28 мм, причем эта втулка устанавливается между усилителями рамы. Между нижними частями верхних кронштейнов защитных дуг устанавливается втулка длиной 33 мм. Для крепления нижней части дуг следует снять два болта крепления передней части двигателя к раме, на это место установить нижние

кронштейны дуг, использовав при этом болты М8 длиной 50 мм. В передней части нижних кронштейнов следует установить распорную втулку длиной 4 мм и болт М8 длиной 22 мм.

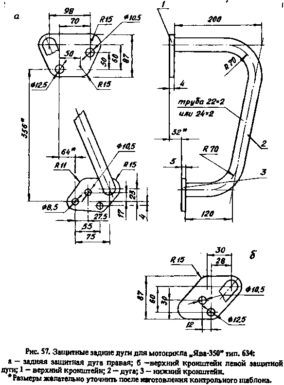
Значительно повышают безопасность эксплуатации мотоцикла — одиночки (т. е. без бокового прицепа) задние защитные дуги. В большей степени это относится к защите пассажира от травм при падениях мотоцикла во время движения. Задние защитные дуги для мотоцикла «Ява-350» тип 634 можно изготовить, руководствуясь рис. 57. Дуги могут быть выполнены из трубы 22x2 или 24x2 (сталь 10–20). Кронштейны — из

Поделиться:
Популярные книги

Кодекс Крови. Книга VIII

Борзых М.
8. РОС: Кодекс Крови
Фантастика:
фэнтези
попаданцы
аниме
5.00
рейтинг книги
Кодекс Крови. Книга VIII

Жена на четверых

Кожина Ксения
Любовные романы:
любовно-фантастические романы
эро литература
5.60
рейтинг книги
Жена на четверых

Законы Рода. Том 7

Андрей Мельник
7. Граф Берестьев
Фантастика:
юмористическое фэнтези
попаданцы
аниме
5.00
рейтинг книги
Законы Рода. Том 7

Королевская кровь-13. Часть 1

Котова Ирина Владимировна
14. Королевская кровь
Фантастика:
городское фэнтези
фэнтези
эпическая фантастика
5.00
рейтинг книги
Королевская кровь-13. Часть 1

Барон Дубов 4

Карелин Сергей Витальевич
4. Его Дубейшество
Фантастика:
юмористическое фэнтези
аниме
сказочная фантастика
фэнтези
5.00
рейтинг книги
Барон Дубов 4

Плеяда

Суконкин Алексей
Проза:
военная проза
русская классическая проза
5.00
рейтинг книги
Плеяда

Инженер Петра Великого 3

Гросов Виктор
3. Инженер Петра Великого
Фантастика:
попаданцы
альтернативная история
5.00
рейтинг книги
Инженер Петра Великого 3

Купеческая дочь замуж не желает

Шах Ольга
Фантастика:
фэнтези
6.89
рейтинг книги
Купеческая дочь замуж не желает

За Горизонтом

Вайс Александр
8. Фронтир
Фантастика:
боевая фантастика
космическая фантастика
космоопера
5.00
рейтинг книги
За Горизонтом

Я уже барон

Дрейк Сириус
2. Дорогой барон!
Фантастика:
боевая фантастика
попаданцы
аниме
5.00
рейтинг книги
Я уже барон

Неправильный лекарь. Том 2

Измайлов Сергей
2. Неправильный лекарь
Фантастика:
городское фэнтези
аниме
фэнтези
попаданцы
5.00
рейтинг книги
Неправильный лекарь. Том 2

Мы пришли к вам с миром!

Кожевников Павел
Вселенная S-T-I-K-S
Фантастика:
научная фантастика
альтернативная история
5.00
рейтинг книги
Мы пришли к вам с миром!

Бестужев. Служба Государевой Безопасности. Книга четвертая

Измайлов Сергей
4. Граф Бестужев
Фантастика:
попаданцы
аниме
фэнтези
5.00
рейтинг книги
Бестужев. Служба Государевой Безопасности. Книга четвертая

Крысиный бег II

А.Морале
2. Крысиный бег
Фантастика:
городское фэнтези
аниме
4.25
рейтинг книги
Крысиный бег II