Чтение онлайн

на главную - закладки

Жанры

Оптический флюорит
Шрифт:

Методом встречной диффузии получены кристаллы флюорита размером до 10 мм, причем растут они очень медленно, месяцами, поэтому этот метод пока не находит промышленного применения. Однако он достаточно перспективен, чтобы продолжать поиски в этом направлении. Для некоторых веществ уже удалось получить кристаллы величиной в несколько сантиметров.

Гидротермальный метод

Наиболее совершенные природные кристаллы оптического флюорита образуются, как было показано выше, в гидротермальных условиях. Гидротермальным же способом удалось наладить получение в промышленных масштабах оптических кристаллов других минералов, в частности кварца, которые по качеству не уступают природным.

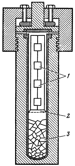
Выращивание кристаллов гидротермальным методом производят в специальных реакторах — автоклавах (рис. 15), способных длительное время выдерживать агрессивные среды, высокие температуры и давления. Обычно автоклав имеет вид толстостенных цилиндрических сосудов, выполненных из специальных жаропрочных сортов сталей или титана. В автоклав вставляется точно подогнанный по диаметру тонкостенный

вкладыш из химически стойкого материала — платиновой, серебряной или золотой фольги, фторопласта. В процессе экспериментов этот вкладыш плотно приваривается к стенкам автоклава. Сверху автоклав закрывается массивной крышкой с уплотнительными кольцами, которая затягивается по резьбе или болтами, обеспечивая абсолютную герметичность.

Процесс выращивания осуществляется следующим образом. На дно автоклава засыпается шихта — зернистая крупка того минерала, кристаллы которого мы намерены получить; в интересующем нас случае это должен быть дробленый флюорит. В верхней части на платиновой или нихромовой проволочке подвешивается кристаллик флюорита или пластинка, вырезанная из кристаллика, или несколько таких пластинок. Это затравки для выращиваемых кристаллов. Автоклав заполняется подходящим растворителем, например водными растворами HCl, LiCl или NH4Cl и т. п., причем не полностью, а таким образом, чтобы обеспечить при нагревании до определенной температуры требуемое давление внутри автоклава. Требуемая степень заполнения рассчитывается по диаграмме состояния раствора. Если автоклав заполнен водой, например, на 80%, то при нагревании до 245° C произойдет полное заполнение объема, а при 300° C давление достигнет уже 2000 кГ/см2. Подбирая коэффициент заполнения, мы можем добиться любого сочетания РТ– параметров.

Рис. 15. Схема автоклава для выращивания кристаллов гидротермальным методом

1 — затравки для выращиваемых кристаллов; 2 — диафрагма; 3 — шихта (дробленый флюорит)

Рис. 16. Изменения количества (n), размера (r) и формы кристаллов флюорита по высоте автоклава (гидротермальное выращивание без затравки)

Затем автоклав помещается в цилиндрическую печь, особенности теплового поля внутри которой позволяют нагревать нижнюю часть автоклава, ту, где находится шихта, несколько сильнее, чем верхнюю. По оси автоклава создается, таким образом, термический градиент, обычно в 15—20° С, вызывающий конвекцию и создающий непрерывную циркуляцию раствора в автоклаве. Шихта в нижней части автоклава, находящаяся в наиболее высокотемпературных условиях, растворяется; растворенное вещество конвекционным потоком переносится вверх, в более холодную зону, где находятся затравки. Поскольку растворимость CaF2 в большинстве растворов возрастает с повышением температуры, то при движении снизу вверх раствор от недонасыщенного переходит в насыщенный, а затем и в пересыщенный: происходит кристаллизация флюорита, и затравочные кристаллы начинают расти. Раствор сбрасывает избыток растворенного вещества и в нисходящем потоке опускается вниз, где снова насыщается, растворяя шихту. Так в результате непрерывной циркуляции осуществляется непрерывный подток вещества к затравкам и непрерывный рост кристаллов.

Таблица 2. Результаты экспериментов по выращиванию кристаллов флюорита гидротермальным способом

Исследователь и время проведения экспериментов или время публикации результатов Раствор и концентрация, % t, °С(t, °С) P, кГ/см2 (степень заполнения автоклава, %) Прочие условия экспериментов Результаты экспериментов
И. Н. Аникин, В. П. Будузов, А. Д. Шушканов [1965], И. Н. Аникин, А. Д. Шушканов [1963] LiCl 45—50 450—480 (10—15) 200 Pt-футеровка: затравки — пластины и шары Небольшие кристаллы вырастали за 2,5 часа
Дж. Либертц [Liebertz, 1965] NH4Cl 4н 400—450 2000—2800 Au-ампула Октаэдрические кристаллы до 1,5 мм
А. Э. Гликин, Т. Г. Петров [1966] LiCl 44 400—500     Кристаллы до 0,5 мм
NaCl 30 ~50
Д. Рикл, Я. Бауэр [Rykl, Bauer, 1972] NH4Cl 3-8 300-500 (20—40) 400—1000 Ag-футеровка Кристаллы разной формы, размером 0,04—1,2 мм
Оптимальные условия NH4Cl 3-5 350 400
А.
Ф. Куин, 1972—1975 гг. [Кунц, 1974, 1976]
NaCl 2н 300—360 100—400 Фторопластовые вкладыши, Т = 10—20° С; без затравок и на затравку, продолжительность 161—340 ч Без затравки получены кристаллы до 2 мм, в агрегатах — до 5 мм, на затравку нарощен слой до 2,5 мм
HCl 4,3 200—500 50—1000
LiCl 44 250 100
NH4Cl 27 500 1000
NaHCO3 10 300 100
Б. Зидарова [1978] NH4Cl 5—10 130—500 (8—41) 400—1200 Cu- и Ti-вкладыши; шихта — природный флюорит и реактивный CaF2; Кристаллы разной формы, размером 0,1—3 мм в опытах с NH4Cl, 0,1—8 мм в опытах с LiCl.
LiCl 20—44,6 130—500 (8—41) 400—1200
Na2CO3 6—8 130—450 (25—30) 200—1200 продолжительность 144—312 ч С Na2CO3 кристаллы не получаются. На затравке нарастание незначительное

Автоклавы могут быть и более сложными. Иногда в них вводится диафрагма, отделяющая зону шихты от зоны роста, шихта может помещаться в специальные корзинки, в автоклавы вводятся контрольно-измерительные элементы (термопары, манометры, приспособления для отбора проб раствора и т. п.). Создаются целые системы автоклавов. Автоклавы, внутри которых развиваются очень высокие давления, во избежание взрыва помещают в стальные или бетонные сейфы. Контроль параметров и управление процессами ведутся автоматически.

В разных странах предпринимались многочисленные попытки получить кристаллы флюорита гидротермальным способом. Результаты некоторых экспериментов приведены в табл. 2. Как видно из таблицы, эксперименты проводились в самых различных условиях. Кристаллизационные среды выбирались самые оптимальные, температуры варьировали от 100 до 500° С, давления — от 50 до 2800 кГ/см2, продолжительность экспериментов достигала нескольких месяцев. Однако кристаллические затравки увеличивались очень незначительно, а самопроизвольно зарождавшиеся кристаллы, хотя и весьма совершенные, достигали всего лишь 1—3 мм в поперечнике (фото 8, см. вкл.). Видимо, кристаллы вырастают в течение нескольких часов до этой предельной величины и дальше не растут или растут очень медленно. Только Б. Зидаровой из Болгарии удалось получить за 12,5 сут кристаллы до 6—8 мм по ребру куба в экспериментах с 44,6%-ным LiCl при очень высоких температуре (500° С) и давлении (1100 кГ/мм2).

Затравка почему-то «не хочет» расти, как это хотелось бы нам, т. е. чтобы все вещество шло на затравку. В зоне роста на крышке и стенках автоклава образуется множество паразитических кристалликов. На рис. 16, по данным А. Ф. Кунца, показана картина распределения кристаллов и изменения их размеров и формы в автоклаве без затравки (условия: LiCl; t=360° С; t = 10—20° С). Видно, что и количество и размеры кристалликов больше всего в зоне высокого пересыщения; здесь же усложняется и топография кристаллов. При еще более высоких пересыщениях отдельные кристаллы соединяются в агрегаты, образуются сплошные кристаллические корки (фото 9, см. вкл.).

Если взять большое количество шихты, более 20% от объема автоклава, то в результате возникновения локальных пересыщений будет происходить перекристаллизация шихты. В нижней части автоклава на его стенках и в пустотах образуются друзы кристаллов флюорита, причем размер отдельных кристаллов крупнее, чем в верхней части автоклава.

В результате экспериментов по гидротермальному выращиванию кристаллов флюорита получены очень интересные данные по зависимости формы кристаллов от условий кристаллосинтеза: химизма среды, термодинамических параметров. В растворах NH4Cl и LiCl, например, с увеличением пересыщения, т. е. с увеличением термического градиента, габитус кристаллов от октаэдрического постепенно переходит в кубический, при этом увеличиваются и размеры кристаллов. На основе экспериментальных данных для каждого типа растворов установлены поля устойчивости кубических, кубооктаэдрических и октаэдрических кристаллов в РТ– координатах [Кунц, 1976]. Установлены зависимости физических свойств кристаллов от условий кристаллосинтеза.

Таким образом, гидротермальным методом пока не удается получать оптические кристаллы флюорита и даже не удается определить наиболее обещающий путь дальнейших поисков. Однако результаты проведенных экспериментов оказались полезными для геологов и минералогов как инструмент для расшифровки условий образования природных флюоритовых месторождений по особенностям флюоритовых кристаллов. Кроме того, они «закрестили» бесперспективные, тупиковые пути, заставили искать новые.

Технологические аспекты эффективного способа гидротермального выращивания кристаллов флюорита продолжаются.

Поделиться:
Популярные книги

Законы Рода. Том 6

Андрей Мельник
6. Граф Берестьев
Фантастика:
юмористическое фэнтези
аниме
5.00
рейтинг книги
Законы Рода. Том 6

Предопределение

Осадчук Алексей Витальевич
9. Последняя жизнь
Фантастика:
фэнтези
попаданцы
аниме
5.00
рейтинг книги
Предопределение

Князь II

Вайт Константин
4. Аннулет
Фантастика:
попаданцы
альтернативная история
аниме
5.00
рейтинг книги
Князь II

Скандальный развод, или Хозяйка владений "Драконье сердце"

Милославская Анастасия
Фантастика:
попаданцы
фэнтези
5.00
рейтинг книги
Скандальный развод, или Хозяйка владений Драконье сердце

Идеальный мир для Лекаря 14

Сапфир Олег
14. Лекарь
Фантастика:
юмористическое фэнтези
попаданцы
аниме
5.00
рейтинг книги
Идеальный мир для Лекаря 14

Сфирот

Прокофьев Роман Юрьевич
8. Стеллар
Фантастика:
боевая фантастика
рпг
6.92
рейтинг книги
Сфирот

Эра Мангуста. Том 2

Третьяков Андрей
2. Рос: Мангуст
Фантастика:
фэнтези
попаданцы
аниме
5.00
рейтинг книги
Эра Мангуста. Том 2

Девяностые приближаются

Иванов Дмитрий
3. Девяностые
Фантастика:
попаданцы
альтернативная история
7.33
рейтинг книги
Девяностые приближаются

На границе империй. Том 9. Часть 5

INDIGO
18. Фортуна дама переменчивая
Фантастика:
космическая фантастика
попаданцы
5.00
рейтинг книги
На границе империй. Том 9. Часть 5

Эволюционер из трущоб. Том 2

Панарин Антон
2. Эволюционер из трущоб
Фантастика:
космическая фантастика
попаданцы
5.00
рейтинг книги
Эволюционер из трущоб. Том 2

Хозяин Теней 4

Петров Максим Николаевич
4. Безбожник
Фантастика:
попаданцы
аниме
фэнтези
5.00
рейтинг книги
Хозяин Теней 4

Темный Лекарь 6

Токсик Саша
6. Темный Лекарь
Фантастика:
аниме
фэнтези
5.00
рейтинг книги
Темный Лекарь 6

Метатель. Книга 4

Тарасов Ник
4. Метатель
Фантастика:
боевая фантастика
попаданцы
постапокалипсис
рпг
фэнтези
5.00
рейтинг книги
Метатель. Книга 4

Моя простая курортная жизнь 4

Блум М.
4. Моя простая курортная жизнь
Любовные романы:
эро литература
5.00
рейтинг книги
Моя простая курортная жизнь 4