Чтение онлайн

на главную - закладки

Жанры

Оптический флюорит
Шрифт:
Кристаллизация из расплавов

Если кристаллы оптического флюорита не получаются относительно дешевыми диффузионными и гидротермальными методами, то можно остановиться на одном из хорошо разработанных расплавных методов. Казалось бы, что проще: расплавить природный флюорит и закристаллизовать его в монокристалл путем медленного охлаждения. Однако температура плавления высока — около 1420° С.

Попытки получения кристаллов оптического флюорита из расплава также долгое время оставались безуспешными. Причиной неудач была исключительно высокая химическая активность фтора. Расплавленный флюорит жадно «хватает» из воздуха кислород, в нем интенсивно развивается гидролиз

CaF2 + H2O -> 2HF^.

Образующаяся

в результате гидролиза CaO не изоморфна с CaF2 и не может закономерно встроиться в кристаллическую решетку флюорита. Она кристаллизуется в виде самостоятельной тонкодисперсной фазы, насыщающей флюоритовые кристаллы. Показатель преломления примесной фазы более высокий, чем флюоритовой матрицы, поэтому в кристаллах флюорита возникает множество центров светорассеяния. Кристаллы получаются непрозрачные, молочно-белые, фарфоровидные, в лучшем случае мутные опалесцирующие, а чаще всего вместо кристаллов образуются агрегаты. И ни один из методов (были опробованы все методы, известные сейчас как методы Чохральского, Тамманна, Наккена, Киропулоса, Обреимова—Шубникова, Бриджмена, Штебера, Вернеля и др.) в их классическом варианте не мог преодолеть этот барьер.

И здесь нужны были специальные поиски.

Метод Шамовского—Стокбаргера—Степанова. Главный успех в разработке промышленного способа получения оптических монокристаллов флюорита в отечественной и зарубежной литературе связывают с именем Д. Стокбаргера, и ведущий метод носит название метода Стокбаргера.

Д. Стокбаргер в США сделал первый шаг в расплавном выращивании флюорита еще в 1927 г., но этот шаг был неудачным из-за гидролиза, о котором мы говорили выше. Не дали положительных результатов и другие исследования, проведенные в 20-х годах в США в Гарвардском университете и в Массачусетском технологическом институте, а также в 30-х годах в Институте галургии в Ленинграде.

В это же время подобные исследования во Всесоюзном институте минерального сырья (ВИМС) начал Л. М. Шамовский. Ему, пожалуй, первому удалось понять причину предыдущих неудач, заключавшуюся в гидролитическом образовании посторонней фазы CaO, и он предложил для преодоления этого препятствия использовать вакуумную технику. В 1937 г. он получил первые оптические кристаллы [Юргенсон, 1980]. Позднее со своими учениками Л. М. Шамовский ввел в технологию еще одно важное усовершенствование: он применил для удаления окиси кальция и раскисления расплава фторид кадмия [Шамовский и др., 1970].

Независимо от Л. М. Шамовского, но значительно позднее причину дефектности кристаллов флюорита, выращиваемых в воздушной атмосфере, выявил и Д. Стокбаргер [Stockbarger, 1949]. Чтобы исключить взаимодействие расплава CaF2 с воздушной средой, он разработал свой метод выращивания на основе метода Бриджмена [Bridgman, 1925], который является разновидностью метода Обреимова—Шубникова, предложенного еще в 1924 г.

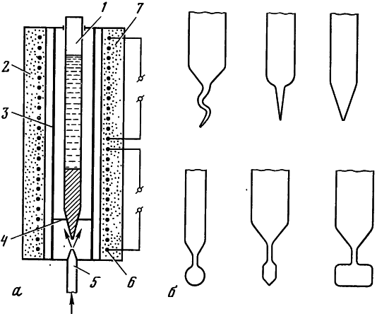
Общим во всех этих методах является то, что материал, из которого выращиваются кристаллы, помещают в контейнер. Контейнер вводится в печь с термическим градиентом. В высокотемпературной части печи содержимое контейнера расплавляется, затем контейнер переводится из высокотемпературной части печи в низкотемпературную, и в тот момент, когда он проходит через изотерму плавления, в нем начинается кристаллизация. Из зародившихся на дне контейнера кристаллов в результате геометрического отбора выживает тот, который наиболее благоприятно ориентирован, т. е. направлением наибыстрейшего роста параллельно оси контейнера. Для ускорения геометрического отбора дно контейнера делается остроконическим, с пережимом, гасящим все паразитические кристаллы (рис. 17). Форма полученных кристаллов определяется формой контейнера.

Рис. 17. Схема аппарата для выращивания монокристаллов по методу Обреимова — Шубникова (а) и формы контейнеров (б)

1

контейнер; 2 — печь; 3 — медный цилиндр; 4 — опора; 5 — сопло; 6 — электрообмотка; 7 — теплоизоляция

В методе Обреимова—Шубникова контейнерами являются запаянные пробирки, из которых откачивается воздух и создается вакуум 1•10– 2 мм рт. ст. Они помещаются в цилиндрическую печь и закрепляются на держателе. Суженный конец пробирки охлаждается поступаемой через сопло холодной струей воздуха, и в нем возникает кристаллический зародыш, который затем разрастается в монокристалл, заполняя всю пробирку.

В методе Бриджмена контейнером является тигель, который перемещается в градиентной печи с помощью пружинного механизма или электромотора со скоростью, несколько меньшей скорости роста кристалла. Вместо тигля может перемещаться печь, а тигель оставаться неподвижным.

Д. Стокбаргер получил первые кристаллы флюорита, прозрачные в видимой области спектра, методом Бриджмена, используя в качестве контейнера запаянную вакуумированную ампулу с флюоритовой шихтой. Затем он несколько изменил этот метод.

Метод Стокбаргера, которым в основном выращиваются кристаллы флюорита, отличается от метода Бриджмена тем, что градиент между высокотемпературной и низкотемпературной зонами более крутой. Он достигается тем, что нагревательная печь делается из двух секций, разделенных тонкой металлической перегородкой — диафрагмой с отверстием для прохождения контейнера. Температура t1 в верхней части печи выше точки плавления вещества, t2 — несколько ниже. Нижним концом контейнер опирается на охлаждаемый металлический стержень, по которому отводится тепло. Установка должна быть вакуумируемой, т. е. в печи должен создаваться вакуум около 10– 4 мм рт. ст. Выращивание может вестись в атмосфере H2F2. В качестве контейнеров обычно используются графитовые тигли или тигельные блоки достаточно больших размеров, но с относительно тонкими стенками.

Исходным материалом у Д. Стокбаргера был природный флюорит. К нему добавлялось около 2% фторида свинца, чтобы вывести продукты гидролиза, так как образующаяся по схеме CaO+PbF2– > CaF2+PbO окись свинца легко испаряется в процессе плавления. Л. М. Шамовский, как мы помним, для этой цели применял фторид кадмия.

Дальнейшее развитие метод Шамовского—Стокбаргера получил в работах И. В. Степанова и П. П. Феофилова, которыми и были по сути заложены основы промышленной техники и технологии промышленного выращивания кристаллов флюорита для оптического приборостроения.

И. В. Степановым совместно с М. А. Васильевой была сконструирована довольно эффективная высокотемпературная вакуумная установка для выращивания кристаллов флюорита, в которую входят высокотемпературная печь, системы электропитания, терморегулирования, охлаждения, вакуумная система [Степанов, Феофилов, 1957].

Вакуумная печь состоит из вакуумной камеры, нагревателя и защитных отражающих экранов. Верхняя «горячая» камера печи отделена от нижней «холодной» камеры диафрагмой. Вакуумная камера ограничена водоохлаждаемым колпаком и плитой, герметически соединенных между собой. Отражательные экраны предназначены для концентрации тепла в рабочем пространстве печи и предохранения колпака от нагрева. Тигель из тонкой молибденовой жести устанавливается в печь на подвижную подставку с водоохлаждаемым штоком — строго концентрично относительно нагревателя. Вертикальное поступательное движение штока обеспечивается электромеханической системой. Управление тепловым режимом печи осуществляется программными терморегуляторами, работающими в комплексе с термопарами. Вакуум в установке создается системой форвакуумных и высоковакуумных диффузионных насосов.

Поделиться:
Популярные книги

Баоларг

Кораблев Родион
12. Другая сторона
Фантастика:
боевая фантастика
попаданцы
рпг
5.00
рейтинг книги
Баоларг

Кодекс Охотника. Книга VIII

Винокуров Юрий
8. Кодекс Охотника
Фантастика:
фэнтези
попаданцы
аниме
5.00
рейтинг книги
Кодекс Охотника. Книга VIII

Измена. Право на счастье

Вирго Софи
1. Чем закончится измена
Любовные романы:
современные любовные романы
5.00
рейтинг книги
Измена. Право на счастье

Хозяин Теней

Петров Максим Николаевич
1. Безбожник
Фантастика:
попаданцы
аниме
фэнтези
5.00
рейтинг книги
Хозяин Теней

Бастард Императора. Том 2

Орлов Андрей Юрьевич
2. Бастард Императора
Фантастика:
фэнтези
попаданцы
аниме
5.00
рейтинг книги
Бастард Императора. Том 2

Неудержимый. Книга XX

Боярский Андрей
20. Неудержимый
Фантастика:
фэнтези
попаданцы
аниме
5.00
рейтинг книги
Неудержимый. Книга XX

Идеальный мир для Лекаря 27

Сапфир Олег
27. Лекарь
Фантастика:
аниме
фэнтези
5.00
рейтинг книги
Идеальный мир для Лекаря 27

Офицер

Земляной Андрей Борисович
1. Офицер
Фантастика:
боевая фантастика
7.21
рейтинг книги
Офицер

Мл. сержант. Назад в СССР. Книга 3

Гаусс Максим
3. Второй шанс
Фантастика:
альтернативная история
6.40
рейтинг книги
Мл. сержант. Назад в СССР. Книга 3

Барон не играет по правилам

Ренгач Евгений
1. Закон сильного
Фантастика:
фэнтези
попаданцы
аниме
5.00
рейтинг книги
Барон не играет по правилам

Паладин из прошлого тысячелетия

Еслер Андрей
1. Соприкосновение миров
Фантастика:
боевая фантастика
попаданцы
6.25
рейтинг книги
Паладин из прошлого тысячелетия

Купеческая дочь замуж не желает

Шах Ольга
Фантастика:
фэнтези
6.89
рейтинг книги
Купеческая дочь замуж не желает

Газлайтер. Том 10

Володин Григорий
10. История Телепата
Фантастика:
боевая фантастика
5.00
рейтинг книги
Газлайтер. Том 10

Отморозок 1

Поповский Андрей Владимирович
1. Отморозок
Фантастика:
попаданцы
5.00
рейтинг книги
Отморозок 1