Чтение онлайн

на главную - закладки

Жанры

Полный справочник птицевода
Шрифт:

К торцам кормушки желательно прикрепить кронштейны, на которые крепится вертушка – круглый черенок, который не позволяет птице сидеть на кормушке и влезать в нее ногами. При установке кормушек высота верхнего края должна находиться на уровне спины курицы. При такой высоте сокращается разброс корма. С этим же связан уровень заполнения кормушки кормом (от 1/3 до 1/2 ее высоты).

Для скармливания зеленой массы в выгульных двориках навешивают V-образные кормушки с решетчатой боковиной.

Отдельную кормушку отводят под раздачу минеральных подкормок. Ее изготавливают в виде плоского ящика произвольного размера. В ней постоянно должны находиться измельченные мел, ракушка, а также мелкий гравий или крупнозернистый песок.

Кормушки разных типов

Поилки

Поилками для кур могут быть любые емкости, обеспечивающие свободный доступ к воде и чистоту. Лучшим устройством для поения являются желобовые металлические поилки со штуцерами с каждой стороны для использования под проточное поение.

Для предотвращения разбрызгивания воды на подстилку поилки устанавливают на металлических поддонах.

Поилка для молодняка птицы до 10-дневного возраста состоит из двух частей: металлического резервуара для воды и тазика-поддонника. В резервуаре у края делают отверстие размером 1 см, через которое вода поступает в тазик по мере того, как молодняк ее выпивает. Резервуар дна не имеет, а верхнюю часть его делают в виде конуса, для того чтобы молодняк не залетал на него и не загрязнял воду. Поилки лучше изготовлять из листового оцинкованного железа с хорошо пропаянными

швами. Поилку ставят на кирпичи, положенные плашмя.

Поилка для молодняка птицы старше 10-дневного возраста состоит из трех частей: металлического резервуара для воды, деревянной решетчатой подставки и металлического противня. Крышку резервуара делают подъемной, на петлях. Под подставкой устанавливают металлический противень для сбора воды, пролитой птицей. В отличие от утят и гусят, цыплята не проливают воду на пол, поэтому при изготовлении поилок для них решетчатые подставки и противни можно не делать. Резервуар и противень изготовляют из оцинкованного железа. Края поилки и крышки вставляют под проволоку.

Поилки разных типов

Поилку можно изготовить из досок в виде треугольника или из цементной или гончарной трубы, распилив ее вдоль на две равные части. Из проточной поилки вода должна поступать в утепленную сточную яму, которую устраивают возле птичника. Поилку можно сделать с электроподогревом. Для этого используют электроподогреватель воды на 20, 60 и 100 Вт (соответственно на 10, 50 и 100 л воды), который опускают в поилку.

Электрооборудование для обогрева молодняка

Электроподогреватель представляет собой колбу-пробирку длиной 12–15 см, в которую вмонтирована нихромовая спираль. К концам спирали припаян изолированный шнур с вилкой для включения в электрическую сеть. Воду подогревают до нужной температуры. Простой способ предохранения воды от замерзания – обертывание ведра-поилки изоляционным материалом и подливание теплой воды. Можно также погрузить в воду деревянный кружок несколько меньшего диаметра, чем ведро. Кружок, плавая, не дает воде замерзнуть. В нем следует сделать 3–4 круглых отверстия, через которые птица будет пить воду.

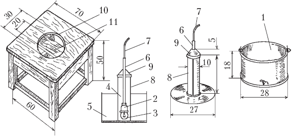
Как сделать поилку с электроподогревом.

Поилку с электроподогревом можно сделать самостоятельно. На схеме изображена поилка с электроподогревом, а также даны ее размеры. Такие устройства рекомендуются для зимы.

Кормушки и поилки для цыплят: а – вакуумная поилка: 1 – емкость для воды; 2 – отверстие для вытекания воды; 3 – подставка; 4 – миска; б – лотковая кормушка

Поилка с электрообогревом: 1 – оцинкованное ведро; 2 – патрон для электролампы; 3 – лампа мощностью 10 ватт; 4 – сухой песок; 5 – вода; 6 – шланг резиновый; 7 – электропровод; 8 – цилиндр из оцинкованной листовой стали (швы пропаяны); 9 – крышка съемная из оцинкованной листовой стали; 10 – гнездо для ведра; 11 – подставка для ведра (доска, прибитая гвоздями к крышке столика)

Насесты

Так как почти половину суток, а зимой и более, птице приходится обитать в птичнике, необходимы условия для ночного отдыха – насесты.

Куры чувствуют себя спокойнее, когда насесты расположены горизонтально. Не приходится бороться за более высокие ряды, в отличие от наклонных насестов. Зооветеринарными нормами на одного обитателя птичника предусмотрено 18– 20 см бруска при условии, что расстояние между ними 30–35 см. Поперечное сечение бруска должно быть в пределах 5×5 см, с овальным округлением его верхней, рабочей, части. Тогда птицы, умостившись на насест, плотно его обхватывают и чувствуют себя удобно и во время сна. От падения они гарантированы. Насесты устанавливают на высоте 60 см на подпорках таким образом, чтобы их можно было приподнимать и крепить к стене во время уборки.

Гнезда

Для яйцекладки каждая наседка старается уединиться. Нередко курица заскакивает в птичник перед самым несением. Ждать некогда, необходимо свободное гнездо. Если его не оказывается, яйцо откладывается прямо на подстилку.

Гнезда для кур

Специалистами-куроводами установлено, что обсемененность патогенными микробами яиц, снесенных на подстилке, в 20–30 раз выше, чем в гнездах, а выводимость из этих яиц на 20% ниже. Чтобы избежать этих неприятностей, каждые пять несушек должны иметь отдельное гнездо.

Гнезда для кур устраивают на высоте 50–60 см от пола. Высоко расположенные гнезда способствуют появлению яиц с мясными и кровяными включениями внутри. Изготавливают гнезда из фанеры или теса, размерами 30×35×35 см и, располагают их в защищенном от прямых солнечных лучей и посторонних глаз месте либо одной, либо несколькими линиями, либо в виде шкафчика. Потребность гнезд в птичнике – одно на 5–6 несушек. В гнезда укладывают мягкую солому или стружку, которые по мере загрязнения обновляют. У входа в гнездо устраивают порожек, чтобы не терлась подстилка, а перед гнездами устраивают планку для взлета. Яйца из гнезд собирают через каждые 2 часа в период наиболее интенсивной яйцекладки (с 10 до 13 часов), зимой – чаще.

Грелка для цыплят

Для обогрева молодняка птицы в начале выращивания применяют различные нагревательные приборы. Но, к сожалению, многие из них небезопасны: довольно часто бывают случаи возгораний.

Предлагаем смастерить эффективную, дешевую и безопасную грелку для цыплят. Ее можно соорудить за считанные минуты.

Самодельная грелка

Необходимо взять стеклянную литровую банку с полиэтиленовой крышкой. В крышке прорезать отверстие по размеру резьбы электропатрона. Патрон нужно раскрутить и между верхней и нижней его частями вставить крышку, а затем снова его скрутить. Затем нужно ввинтить лампочку на 15–25 Вт, накрыть крышкой с лампой банку и включить в сеть.

Лазы

Для выхода птицы из помещения в выгульный дворик устраиваются лазы на высоте 5–8 см от пола размерами 40×40 см. В приусадебных хозяйствах достаточно одного лаза, для фермерских хозяйств – 1 на 125 голов. Снаружи лазы оборудуют дверцами.

Зольно-песочные ванны

Для песочно-зольных ванн устраивают произвольных размеров ящик из металла или дерева высотой не более 20 см. В него засыпают сухие песок и золу в равных количествах. Пользование такими ваннами способствует изгнанию эктопаразитов с тела птицы.

Вольеры

Около птичника с южной стороны оборудуют легкого вида солярий (выгул), огороженный оцинкованной сеткой высотой 1,8–2 м. Сверху устраивают теневые навесы. Площадь выгульного дворика должна составлять не менее половины площади птичника. Иногда в выгуле оборудуют насесты. При огораживании соляриев желательно натянуть поверху сетку, препятствующую залету свободно живущей птицы, которая может быть источником инфекции.

Инструменты для уборки помещений

Применяются в основном в малых птичниках, где сложно организовать механизированную уборку. Это скребки, вилы, лопаты, грабли, метлы.

Системы содержания кур

Существуют две системы содержания кур: выгульная и безвыгульная . При выгульной системе куры располагаются в птичнике на насестах или на сетчатых (планчатых) полах с использованием ограниченных (вольеров) или неогражденных выгулов.

При безвыгульном содержании птица постоянно содержится в закрытых помещениях: в клетках, на полу с глубокой несменяемой подстилкой или без нее – на сетчатых или планчатых полах.

Напольное содержание с использованием выгулов дает возможность птице постоянно находиться в активном движении, подвергаться ультрафиолетовому облучению солнечными лучами, вдыхать свежий воздух. Все это обеспечивает нормальный обмен веществ в организме, укрепляет здоровье, способствует устойчивости к заболеваниям, продлевает хозяйственные сроки использования птицы. Кроме того, от птицы, пользующейся выгулами, получают продукцию более высокого качества. Яйца такой птицы отличаются более полным содержанием комплекса витаминов, имеют хорошие инкубационные

качества; из них получают кондиционный суточный молодняк с высокими жизненными задатками: он лучше сохраняется и развивается.

Более интенсивным способом содержания кур считается клеточное: в три-четыре раза увеличивается уровень использования производственных помещений; полнее выдерживаются санитарно-гигиенические требования, что позволяет получать чистое яйцо. Облегчается и упрощается уход за птицей и контроль за ее состоянием: ее легко можно достать из клетки и осмотреть. Клеточное содержание требует меньших затрат кормов на производство яиц и получение привесов.

Но такое содержание имеет и свои отрицательные стороны: из-за ограниченных возможностей двигаться укорачиваются сроки продуктивного использования птицы, снижается устойчивость к воздействиям окружающей среды, птица чаще подвергается стрессовым факторам.

Наиболее доступным методом при содержании кур на приусадебном участке является содержание на глубокой несменяемой подстилке.

Кур всех пород (кроме яйценоских и мясных гибридов, не нуждающихся в выгулах, но находящихся в постоянных климатических условиях) необходимо выпускать на выгульную площадку. Климатические условия наиболее влияют на яичную продуктивность, поэтому при выборе породы для получения пищевых яиц рекомендуется учитывать пригодность ее в данном регионе.

Для содержания кур мясо-яичных пород используют напольную систему содержания, иногда – клеточную.

Содержание на глубокой подстилке

Закладывать подстилочный материал в птичнике надо в сухую погоду перед посадкой новой партии птицы. Для этого пол помещения очищают, дезинфицируют и посыпают сухой гашеной известью из расчета 0,5–1 кг на 1 м2. После этого настилают сухую подстилку. Для образования глубокой подстилки ее насыпают вначале слоем в 5–7 см, а затем постепенно добавляют свежий слой до нужной толщины (25–30 см) или же подстилочный материал закладывают сразу на весь период содержания птицы.

Правильно заложенная глубокая подстилка всегда рыхлая и теплая. Осенью и зимой ее температура на глубине 3–4 см составляет 12–18 °С, а на глубине 15–25 см – 20–28 °С.

Доброкачественная подстилка должна быть сухой (влажность до 20%), обладать высокой влагоемкостью, гигроскопичностью, бактерицидностью, низкой теплопроводностью. Она не должна содержать крупных механических примесей, токсических веществ и плесени. Этим требованиям отвечают древесные опилки, стружка, солома, мякина, торф, сухая древесная листва, подсолнечниковая лузга, измельченные стержни початков кукурузы. Опилки в большинстве случаев имеют высокую влажность, поэтому перед использованием их нужно просушить. Солому рекомендуется измельчать на частицы длиной до 3 см. Она должна быть чистой, блестящей, с хорошим запахом. Хорошая подстилка получается из торфа. Его можно использовать как в чистом виде, так и в смеси с другими подстилочными материалами (солома, стружка, опилки). Слой торфа в птичнике насыпают от 5 до 10 см и более и доводят постепенно до 35 см. Для подстилки, особенно в летний период, можно применять также крупнозернистый сухой песок. Слой песка должен быть 15–20 см. При уплотнении такую подстилку периодически рыхлят.

Для правильного созревания подстилку периодически ворошат вилами, поддерживают слой рыхлым.

Глубокая подстилка обладает положительными свойствами. В процессе ее созревания выделяется много тепла (зимой до 14– 15 ккал/м2 в час). В ней образуется достаточное количество витамина В12. Своей температурой она обеззараживает болезнетворные микроорганизмы, задерживает гнилостное разложение помета, служит хорошим теплоизоляционным материалом. Выделяемое глубокой подстилкой тепло составляет 15–30% общей теплопродукции птицы.

Но подстилка может иметь и отрицательные последствия, если не выдерживать технологию ее закладки и содержания. При избыточной сырости и плесени в подстилке птица может заболеть аспергиллезом или болезнями верхних дыхательных путей.

Особой проблемой с применением глубокой подстилки являются аммиачные выделения, что, при недостаточной вентиляции, вызывает у птицы поражение респираторных органов и органов зрения. Частично нейтрализовать выделение аммиака возможно суперфосфатом. На 1 м2 пола посыпают 400 г простого или 200 г двойного суперфосфата.

Смена глубокой подстилки производится раз в год при замене поголовья. На год взрослой курице требуется 8–10 кг сухой подстилки.

Клеточное содержание

Клеточная батарея предназначена для содержания 20 кур-несушек, разделена на 4 секции – по пять кур в каждой. Ее размеры: ширина – 182,6 см, глубина – 63 см, высота – 60 см. Каркас клетки изготовлен из металлического уголка, стороны обтянуты оцинкованной сеткой.

На передней стенке клетки установлена кормушка. Желобковая поилка проходит внутри клетки у верхней части вдоль всей ее длины. Односкатный сетчатый пол с передней стороны выполнен в форме желоба, куда скатываются куриные яйца.

Клетки устанавливают на подставки с противнями для сбора помета под клеткой. Клетки можно блокировать в ярусы, при этом противни верхних ярусов устанавливаются на крыши нижних. В эксплуатации эти клетки показали высокую надежность и эффективность.

Содержание на сетчатых (планчатых) полах

В данном случае полы изготавливают из рам шириной 1– 1,5 м и длиной до 2 м. На такую раму натягивается и крепится крупноячеистая оцинкованная сетка или деревянные планки. Сетку снизу поддерживают продольные и поперечные планки, расположенные на расстоянии 30–40 см друг от друга. Готовые рамы устанавливают вдоль стены на подставки высотой 40– 80 см от пола. Если пол в помещении деревянный, под рамами его оббивают листами оцинкованного железа или изготавливают поддоны – короба для сбора помета.

Выгулы

Для свободного выпуска птицы подходят сад, огород, ягодники и виноградники. Куры поедают семена и ростки сорняков, а также истребляют большое количество личинок, червей, слизней. Ограничить выгул кур в огородах необходимо только во время всхода культурных растений, так как птица может склевать молодую ботву.

Уход за птицей

После подготовки птичника к заселению первыми, за несколько часов, запускают петухов, затем помещают молодок. Помещение не открывают, дают возможность птицам переночевать. На выгул выпускают со следующего утра. К этому времени новоселы уже привыкнут и свободно будут посещать птичник и размещаться на ночлег.

Нельзя размещать в одном помещении разновозрастную птицу, особенно если до этого она содержалась раздельно.

С целью рационального использования кур следует производить выбраковку плохих несушек. Для этого птицу осматривают раз в 7–10 дней. Лучше это делать в вечернее время, когда куры сидят на насестах. В темноте узким лучом фонарика высвечивают кур и прощупывают – несется курица или нет.

Чем выше яйценоскость в стаде кур, тем больше внимания нужно уделять полноценному кормлению. Кормушки необходимо ставить как на выгулах, так и в домиках, чтобы птица имела постоянный доступ к кормам.

Приобретение и перевозка

Лучшим возрастом для приобретения кур является возраст 120–130 дней, когда развитие молодняка уже завершилось и внешние формы тела могут подсказать о потенциальной возможности особи как несушки. При покупке необходимо обращать внимание на темперамент птицы, пигментацию гребня, сережек, кожного покрова ног. Здоровая, хорошо развитая птица имеет ярко-красные гребень и сережки, желтые ноги. С возрастом кожа ног становится бледной в силу расходования с яйцом красящего пигмента. Посинение гребня и сережек, выделения из носа, припухлости век, хрип в горле, откашливание, деформированные суставы ног, отвислые крылья и пр. подобные признаки говорят о болезни птицы.

Ящики-клетки для перевозки цыплят

Зеркалом здоровья птицы является состояние перьевого покрова. Оперение должно быть чистым, блестящим, плотно прилегать к туловищу. Также обращают внимание на упитанность птицы: чересчур худая или упитанная птица будет плохо нестись.

Перевозить кур на небольшие расстояния можно в корзинах, мешках, или в специально оборудованных ящиках-клетках для перевозки птицы.

Карантин

Вновь приобретенную птицу выдерживают месяц в карантине: содержат в отдельном помещении, не давая общаться с остальным поголовьем, следят за ее поведением и состоянием, поеданием корма и видом помета. При каких-либо отклонениях от нормы птицу показывают ветеринарному врачу.

Разведение кур. Выращивание молодняка

Отбор птицы на племя

В фермерских хозяйствах несушек содержат один продуктивный год или до полуторагодичного возраста. Кроме снижения яйцекладки, с возрастом повышается вероятность болезней, к тому же при большой концентрации поголовья повышается смертность.

В личных подворьях, где птицы немного, этими возрастными свойствами часто пренебрегают, оставляют на второй и, нередко, третий год продуктивности.

Недобор яиц от переярой и старой птицы (соответственно второго и третьего года использования) компенсируют экономией кормов на выращивании ремонтного молодняка. Однако необходимо соблюдать одно условие – ежегодно проводить перед зимним периодом индивидуальную оценку продуктивных качеств кур.

Поделиться:
Популярные книги

Кодекс Крови. Книга ХIII

Борзых М.
13. РОС: Кодекс Крови
Фантастика:
попаданцы
аниме
фэнтези
5.00
рейтинг книги
Кодекс Крови. Книга ХIII

Черный Маг Императора 7 (CИ)

Герда Александр
7. Черный маг императора
Фантастика:
фэнтези
попаданцы
5.00
рейтинг книги
Черный Маг Императора 7 (CИ)

Горизонт Вечности

Вайс Александр
11. Фронтир
Фантастика:
боевая фантастика
космическая фантастика
космоопера
5.00
рейтинг книги
Горизонт Вечности

Как я строил магическую империю 7

Зубов Константин
7. Как я строил магическую империю
Фантастика:
попаданцы
постапокалипсис
аниме
фантастика: прочее
5.00
рейтинг книги
Как я строил магическую империю 7

Место для битвы

Мазин Александр Владимирович
2. Варяг
Фантастика:
альтернативная история
9.15
рейтинг книги
Место для битвы

Сержант. Назад в СССР. Книга 4

Гаусс Максим
4. Второй шанс
Фантастика:
попаданцы
альтернативная история
5.00
рейтинг книги
Сержант. Назад в СССР. Книга 4

Скандальный развод, или Хозяйка владений "Драконье сердце"

Милославская Анастасия
Фантастика:
попаданцы
фэнтези
5.00
рейтинг книги
Скандальный развод, или Хозяйка владений Драконье сердце

Идентификация

Уленгов Юрий
3. Гардемарин ее величества
Фантастика:
попаданцы
альтернативная история
аниме
5.00
рейтинг книги
Идентификация

Мл. сержант. Назад в СССР. Книга 3

Гаусс Максим
3. Второй шанс
Фантастика:
альтернативная история
6.40
рейтинг книги
Мл. сержант. Назад в СССР. Книга 3

Три `Д` для миллиардера. Свадебный салон

Тоцка Тала
Любовные романы:
современные любовные романы
короткие любовные романы
7.14
рейтинг книги
Три `Д` для миллиардера. Свадебный салон

На границе империй. Том 7. Часть 2

INDIGO
8. Фортуна дама переменчивая
Фантастика:
космическая фантастика
попаданцы
6.13
рейтинг книги
На границе империй. Том 7. Часть 2

Светлая. Книга 2

Рут Наташа
2. Песни древа
Фантастика:
постапокалипсис
рпг
фэнтези
5.00
рейтинг книги
Светлая. Книга 2

Бастард Императора. Том 6

Орлов Андрей Юрьевич
6. Бастард Императора
Фантастика:
городское фэнтези
попаданцы
аниме
фэнтези
фантастика: прочее
5.00
рейтинг книги
Бастард Императора. Том 6

Газлайтер. Том 2

Володин Григорий
2. История Телепата
Фантастика:
попаданцы
альтернативная история
аниме
5.00
рейтинг книги
Газлайтер. Том 2