Чтение онлайн

на главную - закладки

Жанры

Ружья, мушкеты и пистолеты Нового Света. Огнестрельное оружие XVII-XIX веков
Шрифт:

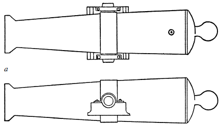
Позднейшие торговые партии сделали регулярной практикой установку легких орудий на носу своих килевых судов и на брустверах или в блокгаузах своих фортов. Не так уж много из этих старых орудий дошло до наших дней. В собрании Исторического общества Миссури в городе Сент-Луис имеется бронзовый экземпляр орудия, изображенного на рис. 50, а. Его ствол калибра 2 дюйма имеет в длину 36 дюймов. Он был отлит А. Фултоном из города Питсбурга в Пенсильвании около 1839 года и был доставлен на судах Американской меховой компании Джона Джекоба Астора в верховья Миссисипи для обороны против нападений индейцев и для сигнализации о прибытии судов к торговому посту. Вероятно, здесь он был установлен на лафет, подобный изображенному на рис. 50, б, или аналогичному у орудия из форта Нискуалли, изображенному

на рис. 55.

Еще до того, как его компания приступила к активной деятельности на Миссури, Астор оснастил свои представительства на реке Колумбии вертлюжными орудиями и четырехфунтовками, пригодными для применения с речных судов и для установки на колесные лафеты. Росс повествует, что летом 1813 года люди Астора разделились, чтобы провести последнюю инспекцию периферийных отделений фирмы – «Шевхапс, Спокан, Уоллейметт, Оканагон и Снейк», – прежде чем распустить его компанию. На пути вверх по течению Колумбии они столкнулись с большим отрядом индейцев – около 2 тысяч человек на 174 каноэ – поблизости от места современного города Уолла-Уолла. Старый вождь индейцев Таммеатапам, всегда дружески настроенный к людям Астора, все же убеждал их повернуть назад из-за враждебного отношения своих людей. «Но мы пригласили его подняться на борт одного из наших судов и продемонстрировали ему медное четырехфунтовое орудие, несколько ручных гранат и ракет». После этого белым было позволено подняться в верховья реки без всякого сопротивления. «Мы поняли, что на решение Таммеатапама в значительной степени повлияла наша большая пушка».

Рис. 50. Судовое орудие Американской меховой компании: а – две проекции бронзового судового орудия Американской меховой компании длиной 36 дюймов, использовавшегося на реке Миссури. Калибр приблизительно 2 дюйма; б – обычный способ установки легкого орудия на колесном лафете при использовании с речных судов. При отсутствии надежных тросов взамен применялись стебли конопли. На реках Огайо и Миссисипи с этой же целью порой применялись волокна из коры азимины

В декабре 1813 года, после продажи Астории, Росс со своей охотничьей партией спустился по течению Колумбии, следуя в недавно построенный форт Джордж. «У начала Каскадов [36] , места, всегда известного своими плохими обитателями, мы встали лагерем на ночь и всю ночь почти не спали из-за улюлюканья и криков дикарей, которые бродили среди деревьев вокруг нас… В конце концов мы дали по зарослям несколько выстрелов из трехфунтовки, что заставило их держаться подальше от нас».

36

Имеется в виду ряд каскадных водопадов на реке Колумбии.

Вскоре после неприятностей, постигших людей Астора (в январе 1814 года), новые владельцы компании – Британская Северо-Западная компания отправила экспедиционный отряд вверх по течению Колумбии с заданием эвакуировать все запасы для внутренних районов страны. Отряд подвергся нападению и был ограблен как раз в районе Каскадов. В качестве ответной меры Мактейвиш возглавил сильно вооруженный отряд для «зачистки» беспокойного района. «Кроме обычного вооружения и снаряжения мы взяли с собой два тяжелых орудия, шесть вертлюжных орудий, абордажные сабли, ручные гранаты и наручники, – писал впоследствии он, – причем большей частью все это было получено со складов Астора». Обстоятельства не позволили осуществить репрессии в отношении виновных индейцев, несмотря на превосходство в вооружении.

Отдельные позиции в архивах Компании Гудзонова залива, относящиеся к началу XIX века, ясно свидетельствуют, что ее суда на реке Атабаске и в других канадских водах обычно были оснащены легкими орудиями. Упоминания об этих орудиях как о «мортирах» отнюдь не обязательно соответствуют тому, что ныне технически понимается под мортирами или минометами.

Колесные

орудия в охотничьих угодьях

Поскольку орудие Уильяма Эшли образца 1827 года стало первым колесным артиллерийским средством, которое пересекло горы в своем движении на север, «большая пушка» гаубичного типа торговцев пушниной получила куда большую известность, чем вертлюжные орудия на судах или те орудия, которые устанавливались в фортах.

Самое первое упоминание о колесном орудии на Западе встречается в дневнике Александра Генри. Будучи в 1808 году на реке Панбиан, он записал: «Получил колесный лафет, сделанный для моей мортиры», и добавил, что погрузил это орудие вместе с фунтом пороха и тридцатью шрапнельными пулями. Выстрел производился от запального фитиля. Применялось практически при отражении нападения индейцев сиу. Александр Росс, поступив на службу в Компанию Гудзонова залива и действуя на Колумбии в 1824 году, взял с собой большую медную пушку, установленную на колесном лафете восточнее Спокейн-Хаус. Его отряд отправился сухопутным маршрутом в район восточнее Скалистых гор для охоты на буйволов и промысла лесного зверья с помощью капканов. Они шли по тропе, которая провела их мимо мест селений индейцев около нынешних городов Бьютт и Миссоула и вывела в район нынешних Де-Смет и Кутенэй. На реке Хелл-Гейт в их лагере побывали восемь индейцев пикуни. «Когда пикуни выходили из лагеря, в их честь был дан салют из медной пушки, «чтобы просто показать», объяснил он, «что она дает сильный звук». На том же самом маршруте в июне 1824 года отряд индейцев похитил двух членов экспедиции Росса в то время, когда они расставляли капканы на берегах реки Снейк. Похищенных заставили провести индейцев к основному лагерю охотничьей группы Компании Гудзонова залива. Когда они подошли к лагерю, Росс «мгновенно направил на них большую пушку, запалил фитиль и отослал женщин прочь. Отряд индейцев оказался у нас в виду. Увидев среди них Джона, Росс удержал мою руку с фитилем». Охотники отряда Росса заняли круговую оборону, но несколько позже успокоились и позволили индейцам войти в лагерь и заночевать в нем. «Утром я одарил индейцев щедрыми подарками, попрощался с ними и посоветовал не пытаться устроить нам какую-нибудь западню, так как мы обязательно их найдем и покараем. Большая пушка сделает это». Орудие английской работы было доставлено на Колумбию по воде.

Знаменитое орудие на колесном лафете, которое впервые проделало путь на своих колесах по горным перевалам, изображено на рис. 51. На нем представлено орудие Уильяма Х. Эшли, двигающееся на запад страны в 1827 году. В письме, направленном в военное министерство в марте 1829 года, Эшли сообщал:

«В марте месяце 1827 года я собрал отряд численностью в шестьдесят человек, поставил на колесный лафет артиллерийское орудие (четырехфунтовку), которое тянули два мула. Отряд проделал путь до окрестностей Большого Соленого озера по другую сторону Скалистых гор, оставался там примерно один месяц, на обратном пути сделал остановку на пятнадцать дней [место не указано] и вернулся в Лексингтон в западной части Миссури в сентябре, где отряд обнаружил, что для дальнейшего движения ему надо было иметь другое оснащение. После этого отряд вернулся (используя тех же лошадей и мулов) по горным тропам к концу ноября того же года».

Вскоре после этого рискованного предприятия с колесным орудием в непролазных дебрях соратники Джорджа Найдевера, отправлявшиеся на Арканзас, усилили свое вооружение подобным колесным орудием. Отряд находился на расстоянии 725 километров от фактории форта Смит на северном берегу реки Арканзас, когда он был окружен воинами индейцев пауни. Впоследствии Найдевер писал: «У нас было легкое орудие, и, зарядив его 60 картечинами, мы выстрелили из него в направлении наших врагов, после чего они прекратили обстрел».

Смит, Джексон и Саблетт были, по всей видимости, вдохновлены опытом своего похода под командой Эшли с орудием в 1827 году, поскольку в злополучное путешествие в Санта-Фе они взяли с собой установленную на лафет и возимую в фургоне легкую пушку. Из города Индепенденс на Миссури в поход выступило восемьдесят пять человек и двадцать три фургона. Десять фургонов принадлежали Джексону и Саблетту, десять – Миллсу и Чедвику, один – мистеру Флурною, а еще «один находился в совместном владении Смита, Джексона и Саблетта и перевозил легкое полевое орудие, закрепленное на задней оси. Фургон был сконструирован таким образом, что можно было легко расстыковать заднюю ось с артиллерийским орудием, которое можно было быстро развернуть в сторону неприятеля, – и орудие изготовлено к стрельбе».

Поделиться:
Популярные книги

Измена. Тайный наследник

Лаврова Алиса
1. Тайный наследник
Фантастика:
фэнтези
5.00
рейтинг книги
Измена. Тайный наследник

Громовая поступь. Трилогия

Мазуров Дмитрий
Громовая поступь
Фантастика:
фэнтези
рпг
4.50
рейтинг книги
Громовая поступь. Трилогия

Купеческая дочь замуж не желает

Шах Ольга
Фантастика:
фэнтези
6.89
рейтинг книги
Купеческая дочь замуж не желает

Законы Рода. Том 12

Андрей Мельник
12. Граф Берестьев
Фантастика:
юмористическое фэнтези
аниме
фэнтези
5.00
рейтинг книги
Законы Рода. Том 12

Инженер Петра Великого 3

Гросов Виктор
3. Инженер Петра Великого
Фантастика:
попаданцы
альтернативная история
5.00
рейтинг книги
Инженер Петра Великого 3

Отверженный VII: Долг

Опсокополос Алексис
7. Отверженный
Фантастика:
городское фэнтези
альтернативная история
аниме
5.00
рейтинг книги
Отверженный VII: Долг

Печать мастера

Лисина Александра
6. Гибрид
Фантастика:
попаданцы
технофэнтези
аниме
фэнтези
6.00
рейтинг книги
Печать мастера

(Не)свободные, или Фиктивная жена драконьего военачальника

Найт Алекс
Любовные романы:
любовно-фантастические романы
5.00
рейтинг книги
(Не)свободные, или Фиктивная жена драконьего военачальника

Переиграть войну! Пенталогия

Рыбаков Артем Олегович
Переиграть войну!
Фантастика:
героическая фантастика
альтернативная история
8.25
рейтинг книги
Переиграть войну! Пенталогия

Убивать чтобы жить 4

Бор Жорж
4. УЧЖ
Фантастика:
боевая фантастика
рпг
5.00
рейтинг книги
Убивать чтобы жить 4

Газлайтер. Том 16

Володин Григорий Григорьевич
16. История Телепата
Фантастика:
боевая фантастика
попаданцы
аниме
5.00
рейтинг книги
Газлайтер. Том 16

Япона осень

Сухов Лео
6. Антикризисный Актив
Фантастика:
героическая фантастика
попаданцы
5.00
рейтинг книги
Япона осень

Кодекс Крови. Книга ХI

Борзых М.
11. РОС: Кодекс Крови
Фантастика:
попаданцы
аниме
фэнтези
5.00
рейтинг книги
Кодекс Крови. Книга ХI

Черный дембель. Часть 5

Федин Андрей Анатольевич
5. Черный дембель
Фантастика:
попаданцы
альтернативная история
5.00
рейтинг книги
Черный дембель. Часть 5