Чтение онлайн

на главную - закладки

Жанры

Шрифт:

В конструкцию двух этих важнейших элементов сантехники внести какие-либо существенные изменения невозможно. Все новшества касаются только дизайна и способа подключения водоразборной арматуры. Так, в некоторых мойках и раковинах предусмотрено раздельное крепление излива крана и его управляющих рукояток. Понятно, что стандартный смеситель на них установить сложно. Некоторые мойки имеют в полочке два достаточно далеко разнесенных отверстия, поэтому приладить к ним смеситель с двумя отдельными патрубками невозможно – это мойка для современного однокорпусного или монокомандного смесителя. Второе монтажное отверстие предусмотрено для установки распылителя (дополнительного приспособления,

подготовку воды для которого осуществляет смеситель). Одноручковый смеситель для такой мойки должен иметь специальный патрубок со шлангом и адаптером для питания распылителя, а также рычаг переключения «излив/распылитель».

Выбирая для ванной комнаты керамическую или фаянсовую раковину с одним монтажным отверстием в полочке, обращают внимание, имеет ли та с обратной (нижней) стороны специальные наколы под подводящие патрубки традиционного смесителя.

В противном случае придется либо обойтись без душевого шланга, чей излив не дотянется до ванны, либо приобреcти все же не самый дешевый смеситель с джойстиком, который требует отдельного агрегата для ванной, либо мириться с зияющей в ослепительном фаянсе дыркой, установив на стене традиционный общий смеситель с горизонтальной подводкой.

Ванны и душевые поддоны

Душ вместо ванны в квартирах современной постройки уже не устанавливают, разве что только как дополнительное оборудование. Тем не менее многим еще приходится довольствоваться эмалированным чугунным ПМ (поддон мелкий) или ПГ (поддон глубокий). Стандартных размеров два: 1,5 х 1,2 и 0,9 х 0,9 м. По материалу изготовления душевой поддон может быть эмалированным, стальным или пластиковым.

Чугунные ванны бывают маленькими – 1,2 х 0,7 х 0,65 м (сидячая СВ), побольше – 1,5 х 0,7 х 0,6 м (прямобортная облегченная ПВ-0) и даже – верх комфорта в недавнем прошлом – ПВ-2 с габаритами 1,8 х 0,75 х 0,62 м.

В наше время все уже не так строго, и организации-застройщики могут даже в самом обычном типовом доме установить не только тяжелые чугунные, но и стальные (в размерах возможны варианты) и даже современные пластиковые ванны отечественного производства. Если есть доступ на стройплощадку на стадии установки оборудования, а также возможность выбора, не следует отказываться от пластика в пользу стали. Следует помнить, что в стальной ванне вода остывает очень быстро, а пластиковая держит тепло не хуже чугунной. Изготовленная из акрилового полимера, армированного стальной сеткой, пластиковая ванна намного прочней, чем кажется на первый взгляд, к тому же она не потребует в будущем сложных операций по восстановлению нарушенной эмали: у пластиковой ванны ее просто нет, сам же материал достаточно легко полируется (только не следует использовать абразивы).

Унитазы и смывные бачки

Вариантов исполнения унитаза бывает всего несколько. По способу подключения бачка это либо унитазы с полочкой – у них бачок крепится непосредственно на корпусе, либо без нее – у таких унитазов соединение с бачком выполняется резиновой манжетой. Сейчас смывные бачки устанавливают отдельно от унитаза только в особых случаях, например когда этого требует дизайн ванной комнаты.

Полочка унитаза может быть отлита вместе с корпусом или же выполнена как отдельная деталь: в этом случае для подсоединения бачка также используется манжета.

Различаются унитазы также положением и направлением выпуска. Бывают унитазы с косым и с прямым выпуском, у последних соединение с канализационной трубой вертикальное.

Унитазы с косым выпуском для подключения к стояку требуют отдельной арматуры и трубопровода для стока, проложенного от места соединения к стояку. Самыми

практичными следует признать унитазы с цельнолитой полочкой и низко расположенным бачком. В таких унитазах исключается возможность поломки полочки, а также прорыва манжеты, которой здесь просто нет.

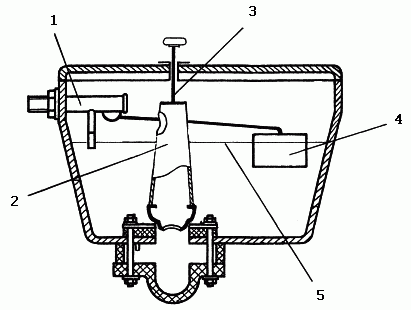
Несколько больше разнообразия есть в конструкциях бачков (рис. 28). Они бывают с нижней или боковой подводкой воды, с той или иной конструкцией поплавкового клапана, могут быть выполнены из сантехфаянса, керамики или пластмассы. Последние легче и меньше нагружают полочку. Как бы сложно ни был устроен смывной бачок, принцип его действия одинаков – создавать определенный запас воды, осуществлять слив и автоматически прекращать подачу воды по наполнении бачка.

Рис. 28. Основные элементы конструкции смывного бачка: 1 – поплавковый клапан; 2 – груша, совмещенная с переливом; 3 – тяга; 4 – поплавок; 5 – уровень воды

Показанный на схеме вариант исполнения бачка с боковой подводкой воды имеет перелив, выполненный в едином блоке с грушей.

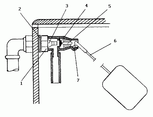
В более сложных по устройству системах перелив сделан отдельным элементом и представляет собой воронку с горловиной, находящейся чуть выше нормального уровня воды в заполненном бачке. Назначение перелива – служить для аварийного сброса воды в унитаз в случае поломки поплавкового клапана.

Груша может быть резиновой или пластиковой, а поплавок, выполненный в большинстве современных моделей унитаза из пластмассы (прежде встречались поплавки из латуни), должен быть абсолютно герметичным, чтобы не нарушить при своем затоплении регулировку поплавкового клапана. Тяга обычно изготовляется из медной или латунной проволоки, так как эти материалы не ржавеют. Подводку воды осуществляют гибким резиновым шлангом в оплетке или пластиковым, без нее, с креплением пластмассовыми накидными гайками. Последний вариант подводки менее надежен, чем прочный шланг в оплетке, имеющий накидные гайки из стали или латуни, снабженные кольцевыми уплотнителями.

Поплавковый клапан в сборе с поплавком – самый сложный элемент конструкции бачка (рис. 29). Он может быть регулируемым или нерегулируемым. Вообще, в по-следнее время в конструкциях поплавковых клапанов наблюдается заметное разнообразие. Как устроен клапан бачка, можно узнать, подняв его крышку. Тот или иной вариант исполнения должен обеспечить выполнение клапаном его основной задачи – поплавковый клапан должен автоматически управлять поступлением воды, а также надежно перекрывать воду, как только требуемый уровень будет достигнут. Принципиальная схема поплавкового клапана показана на рисунке.

Рис. 29. Устройство поплавкового клапана: 1 – прижимная шайба; 2 – прокладка; 3 – седло; 4 – мембрана; 5 – стержень; 6 – рычаг поплавка; 7 – ось рычага

После спуска воды поплавок, опускаясь вслед за ней посредством рычага, подвижно закрепленного на оси, снимает давление со стержня-толкателя. Тот, в свою очередь, позволяет мембране отойти от седла под действием напора воды, и она (вода) начинает поступать в бачок.

Поплавок, поднимаясь вместе с ней, давит рычагом на стержень толкателя, который передает усилие на мембрану, заставляя ее плотно прижаться к седлу и перекрыть таким образом поступление воды. После следующего сброса воды весь цикл повторяется. По той же схеме действуют и все другие типы поплавковых клапанов.

Поделиться:
Популярные книги

Медиум

Злобин Михаил
1. О чем молчат могилы
Фантастика:
фэнтези
7.90
рейтинг книги
Медиум

Имя нам Легион. Том 15

Дорничев Дмитрий
15. Меж двух миров
Фантастика:
боевая фантастика
рпг
аниме
5.00
рейтинг книги
Имя нам Легион. Том 15

Служанка. Второй шанс для дракона

Шёпот Светлана
Любовные романы:
любовно-фантастические романы
5.00
рейтинг книги
Служанка. Второй шанс для дракона

Личный аптекарь императора. Том 5

Карелин Сергей Витальевич
5. Личный аптекарь императора
Фантастика:
городское фэнтези
попаданцы
аниме
сказочная фантастика
фэнтези
7.50
рейтинг книги
Личный аптекарь императора. Том 5

Княжна попаданка. Последняя из рода

Семина Дия
1. Княжна попаданка. Магическая управа
Фантастика:
попаданцы
альтернативная история
историческое фэнтези
аниме
сказочная фантастика
фэнтези
5.00
рейтинг книги
Княжна попаданка. Последняя из рода

Жатва душ. Несущий свет

Сугралинов Данияр
2. Жатва душ
Фантастика:
постапокалипсис
рпг
дорама
5.00
рейтинг книги
Жатва душ. Несущий свет

Восход. Солнцев. Книга V

Скабер Артемий
5. Голос Бога
Фантастика:
фэнтези
попаданцы
аниме
5.00
рейтинг книги
Восход. Солнцев. Книга V

Мастер 4

Чащин Валерий
4. Мастер
Фантастика:
героическая фантастика
боевая фантастика
попаданцы
5.00
рейтинг книги
Мастер 4

Барон устанавливает правила

Ренгач Евгений
6. Закон сильного
Старинная литература:
прочая старинная литература
5.00
рейтинг книги
Барон устанавливает правила

Возвышение Меркурия. Книга 4

Кронос Александр
4. Меркурий
Фантастика:
героическая фантастика
боевая фантастика
попаданцы
5.00
рейтинг книги
Возвышение Меркурия. Книга 4

Вперед в прошлое 7

Ратманов Денис
7. Вперед в прошлое
Фантастика:
попаданцы
альтернативная история
5.00
рейтинг книги
Вперед в прошлое 7

Жена фаворита королевы. Посмешище двора

Семина Дия
Фантастика:
фэнтези
5.00
рейтинг книги
Жена фаворита королевы. Посмешище двора

Покоривший СТЕНУ. Десятый этаж

Мантикор Артемис
3. Покоривший СТЕНУ
Фантастика:
фэнтези
попаданцы
рпг
5.00
рейтинг книги
Покоривший СТЕНУ. Десятый этаж

Эволюционер из трущоб. Том 9

Панарин Антон
9. Эволюционер из трущоб
Фантастика:
попаданцы
аниме
фэнтези
фантастика: прочее
5.00
рейтинг книги
Эволюционер из трущоб. Том 9