Здоровье пчелиного укуса
Шрифт:
Строение тела пчелы
Тело пчелы делится на 3 подвижно соединенные между собой части – голову, грудь и брюшко – и покрыто твердым, прочным, но достаточно гибким хитиновым покровом – кутикулой, служащей опорой для ножек и крыльев. Хитиновый покров имеет на поверхности волоски различной формы.
Голова пчелы представляет собой коробку, в средней части которой находится треугольная площадка (лоб). От ее основания отходят усики, являющиеся органами осязания и обоняния. Каждый усик состоит из длинного основного членика и жгутика, приводящего усик в движение.
Верхние
По обе стороны головы располагаются 2 больших сложных (фасеточных) глаза, каждый из которых состоит из нескольких тысяч отдельных маленьких глазков и имеет выпуклую форму, обеспечивающую лучший обзор. На теменной части головы между сложными глазами помещаются 3 простых глаза.
Необходимо отметить, что пчела имеет головной мозг (так называемый надглоточный ганглий) и подглоточный нервный узел, которые находятся в головной части тела.
Через затылочное отверстие голова соединяется с грудью, состоящей из 4 сросшихся между собой сегментов (колец). К этой части тела крепятся передняя и задняя пары перепончатых крыльев и 3 пары членистых ножек. Крылья и ножки приводятся в движение благодаря работе мышц, расположенных внутри грудного отдела тела.
Передние и задние крылья (необходимо отметить, что первые немного больше, чем вторые) состоят из прочных продольных и поперечных жилок, между которыми натянута прозрачная перепонка. В жилках крыла проходят трахеи и нервы, омывающиеся гомолимфой.
В спокойном состоянии крылья сложены вдоль спинки (задние располагаются под передними). При взлете передние и задние крылья образуют как бы одно целое крыло с каждой стороны тела. Сцепление крыльев происходит с помощью крючочков, расположенных на передней стороне заднего крыла, и складки на заднем краю переднего крыла, за которую крючки цепляются.
Во время полета происходят быстрые мускульные сокращения, обеспечивающие около 200—250 взмахов крыльев за 1 с, при этом пчела может развивать скорость 60 км/ч и более.
Ножки позволяют насекомому передвигаться по поверхности и выполнять ряд других действий – сбор и перенос цветочной пыльцы, передачу восковых пластинок с восковых зеркалец к ротовым частям во время постройки сотов и др.
Ножки пчелы состоят из нескольких сочлененных частей и заканчиваются лапкой с 2 коготками, разделенными подушечкой. Коготки необходимы для хождения по шероховатой поверхности, а подушечки – по гладкой, скользкой (ими пчела как бы присасывается к поверхности).
На задних ножках рабочей пчелы имеются корзиночки из волосков для сбора цветочной пыльцы. Комочки пыльцы в таких корзиночках называются обножкой. У маток и трутней подобные корзиночки отсутствуют.
Грудь соединяется с брюшком коротким стебельчатым члеником, позволяющим пчеле двигать брюшком вниз и в стороны. Брюшко состоит из 6 подвижных члеников-сегментов, каждый из которых образуется 2 полукольцами – спинным и брюшным, подвижно соединенными
На брюшке имеется несколько хитиновых участков, лишенных волосков, – так называемых восковых зеркалец, под которыми расположены восковыделительные железы. Воск накапливается на поверхности восковых зеркалец в виде тонких пластинок, но только у молодых пчел.
На конечной части брюшка располагается жалоносный аппарат. Следует отметить, что жало пчелы устроено достаточно сложно: оно состоит из 2 острых хитиновых иголочек, на концах которых имеется 8-10 зазубринок, обращенных заостренными концами назад. Внутри иголочек имеется полость, по которой яд из большой и малой ядовитых желез проникает при ужалении в ранку. В спокойном состоянии жало втянуто в тело пчелы. При ужалении зазубринки на жале не дают пчеле извлечь его обратно, и при попытке взлететь жалоносный аппарат отрывается от тела вместе с частью внутренних органов, что приводит к гибели пчелы.
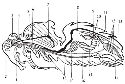
К внутренним органам пчелы относятся: органы пищеварения, дыхания, выделения, лимфосистема, нервная система, половые органы, жировое тело, жалоносный аппарат.
Внутренние органы пчелы: 1 – верхнечелюстная железа; 2 – глоточная железа; 3 – надглоточный узел (мозг); 4 – задняя ветвь глоточной железы; 5 – грудная железа; 6 – яйцевод; 7 – аорта; 8 – спинная диафрагма; 9 – мальпигиевы сосуды; 10 – камеры сердца; 11 – толстая кишка; 12 – ректальные железы; 13 – прямая кишка; 14 – жало; 15 – средняя кишка; 16 – брюшная диафрагма; 17 – медовый зобик; 18 – нервная цепочка.
Нектар, всасываемый с помощью хоботка, изо рта поступает в глотку, где смешивается со слюной, ферменты которой расщепляют сложные сахара на простые. Затем пища поступает в медовый зобик, служащий для переноски нектара, а в период роения – меда в улей. Содержимое медового зобика (он вмещает около 30—40 мг нектара) в улье отсасывается через хоботок и передается пчелам-приемщицам. При длительных перелетах часть нектара используется для собственного питания. Для этого в медовом зобике открывается клапан, и порция нектара поступает в среднюю кишку, которая выполняет роль желудка. Пища под действием ферментов желудочного сока расщепляется на простые вещества, которые через стенки средней кишки поступают в кровь.
Непереваренные остатки пищи через тонкую кишку заднего отдела кишечника попадают в прямую (толстую) кишку. В ней происходит скопление экскрементов. Необходимо отметить, что толстая кишка обладает способностью значительно растягиваться, что очень важно для насекомых во время длительной зимовки. В кишечнике пчелы имеется несколько ректальных желез, сжиживающих содержание прямой кишки. Они также выделяют каталазу, нейтрализующую токсичное действие на организм пчелы накапливающихся экскрементов. От количества выделяемой каталазы зависит окончание зимовки.
Совок 14
14. Совок
Фантастика:
попаданцы
рейтинг книги
Шатун. Лесной гамбит
2. Шатун
Фантастика:
боевая фантастика
рейтинг книги
Тигр под елку
4. Наша
Любовные романы:
короткие любовные романы
рейтинг книги
Я уже барон
2. Дорогой барон!
Фантастика:
боевая фантастика
попаданцы
аниме
рейтинг книги
Наследник павшего дома. Том II
2. Расколотый мир [Вайс]
Фантастика:
фэнтези
попаданцы
аниме
рейтинг книги
Хозяйка забытой усадьбы
5. Королевская охота
Любовные романы:
любовно-фантастические романы
рейтинг книги
Последний реанорец. Том I и Том II
1. Высшая Речь
Фантастика:
фэнтези
рейтинг книги
На границе империй. Том 4
4. Фортуна дама переменчивая
Фантастика:
космическая фантастика
рейтинг книги
Огненный наследник
10. Десять Принцев Российской Империи
Фантастика:
попаданцы
аниме
фэнтези
рейтинг книги
