Чтение онлайн

на главную - закладки

Жанры

Баня, сауна. Строим своими руками
Шрифт:

Начнем с изучения грунта.

Исследование грунта и выбор типа фундамента

Маловероятно, что земля под вашей баней будет намного отличаться от той, на которой стоит вся усадьба. Но так как зачастую баню на участке строят прежде всех остальных сооружений, то остановимся на общих характеристиках грунтов и их воздействии на конструкции. Это пригодится вам для дальнейших работ на участке.

Чтобы точно выяснить, на какой почве будет стоять баня (а впоследствии и дом), стоит взять пробы грунта, которые затем необходимо

подвергнуть инженерно-геологическим исследованиям. Для этого вам надлежит связаться с организацией, которая выполняет такие работы. Чаще всего это любая из проектных организаций, имеющая специалистов по грунтам.

Выделяют шесть видов грунтов: скалистые, обломочные, песчаные, пылеватые, суглинистые и глинистые.

Скалистые грунты — самые надежные. Они весьма прочны, не проседают, не размываются и не вспучиваются зимой. Следующие по прочности — обломочные, или хрящеватые, грунты. Они содержат обломки камней и гравий, не размываются и не сжимаются. В этом случае фундамент нужно заглублять не более чем на 50 см.

Песчаные грунты проседают, то есть существенно уплотняются под нагрузкой. Песок не задерживает воду и зимой незначительно промерзает. Фундамент нужно закладывать на глубине от 40 до 70 см.

Необходимо опасаться пылеватых грунтов, или плывунов. Нет гарантии, что ваше сооружение не «поплывет» вместе с ними в самый неподходящий момент, поэтому перед началом строительства необходимо проконсультироваться с опытными специалистами.

В составе суглинистых грунтов от 3 до 30 % глины. Если в почве менее 10% глины, она называется супесчаной, при повышенном содержании — суглинистой.

Глинистые грунты могут сжиматься, размываться и вспучиваться при промерзании. Это самый ненадежный вариант при строительстве. В глинистых грунтах фундамент закладывается на всю глубину промерзания.

Какой же тип фундамента подойдет больше всего? Это решение нужно принимать в зависимости от грунта, на котором расположен участок. Два самых распространенных вида фундамента, которые применяются при строительстве бани, — ленточный и столбчатый.

В нашем случае по всем параметрам самым целесообразным специалисты считают ленточный монолитный фундамент мелкого заглубления, оборудованный мощным металлическим арматурным каркасом, о закладке которого мы далее расскажем подробно.

Но, конечно, перед закладкой любого фундамента необходимо подготовить для него площадку.

Подготовка площадки

Строительная площадка должна быть ровной, за исключением обязательного наклона на восток, запад либо юг для оттока дождевой и талой воды.

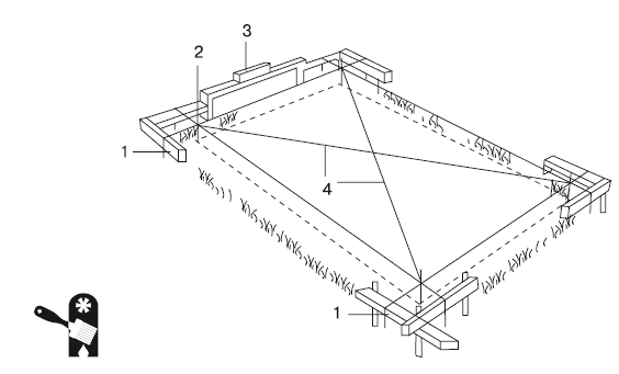
Прежде чем начертить на строительной площадке контур будущего фундамента, с почвы нужно удалить всю растительность. Затем следует тщательно выровнять поверхность (рис. 2.1).

Рис. 2.1. Разметка площадки под фундамент: 1 — обноска из досок; 2 — отвес; 3 — уровень; 4 — шнур

Ширина фундамента, как правило, рассчитывается с оглядкой на конструкцию

будущих стен. Обязательная формула: ширина стен плюс 10 см.

Инструменты, нужные для разметки площадки: колышки длиной 50 см, шнур, рулетка, уровень, а также прямоугольный треугольник с катетами 30 и 60 см.

Определяем, с какого угла бани мы начнем. Вбиваем в этом месте первый колышек, а затем, надев на него треугольник, отмеряем по одной из его внешних сторон расстояние, соответствующее длине будущей продольной стены бани. По другой внешней стороне откладываем длину поперечной стены в осевых линиях.

Второй и третий колышки забиваем на пересечении осей, то есть на конечных точках длин стен.

Перемещаем треугольник в противоположный угол бани. Снова находим место пересечения осей и забиваем в этой точке четвертый колышек. Удостовериться, нет ли перекоса в замерах, можно, сопоставив диагонали в получившемся прямоугольнике.

Если все сделано правильно, разница в их длинах не превысит 2 см.

Следующий этап: берем столбики с предварительно прибитыми к ним досками и начинаем выполнять обноску на расстоянии 1–2 м от столбиков (доски крепим на высоте 1,5 м от земли так, чтобы их положение было строго параллельно положению банных стен). Прежде чем приступить к работе, еще раз удостоверьтесь с помощью уровня и рейки в том, что конструкция сооружена ровно.

Теперь вам предстоит нанести осевые размеры контура фундамента на верхнюю кромку обноски. Для этого сначала вобьем в зарубки гвозди так, чтобы строго над вбитыми в будущие углы колышками можно было ровно протянуть шнур.

Натянув оси и удостоверившись, что они проходят правильно, следует взять отвес и перенести осевые линии на площадку. Именно от них нужно откладывать во все стороны заданные расстояния, по которым пройдут линии, фиксирующие контуры внутренней и наружной стороны фундамента.

Начинаем копать. Помните, что строительство бани желательно завершить в один сезон, поэтому, как только котлован либо траншея вырыты, следует сразу же приступать к закладке фундамента.

Если вы копаете неглубокий котлован (до 1 м), его стены желательно делать строго вертикальными; если от 1 м, допустим некоторый уклон.

Чтобы грунт в процессе работы не сыпался, понадобятся щиты с распорками. Их следует установить между стенками котлована либо траншеи. Они извлекаются по окончании земляных работ.

Устройство ленточного фундамента

Если грунт на вашем участке неоднородный, то есть рельеф сам по себе неровный, а влажность почвы очевидна даже на ощупь, выбора нет: придется укладывать ленточный фундамент. О том, на какую глубину нужно это делать, вы узнаете, проведя исследования грунта (либо попросив об этом специалиста). В среднем она составляет 70–100 см.

Понятно, что первый этап приведения такого грунта в вид, позволяющий вашему участку стать строительной площадкой, — удаление растительного покрова. Поскольку грунтовые воды наверняка залегают близко к поверхности, слой дерна, скорее всего, достаточно велик. Его необходимо полностью удалить, а вместо него засыпать слой песка, смешанного с гравием, и как следует уплотнить.

Поделиться:
Популярные книги

Князь Барсов. Том 2

Петров Максим Николаевич
2. РОС. На мягких лапах
Фантастика:
фэнтези
попаданцы
аниме
5.00
рейтинг книги
Князь Барсов. Том 2

Эксперимент

Юнина Наталья
Любовные романы:
современные любовные романы
4.00
рейтинг книги
Эксперимент

Доктора вызывали? или Трудовые будни попаданки

Марей Соня
Фантастика:
юмористическая фантастика
попаданцы
5.00
рейтинг книги
Доктора вызывали? или Трудовые будни попаданки

Кодекс Крови. Книга IV

Борзых М.
4. РОС: Кодекс Крови
Фантастика:
фэнтези
попаданцы
аниме
5.00
рейтинг книги
Кодекс Крови. Книга IV

Третий Генерал: Том III

Зот Бакалавр
2. Третий Генерал
Фантастика:
попаданцы
рпг
аниме
5.00
рейтинг книги
Третий Генерал: Том III

Страж Кодекса. Книга IX

Романов Илья Николаевич
9. КО: Страж Кодекса
Фантастика:
попаданцы
аниме
фэнтези
5.00
рейтинг книги
Страж Кодекса. Книга IX

Имперец. Том 1 и Том 2

Романов Михаил Яковлевич
1. Имперец
Фантастика:
попаданцы
альтернативная история
аниме
5.00
рейтинг книги
Имперец. Том 1 и Том 2

Имя нам Легион. Том 2

Дорничев Дмитрий
2. Меж двух миров
Фантастика:
боевая фантастика
рпг
аниме
5.00
рейтинг книги
Имя нам Легион. Том 2

Идеальный мир для Лекаря 25

Сапфир Олег
25. Лекарь
Фантастика:
фэнтези
юмористическое фэнтези
аниме
5.00
рейтинг книги
Идеальный мир для Лекаря 25

Неудержимый. Книга XIX

Боярский Андрей
19. Неудержимый
Фантастика:
фэнтези
попаданцы
аниме
5.00
рейтинг книги
Неудержимый. Книга XIX

Дикая фиалка заброшенных земель

Рейнер Виктория
1. Попаданки рулят!
Любовные романы:
любовно-фантастические романы
эро литература
5.00
рейтинг книги
Дикая фиалка заброшенных земель

Камень. Книга пятая

Минин Станислав
5. Камень
Фантастика:
боевая фантастика
6.43
рейтинг книги
Камень. Книга пятая

Барон Дубов 2

Карелин Сергей Витальевич
2. Его Дубейшество
Фантастика:
юмористическое фэнтези
аниме
сказочная фантастика
фэнтези
5.00
рейтинг книги
Барон Дубов 2

Газлайтер. Том 4

Володин Григорий
4. История Телепата
Фантастика:
попаданцы
альтернативная история
аниме
5.00
рейтинг книги
Газлайтер. Том 4