Чтение онлайн

на главную - закладки

Жанры

Боевые корабли японского флота. Подводные лодки (10.1918-8.1945). Справочник
Шрифт:

Rо-65 После вступления в строй вошла в состав 27-го ДПЛ ВМР Сасебо. В декабре 1929 г. корабль передали в распоряжение Школы подводного плавания ВМР Куре. С декабря 1927 г. по февраль 1929 г. и с декабря 1933 г. по февраль 1935 г. ПЛ числилась в резерве и простояла на базе флота в Куре. Все остальное время, вплоть до ноября 1941 г., она занималась боевой подготовкой в водах Метрополии. В ноябре 1941 г. Rо-65 включили в состав Седьмой эскадры Четвертого флота, и 24.11.1941 г. она пришла на атолл Кваджелейн. С 6-го по 29.12.1941 г. ПЛ обеспечивала оккупацию о. Уэйк, а с 10.01 по 4.02.1942 г. — налеты авиации соединения вице-адмирала Нагумо на Рабаул (20.01.1942 г.). 4.02.1942 г. Ro-65 возвратилась на атолл Кваджелейн. С 19-го по 24.02.1942 г. ПЛ перешла в Давао. С 28.02 по 19.03.1942 г. она патрулировала в районе к северу от Соломоновых о-вов и с 14.05 по 5.06.1942 г. перешла на атолл Трук, с 15.07 по 4 08.1942 г. — в Оминато и с 6-го по 11.08.1942 г. — на о. Кыска. С 13-го по 31.08.1942 г. Rо-65 патрулировала у о-вов Алеутской гряды. 4.11.1942 г. во время налета американской авиации на гавань Кыска ПЛ погрузилась и коснулась корпусом грунта. Кораблю удалось всплыть в надводное положение, но, из-за полученных повреждений, спустя 1,5 часа он затонул. Экипажу оставил Rо-65 и перешел на берег.

ПЛ Ro-60 типа L4 по состоянию на декабрь 1941 г.

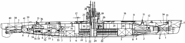
ПЛ Rо-33 типа K5

после вступления в строй

Rо-66 После вступления в строй вошла в состав 27-го ДПЛ ВМР Сасебо. В декабре 1929 г. корабль передали в распоряжение Школы подводного плавания ВМР Куре. С декабря 1927 г. по февраль 1929 г. и с декабря 1933 г. по февраль 1935 г. ПЛ числилась в резерве и простояла на базе флота в Куре. Все остaльное время, вплоть до ноября 1941 r., она занимапась боевой подготовкой в водах Метрополии. В ноябре 1941 г. Rо-66 включили в состав Седьмой эскадры Четвертого флота. и 24.11.1941 г. она пришла на атолл Кваджелейн. С 6.12.1941 г. ПЛ направилась к о. Узйк для обеспечения его оккупации. 17.12.1941 г. на подходах к острову, в темное время суток. она была таранена Ro-62. Удар пришелся в среднюю часть корпуса с правого борта. Корабль затонул в течение нескольких минут. Экипаж был подобран Rо-61 и Rо-62.

Ro-67 После вступления в строй вошла в состав 27-го ДПЛ ВМР Сасебо. В декабре 1929 г. корабль передали в распоряжение Школы подводного плавания ВМР Куре. С декабря 1927 г. по февраль 1929 г. и с декабря 1933 г. по февраль 1935 г. ПЛ числилась в резерве и простояла на базе флота в Куре. Все остanьное время, вплоть до ноября 1941 г., она занималась боевой подготовкой в водах Метрополии. В ноябре 1941 г. Rо-67 включили в состав Седьмой эскадры Четвертого флота. и 24.11.1941 г. она пришла на атолл Кваджелейн. С 6-го по 29.12.1941 г. ПЛ обеспечивала оккупацию о. Уэйк. 10.01.1942 г. корабль (флаг командира группы ПЛ) направился к западному побережью США для борьбы с судоходством противника. 8.02.1942 г. он вернулся на атолл Кваджелейн. С 7-го по 12.06.1942 г. Ro-67 перешла на атолл Трук, с 15.07 по 4.08 1942 г — в Оминато и с 6-го по 11.08.1942 г. на о. Кыска. С 12.09 по 6.10.1942 г. ПЛ патрулировала в районе к юго-западу от о. Атту. 1.01.1943 г. корабль передали в распоряжение Школы подводного плавания ВМР Куре, но он оставался на севере ввиду активности противника у Алеутских о-вов. С 1-го по 14.03.1943 г. и с 20-го по 28.03.1943 г. Rо-67 обеспечивала переходы КОН к о. Атту. 22.05.1943 г. ПЛ пришла на о. Атту, приняла на борт вместе с Rо-64 35 чел., которых 24.05.1943 г. доставила на о. Парамушир. С 27.05 по 3.06.1943 г. Ro-64 перешла в Куре, где, вплоть до капитуляции Японии, занималась подготовкой экипажей строившихся ПЛ. 18.08.1945 г. корабль передали в распоряжение американских оккупационных властей. В сентябре его сдали на слом и разобрали на металл в Хариме (бывшей верфи флота в Куре).

Ro-68 После вступления в строй вошла в состав 24-го ДПЛ ВМР Сасебо. В декабре 1929 г. корабль передали в распоряжение Школы подводного плавания ВМР Куре. С декабря 1927 г. по февраль 1929 г. и с декабря 1933 г. по февраль 1935 г. ПЛ числилась в резерве и простояла на базе флота в Куре. Все остальное время, вплоть до ноября 1941 г., она занималась боевой подготовкой в водах Метрополии. В ноябре 1941 г. Rо-68 включили в состав 33-го ДПЛ Седьмой эскадры Четвертого флота, и 24.11.1941 г. она пришла на атолл Кваджелейн. 10.01.1942 г. ПЛ направилась к западному побережью США для борьбы с судоходством противника. 21.01.1942 г. корабль обстрелял побережье США в окрестностях Сан-Франциско. 25.01.1942 г. Rо-68 возвратилась на атолл Кваджелейн. С 29.01. по 23.02.1942 г. ПЛ патрулировала у атолла Мидуэй. 2.03.1942 г. корабль направился в район к северу от о-вов Ява и Суматра для борьбы с судоходством противника. 19.03.1942 г. он пришел в Давао. 16.05.1942 г. Rо-68 пришла на атолл Трук. 14.07.1942 г. ПЛ передали в распоряжение командующего Пятым флотом, и с 16.07 по 4.08.1942 г. она перешла в Оминато, а с 6-го по 11.08.1942 г — на о. Кыска. С 19.08 по 12.09.1942 г. корабль патрулировал у о-вов Алеутской гряды. 1.01.1943 г. Rо-68 передали в распоряжение Школы подводного плавания ВМР Куре, но она оставалась на севере ввиду активности противника у Алеутских о-вов. С 12-го по 22.02.1942 г. она занималась поиском кораблей противника у западных Алеутских о-вов. 22.05.1943 г. ПЛ пришла на о. Атту, приняла на борт вместе с Rо-62 и Rо-63 48 чел. и 23.05.1943 г. доставила их на о. Парамушир. С 27.05. по 3.06.1943 г. Rо-68 перешла в Куре, где вплоть до капитуляции Японии занималась подготовкой экипажей строившихся ПЛ. 18.08.1945 г. корабль передали в распоряжение американских оккупационных властей. В сентябре его сдали на слом и разобрали на металл в Хариме (бывшей верфи флота в Куре).

Типа K5

1 2 3 4 5 6 7
Ro–33 верфь флoта, Куре август 1933 г. 10.10.1934 г. 7.10.1935 г. 73,0x6,7x3,25/4,35 (12 мм) 940 (700)/?
Ro–34 с. в. ф. "Мицубиси", Кобе январь 1935 г. 12.12.1935 г. 31.05.1937 г.

А. Заказаны в рамках "Программы 1931 г. по замене вспомогательных кораблей". Ro-33 строилась по бюджету на 1932/33 гг. и Ro-34 — по бюджету на 1934/35 гг. Предназначались для борьбы с боевыми кораблями и торговым судоходством противника в прибрежных районах и на небольшом удалении от пунктов базирования. Проект разработан МТД на основе типа L4. В отличие от прототипа, корабль имел иные обводы корпуса, четыре 533-мм ТА. более мощные четырехтактные ДГ и увеличенную глубину погружения. Полуторокорпусная конструкция, плоские переборки делили прочный корпус на семь отеков, три группы ЦГБ, топливные танки вне прочного корпуса. Главные механизмы (ДГ, ЭД и компрессоры ВВД) на металлических амортизаторах. Автономность 30 суток. Рабочая глубина погружения 80 метров. ПЛ данного типа стали прототипом для кораблей серии K6.

Б. 2 ДГ (шести цилиндровые, четырехтактные) — 3000 л. с. (суммарная контрактная) + ЭД — 1200 л. с. (суммарная контрактная).

В. Надводная: — 19 узлов (максимальная, контрактная), — 12 узлов (экономическая), подводная: — 8 узлов (максимальная, контрактная): Ro-33: — 8,25 узла (приемные испытания), — 3,5 узла в течение 26 часов.

Г. 95 т соляра.

Д. Надводная: — 8000 миль (12 узлов). подводная: — 90 миль (3,5 узла).

Е. 23,5 %

Ж. 75 человек.

З. 1 — 76,2-мм/60 тип 88 (Д. стр. — 73,5 кбт./9100 м; 15 выстрелов в минуту, 250 унитарных патронов), 1 — 13,2-мм/76 тип 93 (Д. стр. — 6400 м/4500 м; от 250 до 450 выстрелов в минуту: 1200 унитарных патронов).

И. 4 носовых ТА 533-мм (10 торпед).

Л. СУАО для 76,2-мм орудия и 13,2-мм зенитного автомата: 1,5-м дальномер тип 97 (переносной).

Rо-33 После вступления в строй вошла в состав 21-го ДПЛ ВМР Сасебо. С декабря 1935 г. по декабрь 1937 г. корабль занимался боевой подготовкой в водах Метрополии, и затем его передали в распоряжение командующего Второй эскадры ПЛ. С 9-го по 14.04.1938 г. Ro-33 патрулировала в водах Южного Китая и с 28.09 по 17.11.1938 г. участвовала в блокаде побережья Центрального Китая, базируясь на Мако. В ноябре 1941 г. ПЛ включили в состав Четвертой эскадры Комбинированного флота, и 1.12.1941 г. она пришла в порт Самах (на о. Хайнань). 7.12.1941 г. корабль направился в район к северо-востоку

от Филиппин для поиска и атаки боевых кораблей противника. 19.12.1941 г. Ro-33 пришла в Такао (о. Формоза). С 3.01.1942 г. ПП патрулировала у о. Анамбас и 20.01.1942 г. пришла в Давао. С 2-го по 17.02.1942 г. и с 25.02 по 17.03.1942 г. она патрулировала соответственно в Яванском море и море Тимор. С 7-го по 19.04.1942 г. корабль последовательно прошел вдоль Новой Гвинеи, о-вов Рассел и Дебойн, определяя десантопригодные участки на их побережье. После завершения похода Ro-33 пришла в Рабаул. 10.04.1942 г. ее передали в распоряжение командира Седьмой эскадры ПЛ Четвертого флота. С 20.04 по 12.05.1944 г. корабль обеспечивал оккупацию Порт-Морсби. С 28.05 по 5.06.1942 г. ПЛ перешла на атолл Трук и с 24.06 по 8.07.1942 г. — обратно в Рабаул. 18.07.1942 г. Ro-33 направилась в залив Папуа (Новая Гвинея) для борьбы с судоходством противника. 3.08.1942 г. ПЛ (капитан 3 ранга Куруяма) потопила английское вспомогательное судчо (300 т). 15.08.1942 г. она возвратилась в Рабаул. 26.08.1942 г. корабль вновь направился в район к югу от Новой Гвинеи для борьбы с судоходством противника. 29.08.1942 г. в 10 милях к югу от Порт-Морсби, при попытке атаковать союзный конвой, Ro-33 была обнаружена и потоплена австралийским ЭМ Аruntа.

Ro-34 После вступления в строй вошла в состав 21-го ДПЛ ВМР Сасебо. В декабре 1937 г. его передали в распоряжение командующего Второй Эскадрой ПЛ. С 9-го по 14.04.1938 г. Ro-34 патрулировала в водах южного Китая и с 28.09 по 17.11.1938 г. участвовала в блокаде побережья Центрального Китая, базируясь на Мако. В ноябре 1941 г. ПЛ включили в состав Четвертой эскадры Комбинированного флота, и 1.12.1941 г. она пришла в порт Самах (на о. Хайнань). 7.12.1941 г. корабль направился в район к северо-востоку от Филиппин для поиска и атаки боевых кораблей противника. 19.12.1941 г. Ro-34 пришла в Такао (о. Формоза). С 3.01.1942 г. ПЛ патрулировала у о. Анамбас и 20.01.1942 г. пришла в Давао. С 2-го по 17.02.1942 г. и с 25.02 по 17.03.1942 г. она патрулировала соответственно в Яванском море и море Тимор. Во время первого похода (12 02.1942 г.) корабль (капитан-лейтенант Ота) обнаружил соединение АВDА. С 7-го по 19.04.1942 г. Ro-34 последовательно прошла вдоль Южного побережья Новой Гвинеи, о-вов Рассел и Дебойн, определяя десантопригодные участки на их побережье. После завершения похода ПЛ пришла в Рабаул. 10.04.1942 г. ее передали в распоряжение командира Седьмой эскадры ПЛ Четвертого Флота. С 20.04. по 12.05.1944 г. корабль обеспечивал оккупацию Порт-Морсби. С 28.05 по 5.06.1942 г. Ro-34 перешла на атолл Трук и с 24.06 по 8.07.1942 г. — обратно в Рабаул. 18.07.1942 г. она направилась в залив Папуа (Новая Гвинея) для борьбы с судоходством противника. 2 08.1942 г. ПЛ (капитан 3 ранга Маринага) потопила австралийское торговое судно (9424 т). 15.08.1942 г. корабль возвратился в Рабаул. С 26.08 по 7.09.1942 г. Ro-34 патрулировала к югу от Новой Гвинеи. 20.09.1942 г. ПЛ направилась в залив Папуа для борьбы с судоходством противника. 14.10.1942 г. при попытке атаковать союзный конвой она была незначительно повреждена австралийским ТЩК. 17.10.1942 г. корабль возвратился в Рабаул, где провели восстановительный ремонт. С 10.11 по 7.12.1942 г. Ro-34 вновь патрулировала в районе к югу от Новой Гвинеи. 12.12.1942 г. ПЛ передали в распоряжение контр-адмирала Танабе для транспортировки грузов на Новую Гвинею, а с 1.01.1943 г. она находилась в непосредственном подчинении командующего Седьмой эскадрой ПЛ. С 17-го по 23.12.1942 г., с 6-го по 11.01.1943 г., 17-го по 22.01.1943 г., с 28-го по 31.01.1943 г. и с 18-го по 26.03.1943 г. корабль доставил в Буна (соответственно 19.12.1942 г., 8.01.1943 г., 20.01.1943 г., 29.01.1943 г. и 22.03.1943 г.) около 120 т различных грузов (вместо запасных торпед и боезапаса для 76,2-мм орудия). 29.03.1943 г. Ro-34 направилась к Соломоновым о-вам для борьбы с судоходством противника. 5.04.1943 г. в 40 милях от о. Руссел она была обнаружена в подводном положении и потоплена глубинными бомбами американскими ЭМ О'Ваnnоn и Strong.

Типа K6

1 2 З 4 5 6 7
Rо-З5 с. в. ф. "Мицубиси", Кобе октябрь 1941 г. 4.06.1942 г. 31.03.1943 г. 80,5x7,0x4,05/4,5 (14 мм) 1115 (960)/1447 т
Rо-36 с. в. ф. "Мицубиси", Кобе ноябрь 1941 г. 14.10.1942 г. 27.05.1943 г.
Rо-З7 с. в. ф. "Мицубиси", Кобе ноябрь 1941 г. 30.06.1942 г. 30.06.1943 г.
Rо-38 с. в. ф. "Мицубиси", Кобе ноябрь 1941 г. 24.12.1942 г. 24.07.1943 г.
Rо-39 верфь флота, Сасебо октябрь 1941 г. 6.03.1942 г. 12.09.1943 г.
Ro-40 с. в. ф. "Мицубиси", Кобе ноябрь 1941 г. 6.03.1942 г. 12.09.1943 г.
Ro-41 с. в. ф. "Мицубиси", Кобе февраль 1942 г. 5.05.1943 г. 26.11.1943 г.
Ro-42 верфь флота, Сасебо февраль 1942 г. 25.10.1942 г. 31.08.1943 г.
Rо-43 с. в. ф. "Мицубиси", Кобе февраль 1942 г. 5.06.1943 г. 16.12.1943 г.
Ro-44 с. в. ф. "3осенхо", Тамано февраль 1942 г. начaло 1943 г. 13.09.1943 г.
Ro-45 с. в. ф. "Мицубиси", Кобе февраль 1942 г. начaло 1943 г. 11.01.1944 г.
Ro-46 с. в. ф. "Мицубиси". Кобе февраль 1942 г. май 1943 г. 11.02.1944 г.
Ro-47 с. в. ф. "3осенхо". Тамано март 1942 г. июль 1943 г. 31.01.1944 г.
Ro-48 с. в. ф. "Мицубиси", Кобе март 1942 г. середина 1943 г. 31.03.1944 г.
Ro-49 с. в. ф. "3осенхо", Тамано апрель 1942 г. сентябрь 1943 г. 19.05.1944 г.
Ro-50 с. в. ф. "3осенхо", Тамано апрель 1942 г. сентябрь 1943 г. 13.07.1944 г.
Ro-55 с. в. ф. "3осенхо", Тамано июль 1942 г. январь 1944 г. 30.09.1944 г.
Ro-56 с. в. ф. "3осенхо", Тамано июль 1942 г. январь 1944 г. 15.11.1944 г.
Поделиться:
Популярные книги

Сержант. Назад в СССР. Книга 4

Гаусс Максим
4. Второй шанс
Фантастика:
попаданцы
альтернативная история
5.00
рейтинг книги
Сержант. Назад в СССР. Книга 4

Вернуть невесту. Ловушка для попаданки

Ардова Алиса
1. Вернуть невесту
Любовные романы:
любовно-фантастические романы
8.49
рейтинг книги
Вернуть невесту. Ловушка для попаданки

Сирота

Шмаков Алексей Семенович
1. Светлая Тьма
Фантастика:
юмористическое фэнтези
городское фэнтези
аниме
5.00
рейтинг книги
Сирота

Восход. Солнцев. Книга XI

Скабер Артемий
11. Голос Бога
Фантастика:
фэнтези
попаданцы
аниме
5.00
рейтинг книги
Восход. Солнцев. Книга XI

Кодекс Крови. Книга ХVII

Борзых М.
17. РОС: Кодекс Крови
Фантастика:
попаданцы
аниме
фэнтези
5.00
рейтинг книги
Кодекс Крови. Книга ХVII

Неправильный лекарь. Том 2

Измайлов Сергей
2. Неправильный лекарь
Фантастика:
городское фэнтези
аниме
фэнтези
попаданцы
5.00
рейтинг книги
Неправильный лекарь. Том 2

Держать удар

Иванов Дмитрий
11. Девяностые
Фантастика:
попаданцы
альтернативная история
5.00
рейтинг книги
Держать удар

Эволюционер из трущоб. Том 8

Панарин Антон
8. Эволюционер из трущоб
Фантастика:
попаданцы
аниме
фэнтези
фантастика: прочее
5.00
рейтинг книги
Эволюционер из трущоб. Том 8

Некурящий. Трилогия

Федотов Антон Сергеевич
Некурящий
Фантастика:
фэнтези
боевая фантастика
попаданцы
5.00
рейтинг книги
Некурящий. Трилогия

Тайные поручения

Билик Дмитрий Александрович
6. Бедовый
Фантастика:
юмористическое фэнтези
городское фэнтези
мистика
5.00
рейтинг книги
Тайные поручения

Эволюционер из трущоб

Панарин Антон
1. Эволюционер из трущоб
Фантастика:
попаданцы
аниме
фэнтези
фантастика: прочее
5.00
рейтинг книги
Эволюционер из трущоб

Страж Кодекса. Книга VI

Романов Илья Николаевич
6. КО: Страж Кодекса
Фантастика:
фэнтези
попаданцы
аниме
5.00
рейтинг книги
Страж Кодекса. Книга VI

Ликвидатор на службе Империи. Том 2

Бор Жорж
2. Ликвидатор на службе Империи
Фантастика:
городское фэнтези
аниме
5.00
рейтинг книги
Ликвидатор на службе Империи. Том 2

Восход. Солнцев. Книга VII

Скабер Артемий
7. Голос Бога
Фантастика:
фэнтези
попаданцы
аниме
5.00
рейтинг книги
Восход. Солнцев. Книга VII