Чтение онлайн

на главную - закладки

Жанры

Большая Советская Энциклопедия (ДА)
Шрифт:

Лит.: Lebedew P., Untersuchungen liber die Dnickkr"afte des Lichtes, «Annalen der Physik», 1901, fasc. 4, Bd 6, S. 433—458; Лебедев П. Н., Избр. соч., М. — Л., 1949: Ландсберг Г. С., Оптика, 4 изд., М., 1957; Эльясберг П. Е., Введение в теорию полета искусственных спутников Земли, М., 1965.

Рис. 1. Различные системы (I, II, III) крылышек в опыте Лебедева; О — платиновая петля, С — кардановый подвес.

Рис. 2. Схема опыта Лебедева: В — источник света (угольная дуга); С — конденсор; D — металлическая

диафрагма; К — линза; W — стеклянный сосуд с водой с плоскопараллельными стенками, играющими роль светофильтра; S1 —S6 — зеркала; L1 и L2 — линзы; R — изображение диафрагмы D на крылышках (на рис. не показаны) внутри стеклянного баллона G; P1 и P2 — стеклянные пластинки; Т — термобатарея; R1 — изображение диафрагмы D на поверхности термобатареи.

Давления датчик

Давле'ния да'тчик, измерительный преобразователь давления жидкости или газа в электрический, пневматический и др. вида выходной сигнал; служит также для измерения разряжений и перепада давлений.

На давления до 10Мн/м2 (100 кгс/см2 ) и выше Д. д. строят по принципу прямого преобразования измеряемого давления в усилие и затем в выходной электрический сигнал, например пьезоэлектрические датчики , магнитоупругие датчики . Для измерения относительно малых давлений Д. д. строят с промежуточными (давление ® усилие ® перемещение) и оконечными (перемещение ® измерение электрического параметра) преобразователями. Промежуточными могут служить жидкостные манометрические преобразователи, пружины, мембраны, сильфоны и др. В качестве оконечных применяют реостатные, индуктивные, ёмкостные преобразователи.

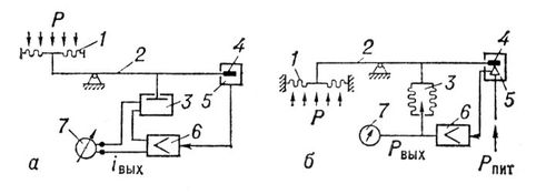
Существуют Д. д., работающие на принципе электрической или пневматической силовой компенсации. Усилие Р (рис .), создаваемое измеряемым давлением на чувствительный элемент 1 , через рычажную систему 2 уравновешивается силовым устройством 3 обратной связи. При изменении давления управляющий элемент 4 индикатора рассогласования 5 отклоняется от своего первоначального нулевого положения. Сигнал рассогласования, формируемый при этом в индикаторе 5, усиливается в усилителе 6 и в виде выходного тока iвых (или давления Рвых ) поступает в устройство 3 и на отсчётное устройство 7. Выходной сигнал изменяется до тех пор, пока развиваемое в устройстве 3 силовое противодействие не уравновесит измеряемое давление. В момент равновесия элементы 2 и 4 возвращаются в первоначальное положение. Рпит — давление в питающей сети.

Измерение перепада давлений осуществляют дифференциальным (разностным), мембранным, сильфонным или жидкостным манометрическим датчиком.

Лит.: Туричин А. М., Электрические измерения неэлектрических величин, 4 изд., М. — Л., 1966.

М. М. Гельман.

Принципиальная схема датчика давления компенсационного типа: а — электрической силовой компенсации; б — пневматической силовой компенсации.

Давлетшина Хадия Лутфулловна

Давле'тшина Хадия Лутфулловна (март 1905, деревня Хасаново, ныне Куйбышевской обл., — 5.12.1954, Бирск), башкирская советская писательница; первая писательница-башкирка. Родилась в бедной крестьянской семье. Печататься начала в 1927. В повести «Айбике» (1930, рус. пер. 1936) показано превращение бывшей батрачки в вожака колхозного движения. Духовное возрождение ранее угнетённой женщины-башкирки — основная тема многих

рассказов («Сборник рассказов», 1935). Роман Д. «Иргиз» (опубликован 1957) показывает революционную борьбу башкирского народа начиная с 1902 до 20-х гг. Герой романа Айбулат под влиянием русских революционеров вырастает в сознательного защитника интересов народа.

Соч.: Айбике. Повест

р h
ф
, 1960: в рус. пер. — Иргиз, М., 1961.

Лит.: Минhажитдинов М., Ь

ф, 1966.

С. Г. Сафуанов.

Давлури

Давлу'ри, грузинский народный танец. Музыкальный размер 2 /4 . В основе танца лежит движение пар по кругу. Первую часть танца, медленную, исполняют хороводом; вторую, более оживлённую, каждая пара танцует самостоятельно.

Давность

Да'вность (юридическое), установленный законом срок приобретения вещных прав (приобретательная Д.), защиты нарушенного права (исковая Д.), а также срок, истечение которого при наличии предусмотренных законом условий устраняет уголовную ответственность (Д. уголовного преследования) либо исключает возможность применения назначенного наказания (Д. исполнения обвинительного приговора).

1) Приобретательная Д. (или Д. владения) по законодательству некоторых капиталистических стран служит основанием приобретения вещных прав при соблюдении определённых условий. Сроки приобретательной Д. установлены: в англ. праве — 12 лет, во франц. праве — 10, 20 и 30 лет (в зависимости от титула владения), в итал. — 10 и 20 лет. Советское право не предусматривает приобретательной Д.

2) Исковая Д., т. е. право обратиться в суд за защитой своего нарушенного права, известна законодательству большинства государств. В СССР применяется в отношениях между социалистическими организациями и между гражданами (см. Основы гражданского законодательства СССР, 1961, ст. ст. 16—17, ГК РСФСР, ст. ст. 78—91 и др.).

Законодательством Союза ССР установлены общие сроки исковой Д.: 3 года — по искам граждан и к гражданам; 1 год — по искам государственных организаций, колхозов и иных кооперативных и обществ, организаций друг к другу. Сокращённые сроки исковой Д. (соответственно менее 3 лет и 1 года) предусмотрены для отдельных видов требований, вытекающих из отношений, регулирование которых отнесено к ведению Союза ССР. В ряде случаев эти сроки указаны в ГК союзных республик. Например, 6-месячные сроки Д. применяются по искам: о взыскании неустойки (штрафа, пени); о недостатках проданных вещей; о поставке продукции ненадлежащего качества или некомплектной продукции; о недостатках выполненной по договору подряда работы; перевозчика к отправителям, получателям или к пассажирам (для требований к перевозчику срок исковой Д. — 2 месяца). Не допускается сокращение или удлинение сроков Д. по соглашению сторон.

Течение срока исковой Д. начинается со дня возникновения права на иск, т. е., когда лицо узнало или должно было узнать о нарушении своего права. В некоторых случаях возникновение права на иск закон приурочивает к моменту установления факта нарушения права (например, с момента установления покупателем в надлежащем порядке недостатков или некомплектности продукции).

Течение срока исковой Д. приостанавливается: если предъявлению иска воспрепятствовала непреодолимая сила ; в силу моратория ; если истец или ответчик находятся в составе Вооруженных Сил СССР, переведённых на военное положение (если указанные выше обстоятельства возникли или продолжали существовать в последние 6 месяцев течения срока Д., а если этот срок менее 6 месяцев — в течение срока Д.). Со дня прекращения этих обстоятельств течение срока Д. продолжается, при этом оставшаяся часть срока удлиняется до 6 месяцев, а если срок исковой Д. был менее 6 месяцев — до полного срока Д.

Поделиться:
Популярные книги

Восход. Солнцев. Книга I

Скабер Артемий
1. Голос Бога
Фантастика:
фэнтези
попаданцы
аниме
5.00
рейтинг книги
Восход. Солнцев. Книга I

Мастер...

Чащин Валерий
1. Мастер
Фантастика:
героическая фантастика
попаданцы
аниме
6.50
рейтинг книги
Мастер...

Газлайтер. Том 18

Володин Григорий Григорьевич
18. История Телепата
Фантастика:
попаданцы
аниме
фэнтези
5.00
рейтинг книги
Газлайтер. Том 18

Камень. Книга 4

Минин Станислав
4. Камень
Фантастика:
боевая фантастика
7.77
рейтинг книги
Камень. Книга 4

Кровь на эполетах

Дроздов Анатолий Федорович
3. Штуцер и тесак
Фантастика:
альтернативная история
7.60
рейтинг книги
Кровь на эполетах

Наследник павшего дома. Том IV

Вайс Александр
4. Расколотый мир
Фантастика:
фэнтези
попаданцы
аниме
5.00
рейтинг книги
Наследник павшего дома. Том IV

Отмороженный 13.0

Гарцевич Евгений Александрович
13. Отмороженный
Фантастика:
боевая фантастика
попаданцы
рпг
фантастика: прочее
фэнтези
5.00
рейтинг книги
Отмороженный 13.0

На границе империй. Том 9. Часть 5

INDIGO
18. Фортуна дама переменчивая
Фантастика:
космическая фантастика
попаданцы
5.00
рейтинг книги
На границе империй. Том 9. Часть 5

Испытание морем

Распопов Дмитрий Викторович
4. 30 сребреников
Фантастика:
попаданцы
альтернативная история
фэнтези
фантастика: прочее
5.00
рейтинг книги
Испытание морем

Я уже князь. Книга XIX

Дрейк Сириус
19. Дорогой барон!
Фантастика:
юмористическое фэнтези
попаданцы
аниме
5.00
рейтинг книги
Я уже князь. Книга XIX

Черный Маг Императора 5

Герда Александр
5. Черный маг императора
Фантастика:
юмористическое фэнтези
попаданцы
аниме
5.00
рейтинг книги
Черный Маг Императора 5

Аристократ из прошлого тысячелетия

Еслер Андрей
3. Соприкосновение миров
Фантастика:
фэнтези
попаданцы
аниме
5.00
рейтинг книги
Аристократ из прошлого тысячелетия

Я не князь. Книга XIII

Дрейк Сириус
13. Дорогой барон!
Фантастика:
юмористическое фэнтези
попаданцы
аниме
5.00
рейтинг книги
Я не князь. Книга XIII

Чехов. Книга 2

Гоблин (MeXXanik)
2. Адвокат Чехов
Фантастика:
фэнтези
альтернативная история
аниме
5.00
рейтинг книги
Чехов. Книга 2