Чтение онлайн

на главную - закладки

Жанры

Большая Советская Энциклопедия (ВА)
Шрифт:

Лит.: Дэшман С., Научные основы вакуумной техники, пер. с англ., М., 1964; Эшбах Г. Л., Практические сведения по вакуумной технике, М.—Л., 1966; Лекк Д. Х., Измерение давления в вакуумных системах, пер. с англ., М., 1966; Востров Г. А. и Розанов Л. Н., Вакуумметры, Л., 1967.

А. П. Аверина, А. М. Григорьев, Л. П. Хавкин.

Рис. 6. Лампа Байярда-Альперта: 1 — анод; 2 — катод; 3 — коллектор; А — анод.

Рис. 7. Вакуумметр Лафферти: 1 — катод; 2 — анод; 3 — коллектор; 4 — экран; 5 — магнит; Н — напряжённость магнитного

поля.

Рис. 2. Жидкостный U-oбразный вакуумметр с открытым (а) и закрытым (б) коленом.

Рис. 5. Схема ионизационного вакуумметра: А — анод; К — катод; Кол — коллектор.

Рис. 8. Схема магнитного электроразрядного вакуумметра: р — давление, N и S — сев. и юж. полюсы магнита; А — анод; К — катод; Н — нарпряженность магнитного поля; Г — гальванометр.

Рис. 3. Мембранный вакуумметр: 1 — мембрана; 2 — корпус; 3 — передняя прозрачная поверхность вакуумметра; 4 — присоединительный фланец; 5 — система рычагов; 6 — стрелка.

Рис. 4. Схема компрессионного вакуумметра Мак-Леода.

Рис. 1. Диапазоны рабочих давлений различных вакуумметров (пунктирными линиями показаны предельные давления).

Вакуумная арматура

Ва'куумная армату'ра, комплект вспомогательных, обычно типовых устройств вакуумной системы. Требования, предъявляемые к В. а.: весьма высокая герметичность всех её деталей и соединений и очень малое отделение газа с её стенок и уплотнителей. К В. а. относятся: вентили запорные и регулирующие с ручным (рис. 1 ), электрическим, гидравлическим или пневматическим приводом; затворы для перекрытия проходов с большим поперечным сечением, с теми же видами привода; натекатели клапанного и игольчатого типов, служащие для точного дозирования весьма малых количеств газа, или трубчатого типа, открывающие проток газа при нагревании капиллярной трубки (рис. 2 ); вводы электроэнергии, охлаждающей воды или жидких газов; окна смотровые для наблюдения за процессами в вакууме и для вывода различных видов излучения; некоторые виды устройств для передачи в вакуумные объёмы механического движения и др. К В. а. также причисляют механические вакуумметры (остальные их типы, ввиду многообразия и сложности, составляют самостоятельную область вакуумной техники; см. Вакуумметрия ).

Соединения В. а. низкого вакуума уплотняются прокладками из вакуумной резины, подвижные штоки — сальниковыми устройствами специальной конструкции. В системах высокого и сверхвысокого вакуума для подвижных штоков обычно применяются сильфоны, отделяющие приводной механизм от вакуумного объёма (см. рис. 1 ). Прокладки для В. а. сверхвысокого вакуума делают из специальных сортов термостойкой резины, некоторых видов пластмасс или из пластичных металлов.

Лит.: Ланис В. А., Левина Л. Е., Техника вакуумных испытаний, 2 изд., М. — Л., 1963; Пипко А. И., Плисковский В. Я., ПенчкоЕ. А., Оборудование для откачки вакуумных приборов, М. — Л., 1965.

А. В. Балицкий.

Рис. 2. Трубчатый вакуумный натекатель: 1 — капиллярная трубка; 2 — проволока; 3 — подогреватель (показана его обмотка).

Рис. 1. Схема вакуумного сильфонного вентиля с ручным управлением.

Вакуумная

плавка

Ва'куумная пла'вка, плавка металлов и сплавов под пониженным давлением, чаще всего 10– 1 —10– 4 н /м2 (10– 3 —10– 6 мм рт . ст .). Позволяет эффективно очищать металл от газов (азота, кислорода и водорода), примесей цветных металлов и неметаллических включений; успешно используется в производстве металлов для особо ответственных изделий. Эту плавку осуществляют в вакуумных электропечах. В. п. металлов и сплавов получила промышленное применение в начале 50-х гг. 20 в. Этим методом в СССР ежегодно выплавляют сотни тыс. т высококачественных сталей, сплавов и чистых металлов.

Вакуумная спектроскопия

Ва'куумная спектроскопи'я, спектроскопия коротковолновой ультрафиолетовой области и мягких рентгеновских лучей (длиной волны от 200 до 0,4—0,6 нм , или от 2000 до 4—6A. Излучение в этом диапазоне длин волн сильно поглощается в воздухе, поэтому в В. с. спектральный прибор, приёмник и источник излучения помещают в герметическую камеру, из которой откачан воздух до давления 10– 4 — 10– 5мм рт . ст . (10– 2 —10– 3н /м2 ). Камеру часто наполняют инертными газами (например, гелием), которые не поглощают излучение. Источником излучения в В. с. чаще всего служит высоковольтная вакуумная (или «горячая») искра, работающая при напряжении 50 кв и искровом промежутке около 1 мм . Установка, создающая искру, помещена в одной камере со спектральным прибором.

Приборы и методы, применяемые в В. с., обладают специфическими. особенностями, обусловленными непрозрачностью обычных оптических материалов для коротковолновой области. Для длин волн меньше 110 нм (1100 A) вместо приборов с обычными призмами и линзами применяют спектрографы с вогнутыми дифракционными решётками из стекла либо изогнутыми кристаллами (например, слюда), действующими как дифракционная решётка .

Исследование спектров испускания и поглощения в ультрафиолетовой области имеет большое значение для изучения строения внутренних электронных оболочек атома, систематики атомных и электронных молекулярных спектров , для расшифровки спектров звёзд и туманностей. Особенно большое значение имеет В. с. для физики высокотемпературной плазмы.

Лит.: Сойер Р., Экспериментальная спектроскопия, пер. с англ., М., 1953; Гаррисон Д., Лорд Р., Луфбуров Д., Практическая спектроскопия, пер. с англ., М., 1950.

Вакуумная техника

Ва'куумная те'хника, совокупность методов и аппаратуры для получения, поддержания и контроля вакуума.

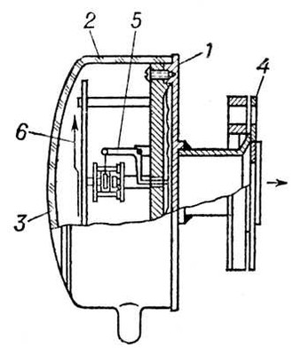
История развития физики и химии, а также ряда отраслей промышленности неразрывно связана с развитием В. т. Герон из Александрии (вероятно, 1 в.) описывает приспособления (рис. 1 и 2 ), которые можно считать прототипами пневматических механизмов, использованных позднее для создания разрежения. Первые опыты с вакуумом относятся к 40-м гг. 16 в. В 1654 немецкий учёный О. фон Герике поставил опыт с Магдебургскими полушариями, наглядно показав существование атмосферного давления. Насос, которым он пользовался, был первым насосом для получения вакуума (рис. 3 ).

Изготовление ламп накаливания (1879) вызвало дальнейшее развитие В. т. Значительный вклад в В. т. внёс немецкий учёный В. Геде. В 1905 он впервые применил вращательный ртутный насос, в 1913 создал первый молекулярный насос (рис. 4 ), в 1915 опубликовал отчёт о диффузионном насосе (рис. 5 ). В 1916 американский учёный Ленгмюр создал конденсационный парортутный насос (рис. 6 ).

Поделиться:
Популярные книги

Жена неверного генерала, или Попаданка на отборе

Удалова Юлия
Любовные романы:
любовно-фантастические романы
5.00
рейтинг книги
Жена неверного генерала, или Попаданка на отборе

Боевая ботаника и с чем ее едят

Дэвлин Джейд
Любовные романы:
любовно-фантастические романы
5.00
рейтинг книги
Боевая ботаника и с чем ее едят

Неудержимый. Книга XIV

Боярский Андрей
14. Неудержимый
Фантастика:
фэнтези
попаданцы
аниме
5.00
рейтинг книги
Неудержимый. Книга XIV

Сирота

Шмаков Алексей Семенович
1. Светлая Тьма
Фантастика:
юмористическое фэнтези
городское фэнтези
аниме
5.00
рейтинг книги
Сирота

Великий род

Сай Ярослав
3. Медорфенов
Фантастика:
юмористическое фэнтези
попаданцы
аниме
5.00
рейтинг книги
Великий род

Газлайтер. Том 14

Володин Григорий Григорьевич
14. История Телепата
Фантастика:
попаданцы
аниме
фэнтези
5.00
рейтинг книги
Газлайтер. Том 14

Попаданка в деле, или Ваш любимый доктор - 2

Марей Соня
2. Попаданка в деле, или Ваш любимый доктор
Любовные романы:
любовно-фантастические романы
7.43
рейтинг книги
Попаданка в деле, или Ваш любимый доктор - 2

Спасите меня, Кацураги-сан! Том 2

Аржанов Алексей
2. Токийский лекарь
Фантастика:
городское фэнтези
попаданцы
дорама
фэнтези
5.00
рейтинг книги
Спасите меня, Кацураги-сан! Том 2

Последний натиск на восток ч. 2

Чайка Дмитрий
7. Третий Рим
Фантастика:
попаданцы
альтернативная история
7.50
рейтинг книги
Последний натиск на восток ч. 2

Купец из будущего 2

Чайка Дмитрий
2. Третий Рим
Фантастика:
попаданцы
альтернативная история
5.00
рейтинг книги
Купец из будущего 2

Отморозок 1

Поповский Андрей Владимирович
1. Отморозок
Фантастика:
попаданцы
5.00
рейтинг книги
Отморозок 1

Личник

Валериев Игорь
3. Ермак
Фантастика:
альтернативная история
6.33
рейтинг книги
Личник

Ваше Сиятельство 6

Моури Эрли
6. Ваше Сиятельство
Фантастика:
попаданцы
аниме
5.00
рейтинг книги
Ваше Сиятельство 6

Мужчина не моей мечты

Ардова Алиса
1. Мужчина не моей мечты
Любовные романы:
любовно-фантастические романы
8.30
рейтинг книги
Мужчина не моей мечты