Чтение онлайн

на главную - закладки

Жанры

Электричество дома и на даче
Шрифт:

стальная …………………………………………………………..8-20

Примерный перечень электротехнических устройств, необходимых для устройства электропроводки в хозяйственной постройке со средним набором помещений:

Трубостойка, шт. … ……………………………………………………..1

Светильник, шт.:

подвесной ………………………………………………………4

настенный …….…………………………………………………2

Выключатель однополюсный брызгонепроницаемый, шт. …………..6

Кабель АНРГ сечением 2x2,5 мм2, м …………………………………….40

Типы и количество электротехнических устройств определяет проектное решение конкретного объекта.

Наименьшие сечения проводов групповой сети освещения и штепсельных розеток – 1,5 мм2

для медных жил и 2 мм2 для алюминиевых и алюмомедных. Вводы питающих линий в квартиру от трубостойки до квартирного счетчика – 2,5 мм2 для медных жил и 4 мм2 для алюмомедных и алюминиевых.

Молниезащита домов и хозяйственных построек

Молния – это электрический разряд, возникающий в атмосфере между разноименно заряженными облаками, их частями или между облаком и землей.

Чаще всего удары молнии поражают места, возвышающиеся над окружающей поверхностью, наиболее высокие объекты в массиве застройки и остроконечные предметы – вышки, отдельно стоящие деревья, дымовые трубы и др.

На вероятность поражения молнией влияют электропроводность слоев земли, ближайших к поверхности, а также уровень грунтовых вод.

Во время разряда молнии через пораженный объект в течение стотысячных долей секунды протекает электрический ток в несколько тысяч ампер, обусловленный разрядом атмосферного электричества. Механические, тепловые и электромагнитные воздействия, сопровождающие грозовой разряд, могут оказаться причиной травмирования людей и животных, пожара, разрушения строений и появления перенапряжений в проводах, но токи молнии не разрушают металлические проводники достаточно большого сечения. Под достаточно большим сечением для стали можно принять 30?50 мм2, что соответствует проводу диаметром 6?8 мм.

Для защиты зданий от ударов молнии сооружают молниеотводы (рис. 7), представляющие собой молниеприемник (металлический стержень, поднятый на соответствующую высоту), токоотводящий спуск и заземлитель. Молниеотвод принимает удар молнии на себя и отводит ток молнии в землю. Токоотводящий спуск от молниеприемника к заземлителю прокладывают по возможности кратчайшим путем, не допуская изгибов провода под острым углом, иначе может возникнуть искровой разряд между близко расположенными участками провода и, как следствие, воспламенение.

Рис. 7. Молниеотвод:

1 – молниеприемник; 2 – токоотвод; 3 – заземлитель; 4 – молниеприемник из трубы; 5 – сварка; 6 – молниеотвод; 7 – молниеприемник из уголка; 8 – молниеприемник из проволоки сечением 6-10 мм

Высоту молниеотвода и место его установки выбирают так, чтобы он полностью защитил постройку от удара молнии. Действенность молниеотвода оценивают по его защитной зоне, граница которой представляет собой коническую поверхность с острием на вершине молниеотвода и основанием в виде окружности радиусом в полтора раза большим, чем высота. Все, что находится внутри зоны, достаточно надежно защищено от прямых ударов молнии.

Молниеотводами защищают здания, возвышающиеся над остальной застройкой или деревьями более чем на 25 м,

и отдельно стоящие здания, не входящие в массив застройки, если они удалены от деревьев. Защита от прямых ударов молнии – составная часть проекта здания и не связана с его электрификацией. Сооружают молниезащиту в процессе строительства.

Кроме молниезащиты, надо позаботиться также о защите от перенапряжений.

Электромагнитные воздействия грозового разряда создают в проводах, близлежащих к ВЛ, повышенные потенциалы (перенапряжения). Чтобы предотвратить их проникновение в помещения по проводам ВЛ, заземляют крюки, на которых установлены изоляторы, и по возможности между фазным проводом и заземляющим спуском монтируют вентильные разрядники РВН-0,5.

Заземление крюков не обеспечивает полной защиты от заноса в здания опасных потенциалов по проводам воздушных электролиний, поэтому в сельской местности во время грозы не следует приближаться к электропроводке и проводам радиотрансляционной сети на расстояние менее 0,3–0,5 м; прикасаться к приборам, присоединенным к электрической сети; не следует также находиться ближе 3–5 м от заземляющего спуска.

Ответвление и заземление

Ответвление выполняют без установки дополнительных опор, если его длина от ВЛ не более 25 м. Для ответвления рекомендуется применять изолированные провода, но допускается и неизолированные; в этом случае на каждый провод можно надеть мягкую изоляционную трубку.

Если длина ответвления превышает 25 м, необходима установка дополнительных опор. От ВЛ до последней опоры монтируют неизолированный провод, а от последней опоры до строения – изолированный.

Наименьшее допустимое сечение (мм2) проводов для ответвлений индивидуальным потребителям по условиям механической прочности составляет:

Трехфазное (четырехпроводное) ответвление удобнее выполнять четырехжильным проводом марки АВТВ или АВТУ со встроенным несущим тросом, сечение алюминиевых токоведущих жил при этом может быть не менее 4 мм2, так как механическую нагрузку воспринимают не они, а трос.

Несущий трос наглухо закрепляют и присоединяют (рис. 8) к нулевому проводу. Для крепления троса на опоре ставят дополнительный изолятор.

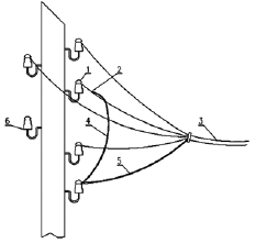
Рис. 8. Ответвление от ВЛ проводом с несущим тросом:

1 – дополнительный изолятор; 2 – трос; 3 – провода ответвления; 4 – зануление троса; 5 – нулевая жила; 6 – изолятор для провода наружного освещения

На стене здания также устанавливают изоляторы. Для проводов АВТВ, АВТУ нужен один изолятор, на котором закрепляют несущий трос, в остальных случаях – по числу проводов: два изолятора при однофазном вводе или четыре при трехфазном. Применяют фарфоровые или стеклянные изоляторы типов ТФ-12, ТФ-16, РФО-12 или НС-16.

Расстояние от проводов ответвления до земли при пересечении проезжей части должно быть не менее 6 м, при пересечении пешеходной дорожки – не менее 3,5 и у изоляторов на стене – не менее 2,75 м (рис. 9).

Поделиться:
Популярные книги

Законы Рода. Том 6

Андрей Мельник
6. Граф Берестьев
Фантастика:
юмористическое фэнтези
аниме
5.00
рейтинг книги
Законы Рода. Том 6

Предопределение

Осадчук Алексей Витальевич
9. Последняя жизнь
Фантастика:
фэнтези
попаданцы
аниме
5.00
рейтинг книги
Предопределение

Князь II

Вайт Константин
4. Аннулет
Фантастика:
попаданцы
альтернативная история
аниме
5.00
рейтинг книги
Князь II

Скандальный развод, или Хозяйка владений "Драконье сердце"

Милославская Анастасия
Фантастика:
попаданцы
фэнтези
5.00
рейтинг книги
Скандальный развод, или Хозяйка владений Драконье сердце

Идеальный мир для Лекаря 14

Сапфир Олег
14. Лекарь
Фантастика:
юмористическое фэнтези
попаданцы
аниме
5.00
рейтинг книги
Идеальный мир для Лекаря 14

Сфирот

Прокофьев Роман Юрьевич
8. Стеллар
Фантастика:
боевая фантастика
рпг
6.92
рейтинг книги
Сфирот

Эра Мангуста. Том 2

Третьяков Андрей
2. Рос: Мангуст
Фантастика:
фэнтези
попаданцы
аниме
5.00
рейтинг книги
Эра Мангуста. Том 2

Девяностые приближаются

Иванов Дмитрий
3. Девяностые
Фантастика:
попаданцы
альтернативная история
7.33
рейтинг книги
Девяностые приближаются

На границе империй. Том 9. Часть 5

INDIGO
18. Фортуна дама переменчивая
Фантастика:
космическая фантастика
попаданцы
5.00
рейтинг книги
На границе империй. Том 9. Часть 5

Эволюционер из трущоб. Том 2

Панарин Антон
2. Эволюционер из трущоб
Фантастика:
космическая фантастика
попаданцы
5.00
рейтинг книги
Эволюционер из трущоб. Том 2

Хозяин Теней 4

Петров Максим Николаевич
4. Безбожник
Фантастика:
попаданцы
аниме
фэнтези
5.00
рейтинг книги
Хозяин Теней 4

Темный Лекарь 6

Токсик Саша
6. Темный Лекарь
Фантастика:
аниме
фэнтези
5.00
рейтинг книги
Темный Лекарь 6

Метатель. Книга 4

Тарасов Ник
4. Метатель
Фантастика:
боевая фантастика
попаданцы
постапокалипсис
рпг
фэнтези
5.00
рейтинг книги
Метатель. Книга 4

Моя простая курортная жизнь 4

Блум М.
4. Моя простая курортная жизнь
Любовные романы:
эро литература
5.00
рейтинг книги
Моя простая курортная жизнь 4