Чтение онлайн

на главную - закладки

Жанры

Электричество дома и на даче
Шрифт:

Сменные плавкие вставки заводского изготовления представляют собой заполненные песком фарфоровые или стеклянные трубки, на концы которых надеты металлические колпачки, соединенные между собой плавким мостиком (калиброванной проволокой).

Номинальные токи плавких вставок исполнения I – 6 и 10 А; исполнения II – 6, 10, 16, 20, 25, 40 и 60 А.

При прохождении через плавкие вставки тока, превышающего в 1,6–2 раза номинальный (в зависимости от исполнения), они плавятся в течение 1 ч, при прохождении токов КЗ срабатывают сразу же и прерывают электрическую цепь.

При перегорании плавкой вставки ее следует заменить. Для этого плавкие вставки устанавливают

в головку предохранителя (рис. 18). Головки исполнения II имеют индикаторы срабатывания.

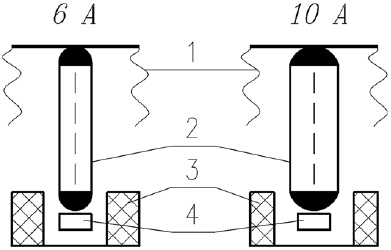
На фарфоровом основании предохранителя закреплена контактная пластина, один конец которой размещен в контрольной фарфоровой гильзе с отверстием в центре. Диаметр отверстия выполняют таким, что в него входит плавкая вставка только определенного диаметра (диаметр вставки определяется ее номинальным током): чем он больше, тем больше номинальный ток. В предохранителях на 6 А диаметр отверстия равен 7 мм, и в него можно установить плавкую вставку диаметром 6 мм. Установить в такой предохранитель плавкую вставку на номинальный ток 10 А, диаметр которой 8 мм, не удастся, так как при этом замкнуть электрическая цепь не позволит конструктивное исполнение контрольной гильзы, которое предотвращает возможные ошибки при эксплуатации и монтаже.

Контрольные гильзы в предохранителях на номинальный ток 20 и 60 А не устанавливают. Контрольные гильзы и индикаторы срабатывания окрашивают в зависимости от номинального тока плавкой вставки. Так, для 10 А гильза синяя, для 15 и 40 А – зеленая и для 6 и 25 А не окрашивается.

Рис. 18. Размещение плавких вставок в предохранителе:

– головка предохранителя; – плавкая вставка; – контактная пластина; – контрольная фарфоровая гильза

Защитными средствами энергосистемы дома служат предохранители и автоматические выключатели.

Резьбовые предохранители серии ПАР-6,3 или ПАР-10 имеют ряд преимуществ перед плавкими предохранителями: они обеспечивают более совершенную защиту, не требуют замены, просты в управлении. Автоматические предохранители имеют термобиметаллические и электромагнитные расцепители, осуществляющие защиту электрических цепей от перегрузок и токов короткого замыкания. При прохождении тока, в 2 раза превышающего номинальный, предохранитель срабатывает в течение 2,5 мин. Электромагнитный элемент имеет отсечку (мгновенное отключение) при 7?10-кратном токе по отношению к номинальному.

Автоматические выключатели (рис. 19) АБ-25 м и АЕ-1000 предназначены для защиты однофазных осветительных сетей от токов перегрузки и короткого замыкания, а также для включения и отключения этих цепей вручную.

Автоматический выключатель АЕ-1031 состоит из основания, крышки, механизма свободного расцепления, расцепителя максимального тока (теплового, электромагнитного или комбинированного) и дугогасительного устройства, представляющего собой камеру с деионной решеткой из стальных пластин. Электромагнитный расцепитель максимального тока срабатывает только при коротком замыкании без выдержки времени. Электромагнитный расцепитель содержит сердечник,

якорь и возвратную пружину. При коротком замыкании якорь притягивается к сердечнику и воздействует на отключающий элемент, вызывая быстрое срабатывание (отключение) выключателя. Тепловой расцепитель срабатывает с обратнозависимой от тока выдержкой времени при перегрузках и коротком замыкании.

Автоматический выключатель АБ-25 м имеет тепловой расцепитель, биметаллический термоэлемент которого соединяется последовательно с коммутирующей контактной системой. При возникновении токов короткого замыкания или перегрузке термоэлемент изгибается, освобождая при этом рычаг механизма отключения; выключатель срабатывает, контакты размыкаются. Номинальные токи расцепителей устанавливаются на заводе-изготовителе и в процессе эксплуатации не регулируются. Изменять установки расцепителей нельзя.

При перегрузке или токах короткого замыкания, превышающих установку тока срабатывания, контактная система отключается автоматически, причем вне зависимости от того, будет или не будет удерживаться рукоятка управления вручную. Иными словами, механизм свободного расцепления выключателей обеспечивает мгновенное замыкание или размыкание контактной системы при автоматическом или ручном управлении.

Рис. 19. Выключатель автоматический:

1 – корпус; 2 – указатель срабатывания; 3 – рукоятка управления.

Позиции рукоятки управления: I – включен; II – выключатель отключился автоматически; III – отключение вручную; IV – взвод для автоматическою срабатывания

На автоматическое отключение выключателей указывает рукоятка управления, которая устанавливается в соответствующее положение. Для включения выключателя после срабатывания рукоятку необходимо перевести в положение взвода для автоматического срабатывания, а затем перевести в положение «включен».

Для защиты от перенапряжения (через предохранители и автоматические выключатели) и учета потребляемой электроэнергии используют счетчики. Они бывают одно– и трехфазными.

Устанавливают счетчик в соответствии с требованиями ПУЭ. В месте крепления кожуха счетчика должна быть пломба с клеймом, указывающим срок его проверки.

При установке трехфазных счетчиков давность пломбы должна быть не более 12 месяцев, однофазных – не более 2 лет. Внешний вид счетчиков должен свидетельствовать о правильности его хранения. Крышку колодки для подключения проводов пломбирует служба владельца сетей при допуске счетчика к эксплуатации или при его замене. Ответственность за сохранность и целостность счетчика и пломб на нем несет потребитель. Владелец сетей обеспечивает плановую замену счетчиков, принятых на обслуживание, в сроки, установленные Госстандартом.

При нарушении проводки к счетчику и его повреждении по вине потребителя ремонт, замену и проверку аппарата оплачивает потребитель. Кроме того, энергоснабжающая организация имеет право требовать приобретения нового электросчетчика взамен поврежденного.

Для нормальной работы счетчика нужно соблюдать следующие требования:

Счетчик нужно расположить в сухом помещении с температурой в зимнее время не ниже 0 °C. Загромождать подход к счетчику нельзя.

Высота от пола до места подключения проводов к счетчику 0,8–1,7 м.

Поделиться:
Популярные книги

Александр Агренев. Трилогия

Кулаков Алексей Иванович
Александр Агренев
Фантастика:
альтернативная история
9.17
рейтинг книги
Александр Агренев. Трилогия

Отмороженный 8.0

Гарцевич Евгений Александрович
8. Отмороженный
Фантастика:
постапокалипсис
рпг
аниме
5.00
рейтинг книги
Отмороженный 8.0

Князь

Мазин Александр Владимирович
3. Варяг
Фантастика:
альтернативная история
9.15
рейтинг книги
Князь

Идеальный мир для Лекаря 15

Сапфир Олег
15. Лекарь
Фантастика:
боевая фантастика
юмористическая фантастика
аниме
5.00
рейтинг книги
Идеальный мир для Лекаря 15

Кодекс Охотника. Книга VII

Винокуров Юрий
7. Кодекс Охотника
Фантастика:
фэнтези
попаданцы
аниме
4.75
рейтинг книги
Кодекс Охотника. Книга VII

(Не)свободные, или Фиктивная жена драконьего военачальника

Найт Алекс
Любовные романы:
любовно-фантастические романы
5.00
рейтинг книги
(Не)свободные, или Фиктивная жена драконьего военачальника

Система Возвышения. (цикл 1-8) - Николай Раздоров

Раздоров Николай
Система Возвышения
Фантастика:
боевая фантастика
4.65
рейтинг книги
Система Возвышения. (цикл 1-8) - Николай Раздоров

Новые горизонты

Лисина Александра
5. Гибрид
Фантастика:
попаданцы
технофэнтези
аниме
сказочная фантастика
фэнтези
5.00
рейтинг книги
Новые горизонты

Весь цикл «Десантник на престоле». Шесть книг

Ланцов Михаил Алексеевич
Десантник на престоле
Фантастика:
альтернативная история
8.38
рейтинг книги
Весь цикл «Десантник на престоле». Шесть книг

Мир-о-творец

Ланцов Михаил Алексеевич
8. Помещик
Фантастика:
альтернативная история
5.00
рейтинг книги
Мир-о-творец

Ведьмак (большой сборник)

Сапковский Анджей
Ведьмак
Фантастика:
фэнтези
9.29
рейтинг книги
Ведьмак (большой сборник)

Личный аптекарь императора. Том 2

Карелин Сергей Витальевич
2. Личный аптекарь императора
Фантастика:
городское фэнтези
попаданцы
аниме
5.00
рейтинг книги
Личный аптекарь императора. Том 2

Восход. Солнцев. Книга I

Скабер Артемий
1. Голос Бога
Фантастика:
фэнтези
попаданцы
аниме
5.00
рейтинг книги
Восход. Солнцев. Книга I

На границе империй. Том 8. Часть 2

INDIGO
13. Фортуна дама переменчивая
Фантастика:
космическая фантастика
попаданцы
5.00
рейтинг книги
На границе империй. Том 8. Часть 2