Чтение онлайн

на главную - закладки

Жанры

Наставление по стрелковому делу 7,62-мм ручной пулемет Дегтярева (РПД)
Шрифт:

— снаружи — пазы для спусковой рамы, чеку для соединения спусковой рамы со ствольной коробкой, кронштейн для коробки с лентой;

— сверху — продольное окно для стойки затворной рамы, окно для прохода патрона, вырез для основания приемника, ушко для присоединения колодки приемника, две перемычки, из которых задняя имеет выемку для зуба защелки крышки ствольной коробки;

а

б

Рис. 14.

Ствольная коробка:

а — вид слева; б — вид снизу; 1 — направляющие пазы; 2 — отражатель; 3 — пазы для спусковой рамы; 4 — чека; 5 — кронштейн; 6 — продольное окно; 7 — окно для прохода патрона; 8 — вырез для основания приемника; 9 — ушко; 10 — перемычки

— с правой стороны — продольный вырез с отверстием для рукоятки перезаряжания; вырез закрывается щитком, предотвращающим попадание пыли в ствольную коробку.

В пулеметах с измененной конструкцией рукоятки перезаряжания ствольная коробка вместо сквозного продольного выреза имеет паз для основания рукоятки перезаряжания, а на правой стенке снизу — вырез для ее выступа.

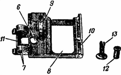
15. Кронштейн (рис. 15) служит для присоединения к пулемету коробки с лентой. Он прикреплен к ствольной коробке с левой стороны и имеет выступы, на которые надвигается своим зацепом коробка, и флажок с осью и пластинчатой пружиной для закрепления коробки на кронштейне.

Рис. 15. Кронштейн:

1 — выступы для зацепа коробки; 2 — флажок; 3 — ось флажка; 4 — пластинчатая пружина

16. Крышка ствольной коробки (рис. 16) служит для закрывания ствольной коробки и расположения механизма подачи ленты.

Крышка присоединена к колодке приемника и закрепляется на ней трубчатой осью с разрезной чекой. В передней части крышки имеются отверстие для кольцевого выступа большого рычага и направляющие выступы для колодки приемника; в задней части — защелка крышки ствольной коробки; снизу крышки — планка для упора пружины защелки, пластинчатая пружина и ось малого рычага. На крышке смонтирован прицел и нанесен номер пулемета.

а

б

Рис. 16. Крышка ствольной коробки:

а — вид слева; б — вид снизу; 1 — отверстие для кольцевого выступа большого рычага; 2 — направляющие выступы для колодки приемника; 3 — защелка; 4 — планка; 5 — пластинчатая пружина; 6 — ось малого рычага; 7 — прицел

17. Приемник (рис. 17) служит для подачи ленты с патронами при стрельбе. Он состоит из основания, колодки и механизма подачи ленты. Основание вместе с колодкой образуют поперечное окно, по которому движется лента с патронами.

Основание приемника соединено со ствольной коробкой при помощи ушка и составляет нижнюю часть приемника. Оно имеет: палец с пружиной, удерживающий ленту от выпадания; отсекатель патрона, который отделяет патрон от ленты и ограничивает продвижение патрона вправо; продольное

окно для прохода патрона и досылателя затвора; поперечный выступ для направления патронов.

а

б

в

Рис. 17. Приемник:

а — приемник в собранном виде; б — основание приемника; в — колодка приемника; 1 — палец, удерживающий ленту от выпадания; 2 — отсекатель патрона; 3 — продольное окно; 4 — поперечный выступ; 5 — щиток; 6 — отверстие для трубчатой оси; 7 — проушины; 8 — окно для подавателя; 9 — фиксатор; 10 — фиксируюший выступ; 11 — пружинная защелка; 12 — трубчатая ось; 13 — разрезная чека; 14 — ось

К основанию приемника справа и слева прикреплены щитки, закрывающие поперечное окно и предохраняющие приемник от попадания в него пыли. В закрытом положении щитки удерживаются пружинными защелками. При заряжании пулемета щитки открываются автоматически: левый щиток — подавателем при оттягивании рукоятки перезаряжания назад, а правый — наконечником ленты при заряжании пулемета полностью снаряженной лентой. Если лента снаряжена не полностью, то правый щиток открывается при открывании крышки ствольной коробки. При приведении пулемета в походное положение щитки закрываются рукой.

Колодка приемника составляет верхнюю часть приемника. Она имеет: продольные пазы для крышки ствольной коробки; отверстие для трубчатой оси, соединяющей колодку с крышкой; проушины для соединения со ствольной коробкой; окно с направляющими выступами для подавателя; фиксатор с пружиной и фиксирующий выступ, которые обеспечивают правильное положение патрона в продольном окне приемника. К колодке прикреплена пружинная защелка, удерживающая крышку ствольной коробки в открытом положении.

Трубчатая ось, соединяющая колодку с крышкой, удерживается от выпадания разрезной чекой.

Колодка приемника крепится к ствольной коробке при помощи оси.

Механизм подачи (рис. 18) служит для передвижения (подачи) ленты с патронами к приемнику. Он состоит из подавателя, малого и большого рычагов подачи.

Рис. 18. Механизм подачи:

а — рычаги подачи в собранием виде; б — подаватель; в — малый рычаг подачи; г — большой рычаг подачи; 1 — продольный вырез подавателя; 2 — направляющие пазы подавателя; 3 — пальцы подачи; 4 — криволинейный паз; 5 — кольцевой выступ; 6 — выступ, приводящий в движение малый рычаг; 7 — выступ, препятствующий подъему малого рычага вверх; 8 — отверстие для прохода большого рычага; 9 — отверстие для оси; 10 — отверстие для выступа большого рычага

Поделиться:
Популярные книги

Законы Рода. Том 13

Андрей Мельник
13. Граф Берестьев
Фантастика:
аниме
фэнтези
5.00
рейтинг книги
Законы Рода. Том 13

Плеяда

Суконкин Алексей
Проза:
военная проза
русская классическая проза
5.00
рейтинг книги
Плеяда

Тайные поручения

Билик Дмитрий Александрович
6. Бедовый
Фантастика:
юмористическое фэнтези
городское фэнтези
мистика
5.00
рейтинг книги
Тайные поручения

Мастер 2

Чащин Валерий
2. Мастер
Фантастика:
фэнтези
городское фэнтези
попаданцы
технофэнтези
4.50
рейтинг книги
Мастер 2

Черный Маг Императора 5

Герда Александр
5. Черный маг императора
Фантастика:
юмористическое фэнтези
попаданцы
аниме
5.00
рейтинг книги
Черный Маг Императора 5

Купец из будущего 2

Чайка Дмитрий
2. Третий Рим
Фантастика:
попаданцы
альтернативная история
5.00
рейтинг книги
Купец из будущего 2

Попаданка в деле, или Ваш любимый доктор - 2

Марей Соня
2. Попаданка в деле, или Ваш любимый доктор
Любовные романы:
любовно-фантастические романы
7.43
рейтинг книги
Попаданка в деле, или Ваш любимый доктор - 2

Возвышение Меркурия. Книга 3

Кронос Александр
3. Меркурий
Фантастика:
попаданцы
аниме
5.00
рейтинг книги
Возвышение Меркурия. Книга 3

Неудержимый. Книга XVI

Боярский Андрей
16. Неудержимый
Фантастика:
фэнтези
попаданцы
аниме
5.00
рейтинг книги
Неудержимый. Книга XVI

Сирота

Ланцов Михаил Алексеевич
1. Помещик
Фантастика:
альтернативная история
5.71
рейтинг книги
Сирота

Росток

Ланцов Михаил Алексеевич
2. Хозяин дубравы
Фантастика:
попаданцы
альтернативная история
фэнтези
7.00
рейтинг книги
Росток

Возвышение Меркурия. Книга 17

Кронос Александр
17. Меркурий
Фантастика:
попаданцы
аниме
5.00
рейтинг книги
Возвышение Меркурия. Книга 17

Кодекс Охотника. Книга XIV

Винокуров Юрий
14. Кодекс Охотника
Фантастика:
боевая фантастика
попаданцы
аниме
5.00
рейтинг книги
Кодекс Охотника. Книга XIV

Эволюционер из трущоб. Том 6

Панарин Антон
6. Эволюционер из трущоб
Фантастика:
попаданцы
аниме
фэнтези
5.00
рейтинг книги
Эволюционер из трущоб. Том 6