Чтение онлайн

на главную - закладки

Жанры

Разведение рыбы, раков и домашней водоплавающей птицы
Шрифт:

Когда котлован будет готов, необходимо проверить, нет ли на склонах и дне ложа камней, выступающих корней деревьев и других острых предметов. На дно котлована и его стенки насыпают пласт песка толщиной 5–10 см, затем его выравнивают и трамбуют.

Далее подготавливают пленку. Ее размеры должны отвечать максимальной длине и ширине пруда плюс две глубины с учетом наклона стенок и по 25 см для прикрытия по краям. Чаще всего ширина стандартного рулона пленки составляет 6 м. Если пруд не вписывается в эти габариты, то пленку придется клеить. ПВХ и полиэтилен спаивают термическим способом. Покрытие из битум-каучуковой резины или Pondtex склеивают с помощью специальной клейкой ленты.

Подготовленную

пленку нужно натянуть и опустить в котлован так, чтобы она свободно лежала в яме. А потом необходимо прижать ее камнями по кругу, чтобы закрепить на месте.

Во время наполнения пруда водой нужно передвигать или убирать камни, разравнивая пленку, чтобы не было складок.

Декорирование краев пленки камнями, галькой или дерном

После того как водоем будет наполнен водой к запланированному уровню, нужно закрепить пленку и обрезать лишнее, задекорировав ее по краю плоскими камнями, галькой, плиткой или дерном, и высадить прудовые растения.

После этого осталось лишь закрепить техническое оборудование (насос, фильтры, ультрафиолетовый стерилизатор и т. п.), без которого нормальное функционирование водоема с замкнутым водоснабжением и существование его обитателей невозможно. Кроме основного оборудования можно также установить дополнительное: фонтаны, подсветку, искусственный водопад и т. п.

Рыбу заселяют только после того, как в пруду будет восстановлено биологическое равновесие.

При умелом дизайнерском оформлении пруд будет выглядеть как естественный водоем, а вокруг него можно устроить живописную лужайку с декоративным кустарником или цветочными клумбами.

Пруд с дождевым водоснабжением

Оборудовать приусадебный водоем с родниковым водоснабжением, если источники размещены на глубине не более 1,5 м, с речным или с искусственным водоснабжением, когда рядом есть буровая скважина, колодец или водопровод, – несложно. Но, к сожалению, иногда дачные или приусадебные участки расположены на холмах или в горной местности, где родниковые и подпочвенные воды залегают на очень большой глубине. При отсутствии водопровода никто и не задумывается о приусадебном водоеме, а урожайность садовых и огородных культур зависит только от погодных условий.

Как это ни странно, но сотни и даже тысячи лет назад наши предки, жившие в горных районах, сделали много интересных открытий.

Например, на плато горы в Бахчисарае был расположен старый город, в котором до наших дней хорошо сохранились водопровод и место для сбора дождевой воды. В старинных замках в Карпатах, на Кавказе, в межгорьях и предгорьях Туркмении, в Египте и во многих других местах земного шара сохранились подобные водопроводы и места для сбора воды. Дождевой водой поили скот, поливали насаждения, ее употребляли как питьевую воду во время осады городов. Ею наполняли и рвы вокруг крепостей.

В наше время отношение к дождевой воде далеко не однозначное и противоречивое. С одной стороны, при отсутствии своевременных дождей сельское хозяйство терпит огромные убытки. С другой стороны, развитие химической, металлургической и других отраслей промышленности приводит к выбросам в атмосферу кислот и других вредных токсичных веществ. Значительно ухудшает и без того сложную экологическую ситуацию и увеличение количества автомобилей, которые в основном работают на бензине и дизельном топливе.

Использование

дождевой воды для приусадебных прудов возможно, но подходить к этому нужно очень осторожно.

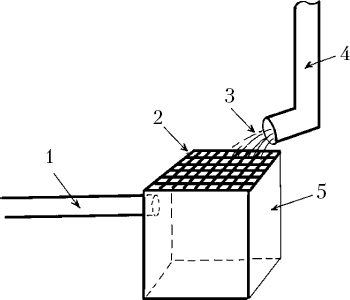
Прежде всего необходимо помнить, что вода, которая стекает с водосточных труб вашего дома, нуждается в грубом очищении от листвы и грязи, которая накапливается на поверхности крыши. Для этого на приемочные отстойники, которые расположены возле водосточных труб, устанавливают решетки с ячейками 5x5 мм. Как правило, отстойники под водосточными трубами делают прямоугольной формы глубиной не меньше 35–40 см. Отстойники бетонируют, прибавив к раствору жидкое стекло или другие вещества для гидроизоляции, чтобы не допустить просачивания воды под фундамент дома. От них по трубопроводам диаметром 50–70 мм воду отводят к отстойникам второй очереди.

Отстойник под водосточной трубой: 1 – трубопровод для отвода воды к отстойникам второй очереди; 2 – решетка; 3 – поступление воды из водосточной трубы на решетку отстойника; 4 – водосточная труба; 5 – отстойник

В качестве отстойников второй очереди можно использовать три обычные 200-литровые бочки. Верхние их части вырезают, чтобы обеспечить доступ во время периодического очищения дна от грязи. С внутренней стороны бочки окрашивают масляной краской, а с внешней – наносят 2–3 слоя битумной мастики с прослойкой стеклоткани. Бочки закапывают в землю рядом с водоемом выше уровня горизонта земли на 5–7 см. Трубопроводы от отстойников под водосточными трубами подводят к первой бочке. Бочки между собой соединяют трубопроводами диаметром 1,5–2 дюйма на уровне верхнего среза воды в водоеме.

Для уменьшения проникновения грязи из бочки в бочку на соединительный водопровод между бочками и водоемом устанавливают металлическую или капроновую сетку с ячейками соответственно 2,5, 2 и 1 мм.

Схема соединения второй очереди отстойников с прудом: 1 – ставок; 2 – отстойник; 3 – трубопровод для отвода воды от отстойника под водосточной трубой к отстойникам второй очереди; 4 – трубопровод, соединяющий отстойники; 5 – трубопровод, который соединяет последний отстойник с прудом; 6 – сетка-фильтр; 7 – крышка; 8 – трубопровод для отвода излишков воды; 9 – контейнер для водных растений

При отсутствии необходимого диаметра трубопроводов, а также при больших потоках воды из водосточных труб возможно двойное соединение между собой.

Схема двойного соединения отстойников второй очереди

Для защиты воды в бочках от солнечных лучей, которые служат причиной развития фитопланктона (цветение воды), их прикрывают металлическими крышками или деревянными дубовыми щитами, которые декорируют камнями, плитками или цветами в ящиках. При необходимости декорированные крышки должны легко сниматься для того, чтобы обеспечить доступ для очищения сеток на соединительных трубопроводах после каждого проливного дождя, а также для очищения дна бочек от накопленного ила 2–3 раза в год.

Поделиться:
Популярные книги

Законы рода

Андрей Мельник
1. Граф Берестьев
Фантастика:
фэнтези
боевая фантастика
аниме
5.00
рейтинг книги
Законы рода

Прометей: Неандерталец

Рави Ивар
4. Прометей
Фантастика:
героическая фантастика
альтернативная история
7.88
рейтинг книги
Прометей: Неандерталец

Эволюционер из трущоб

Панарин Антон
1. Эволюционер из трущоб
Фантастика:
попаданцы
аниме
фэнтези
фантастика: прочее
5.00
рейтинг книги
Эволюционер из трущоб

Хозяйка забытой усадьбы

Воронцова Александра
5. Королевская охота
Любовные романы:
любовно-фантастические романы
5.00
рейтинг книги
Хозяйка забытой усадьбы

Вечный. Книга V

Рокотов Алексей
5. Вечный
Фантастика:
боевая фантастика
попаданцы
рпг
5.00
рейтинг книги
Вечный. Книга V

Мастер 5

Чащин Валерий
5. Мастер
Фантастика:
попаданцы
аниме
5.00
рейтинг книги
Мастер 5

Ключи мира

Кас Маркус
9. Артефактор
Фантастика:
городское фэнтези
аниме
фэнтези
5.00
рейтинг книги
Ключи мира

Крестоносец

Ланцов Михаил Алексеевич
7. Помещик
Фантастика:
героическая фантастика
попаданцы
альтернативная история
5.00
рейтинг книги
Крестоносец

Студент из прошлого тысячелетия

Еслер Андрей
2. Соприкосновение миров
Фантастика:
героическая фантастика
попаданцы
аниме
5.00
рейтинг книги
Студент из прошлого тысячелетия

Я разорву эту помолвку!

Джейкобс Хэйли
Любовные романы:
любовно-фантастические романы
7.50
рейтинг книги
Я разорву эту помолвку!

Последний реанорец. Том IV

Павлов Вел
3. Высшая Речь
Фантастика:
фэнтези
5.20
рейтинг книги
Последний реанорец. Том IV

Бастард Императора. Том 7

Орлов Андрей Юрьевич
7. Бастард Императора
Фантастика:
городское фэнтези
попаданцы
аниме
фэнтези
5.00
рейтинг книги
Бастард Императора. Том 7

Дикая фиалка заброшенных земель

Рейнер Виктория
1. Попаданки рулят!
Любовные романы:
любовно-фантастические романы
эро литература
5.00
рейтинг книги
Дикая фиалка заброшенных земель

Чудовищная алхимия. Том 1

Тролль Борис Фёдорович
1. Мир в чужом кармане
Фантастика:
юмористическое фэнтези
попаданцы
фэнтези
5.00
рейтинг книги
Чудовищная алхимия. Том 1