Чтение онлайн

на главную - закладки

Жанры

Электричество: просто и безопасно [в вопросах и ответах]
Шрифт:

Какие еще сведения находятся на щитке электросчетчика?

Кроме указанных выше данных на щитке счетчика приведена наибольшая допустимая сила тока, которая, как правило, превышает номинальную в 3–3,5 раза. Если счетчик рассчитан на силу тока в 5 А, то наибольшая сила тока равна 15–17 А, а для счетчика на 10 А — 30–34 А.

Какой счетчик используется для трехфазного тока?

В случае если ответвление будет иметь три фазы, то вам потребуется установка трехфазного счетчика для четырехпроводной сети. При этом он должен быть рассчитан на напряжение 220-380В,

на 5 или 10 А.

Вместо одного трехфазного счетчика можно установить три однофазных, каждый из которых будет рассчитан на 220 В. В любом случае проводка от вводного устройства до щитка должна быть изготовлена из кабеля или изолированных проводов, помещенных в металлическую трубу.

В этом случае категорически запрещено использовать сращивание, пайку или иное нарушение цельности кабеля или провода.

Сечение жил нужно выбирать в зависимости от того, насколько мощными будут токоприемники. В любом случае оно должно быть не менее 4 мм2 для алюминиевого провода или 2,5 мм2 для провода, изготовленного из медных жил.

В каких случаях необходимо выбирать максимально возможную силу тока?

В случае если владелец электросети предварительно не оговорил максимальную силу тока, которая может проходить по проводам, то все защитные устройства должны отключать электричество, если сила тока достаточно длительное время будет более 25 А. В этом случае нужно устанавливать автоматический выключатель, рассчитанный на 20 или 25 А.

При монтировании электропроводки, которая будет подключаться к счетчику, нужно оставлять концы проводов, причем длина их должна составлять 120 мм или немного более. Изоляция или же оболочка нулевого провода на 10 см перед счетчиком должна быть окрашена, чтобы этот провод можно было сразу узнать при необходимости проведения ремонтных работ.

Как от вводного устройства подводят проводку к счетчику?

В зависимости от расположения помещений в вашем жилище до счетчика проводка может проходить как внутри строения, так и непосредственно в самом здании. Проход трубы через стену нужно дополнительно уплотнять с помощью битума или цементно-алебастрового раствора.

Чтобы не допустить повреждений оболочки кабеля в месте, где он проходит через стену, нужно использовать отрезок трубы. В этом случае не важно, из чего эта труба изготовлена — металл или пластмасса. С наружной стороны на конец этой трубы придется надеть воронку, с внутренней же стороны надевается втулка. Для того чтобы не допустить попадания влаги в дом, необходимо лишнее пространство заполнить битумной заливкой.

Где располагают учетно-распределительные щитки?

Данные устройства крепят к стене или помещают в специально сделанную нишу (в этом случае нужно продумать расположение этой ниши еще в процессе строительства дома).

Однофазные щитки могут быть снабжены выключателем, однако он может и отсутствовать. Кроме того, эти щитки снабжены резьбовыми предохранителями или пробками и автоматическими выключателями.

Достаточно широко распространены однофазные щитки, у которых аппараты защиты установлены в обоих отводящих проводах. Однако в современных условиях их использовать небезопасно, а в частном доме такие устройства лучше вообще не применять.

Трехфазные щитки производятся с выключателями, которые располагаются со стороны ввода, при этом отходящие линии могут

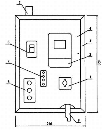
быть снабжены плавкими предохранителями, однако в последнее время их заменяют автоматами (рис. 20).

Рис. 20. Трехфазный учетно-распределительный щиток:

1 — трехполюсный выключатель; 2 — трехфазный счетчик для четырехпроводной сети; 3 — кожух; 4 — приборная панель; 5 — отходящие кабели; 6 — автоматический выключатель трехфазной группы; 7 — планка с зажимами для нулевых проводов; 8 — резьбовые предохранители однофазных групп; 9 — питающий кабель

Электроустановочные устройства

Что относят к электроустановочным устройствам?

В эту группу входят выключатели и переключатели (за исключением пакетных), штепсельные розетки, патроны, колодки с зажимами и предохранители.

Как правильно внести в сеть выключатели и переключатели?

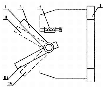
Основные схемы соединений для этих устройств изображены на рисунке 21.

Рис. 21. Схемы соединения и включения в сеть выключателей и переключателей:

а — выключатель однополюсный; б — выключатель двухполюсный; в — выключатель сдвоенный; г — переключатель; д — выключатель для управления с двух мест

Контактные зажимы, в которых будут держаться провода в данных устройствах, изготавливают таким образом, чтобы к ним можно было подключать как медные, так и алюминиевые жилы. С помощью зажимов должно создаваться постоянное контактное нажатие, но оно должно быть таким, чтобы жилы не выходили из зажима.

Какие бывают зажимы?

Вес зажимы, предназначенные для электротехнических работ, делятся на два основных вида:

— винтовые;

— штыревые.

Винтовые зажимы имеют конструкцию, включающую в себя несколько элементов:

— контактный винте цилиндрической головкой;

— пружинящее устройство;

— устройство, которое не позволяет жиле выходить за пределы зажима. Его также называют предохранительной шайбой.

Штыревые зажимы устроены немного иначе. Они включают в себя следующие элементы:

— шпилька с резьбой;

— ограничительная шайба;

— две обычные шайбы;

— три гайки.

Однако у всех зажимов есть и общие черты, например к ним можно подключать как однопроволочные, так и многопроволочные жилы.

Как делятся выключатели и переключатели по методу установки?

Абсолютно все переключатели и выключатели по технологии установки делятся на несколько основных групп:

— для открытой установки;

— для скрытой установки;

Поделиться:
Популярные книги

Контртеррор

Валериев Игорь
6. Ермак
Фантастика:
альтернативная история
5.00
рейтинг книги
Контртеррор

Кодекс Крови. Книга VI

Борзых М.
6. РОС: Кодекс Крови
Фантастика:
фэнтези
попаданцы
аниме
5.00
рейтинг книги
Кодекс Крови. Книга VI

Вишенка на десерт

Лис Алеся
Любовные романы:
любовно-фантастические романы
5.00
рейтинг книги
Вишенка на десерт

Лейб-хирург

Дроздов Анатолий Федорович
2. Зауряд-врач
Фантастика:
альтернативная история
7.34
рейтинг книги
Лейб-хирург

Седьмой Рубеж V

Бор Жорж
5. 5000 лет темноты
Фантастика:
фэнтези
попаданцы
5.00
рейтинг книги
Седьмой Рубеж V

Гримуар темного лорда V

Грехов Тимофей
5. Гримуар темного лорда
Фантастика:
попаданцы
аниме
фэнтези
5.00
рейтинг книги
Гримуар темного лорда V

Ищу жену с прицепом

Рам Янка
2. Спасатели
Любовные романы:
современные любовные романы
6.25
рейтинг книги
Ищу жену с прицепом

Отморозок 1

Поповский Андрей Владимирович
1. Отморозок
Фантастика:
попаданцы
5.00
рейтинг книги
Отморозок 1

Отморозок 5

Поповский Андрей Владимирович
5. Отморозок
Фантастика:
попаданцы
альтернативная история
5.00
рейтинг книги
Отморозок 5

Законник Российской Империи. Том 2

Ткачев Андрей Юрьевич
2. Словом и делом
Фантастика:
городское фэнтези
альтернативная история
аниме
дорама
6.40
рейтинг книги
Законник Российской Империи. Том 2

Гримуар темного лорда VIII

Грехов Тимофей
8. Гримуар темного лорда
Фантастика:
боевая фантастика
альтернативная история
аниме
фэнтези
фантастика: прочее
попаданцы
5.00
рейтинг книги
Гримуар темного лорда VIII

Земная жена на экспорт

Шах Ольга
Любовные романы:
любовно-фантастические романы
5.57
рейтинг книги
Земная жена на экспорт

Прапорщик. Назад в СССР. Книга 6

Гаусс Максим
6. Второй шанс
Фантастика:
попаданцы
альтернативная история
5.00
рейтинг книги
Прапорщик. Назад в СССР. Книга 6

Соль этого лета

Рам Янка
1. Самбисты
Любовные романы:
современные любовные романы
6.00
рейтинг книги
Соль этого лета