Чтение онлайн

на главную - закладки

Жанры

Квантовая механика и интегралы по траекториям
Шрифт:

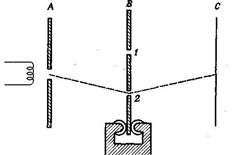
Фиг. 1.5. Ещё одна модификация эксперимента, изображённого на фиг. 1.1.

Экран B может свободно передвигаться в вертикальном направлении. Если электрон проходит отверстие 2 и попадает в детектор (например, в точке x = 0), то он отклонится вверх, а экран x получит отдачу вниз. Определяя, куда откатывается покоившийся вначале экран, можно установить отверстие, через которое проходит электрон. Однако, согласно принципу неопределённости Гейзенберга, такие прецизионные измерения импульса экрана x были бы несовместимы с точным знанием его вертикального положения, поэтому мы не могли бы быть уверены, что линия, соединяющая центры двух отверстий, установлена правильно. Вместо кривой a на фиг. 1.2 мы получим распределение,

несколько размазанное в вертикальном направлении, похожее на кривую d фиг. 1.2.

Если в эксперименте импульс экрана B можно измерить с требуемой точностью, то мы тем самым определяем, через какое отверстие прошёл электрон, и распределение вероятностей приобретает вид кривой d на фиг. 1.2. Интерференционная картина (а), очевидно, исчезает. Как это может произойти? Чтобы понять это, заметим, что при построении кривой, описывающей распределение электронов в плоскости экрана C, необходимо точно знать вертикальное положение двух отверстий на экране B. Поэтому мы должны измерить не только импульс экрана B, но и его координату. Для возникновения интерференционной картины (кривая а на фиг. 1.2) положение экрана должно быть известно с точностью, превышающей d/2, где d — расстояние между соседними максимумами кривой. Теперь предположим, что мы не знаем вертикальное положение экрана с такой точностью; тогда положение кривой а на фиг. 1.2 нельзя определить с точностью, большей чем d/2, поскольку за начало отсчёта вертикальной шкалы необходимо принять некоторую фиксированную точку на экране B. При этом значение вероятности P для любого x должно отыскиваться усреднением по всем её значениям внутри окрестности размером d/2 вокруг точки x; в процессе такого усреднения интерференционная картина, очевидно, размажется и результирующая кривая не будет отличаться от кривой d на фиг. 1.2.

Фиг. 1.6. Аналогичный эксперимент со светом.

Два луча света, находящиеся в одинаковых фазах в точках 1 и 2, будут усиливать друг друга при попадании па экран C, если они проходят расстояние между экранами B и C за одинаковое время. Это означает, что максимум в дифракционной картине, возникающий при прохождении лучей света через два отверстия, будет находиться в центре экрана. Следующий максимум будет расположен ниже центра экрана настолько, чтобы достигающий этой точки луч из отверстия 1 проходил путь точно на одну длину волны больший, чем луч из отверстия 2.

Интерференция в эксперименте — признак волнового поведения электронов. Поскольку картина та же, что и в случае любого волнового движения, мы можем воспользоваться хорошо известным в теории дифракции света соотношением, которое связывает расстояние а между отверстиями, расстояние l от экрана B до плоскости C, длину волны света и расстояние между максимумами d:

a

l

=

d

(1.4)

(фиг. 1.6). В гл. 3 мы покажем, что длина волны электрона неразрывно связана с его импульсом соотношением

p=

h

.

(1.5)

Если p — полный импульс электрона (а мы предполагаем, что все пролетающие электроны имеют одинаковый полный импульс), то из фиг. 1.7 видно, что в случае l >> a

p

p

a

l

.

(1.6)

Отсюда следует, что

d=

h

p

.

(1.7)

Поскольку из опыта мы знаем, что интерференционная картина исчезла, то неопределённость x в измерении положения экрана C должна быть больше d/2. Следовательно,

px>=

h

2

,

(1.8)

что согласуется (по порядку величины) с обычной формулировкой принципа неопределённости.

Фиг. 1.7.

Отклонение электрона при прохождении через отверстие в экране B.

Оно фактически сводится к изменению импульса p. В направлении, приблизительно перпендикулярном исходному вектору импульса; к нему добавляется небольшая составляющая. Изменение энергии совершенно ничтожно, и при малых углах отклонения абсолютное значение полного импульса практически не меняется. Поэтому угол отклонения с высокой точностью можно положить равным |p|/|p|. Если в одну и ту же точку на экране C попадают два электрона, один из которых вылетал из отверстия 1 с импульсом p1, а другой — из отверстия 2 с импульсом p1, то углы, на которые они отклонились, должны отличаться приблизительно на величину a/l. Поскольку мы не можем сказать, через какое отверстие прилетел электрон, неопределённость вертикальной составляющей импульса, которую он приобретает при прохождении через экран B, должна быть эквивалентна неопределённости в угле отклонения. Это даёт соотношение |p1– p2|/|p|=|p|/|p|=a/l.

Подобный же анализ можно применить и к тому измерительному устройству, где использовалось рассеяние света для определения того, через какое отверстие проходит электрон; для погрешностей измерений мы получим ту же самую оценку.

Рассматривая подобные эксперименты, мы отнюдь не доказываем принцип неопределённости, а лишь иллюстрируем его. Обоснование же его двоякого рода: во-первых, никто ещё не нашёл какого-либо экспериментального способа устранить накладываемые им ограничения на точность измерений; во-вторых, он представляется необходимым для того, чтобы законы квантовой механики были совместны; предсказания этих законов вновь и вновь подтверждаются с большой точностью.

§ 3. Интерферирующие альтернативы 1)

1) На протяжении всей книги термин «альтернатива» применяется авторами для обозначения взаимоисключающих (альтернативных) возможностей при некотором выборе. Поскольку в советской физической литературе нет краткого и общепринятого термина для такого понятия, мы всюду сохраняем авторскую терминологию.— Прим. ред.

Две разновидности альтернатив. С физической точки зрения две траектории представляют собой независимые альтернативы; однако было бы ошибкой думать, что полная вероятность в этом случае есть сумма P1+P2. Видимо, либо посылки, либо суждения, приводящие к такому заключению, являются ложными. Поскольку инерция нашего мышления очень сильна, многие физики считают более удобным отказаться от посылки, чем от суждения. Чтобы избежать парадоксов, они принимают следующую точку зрения: если не делается попытки уточнить, через какое отверстие проходит электрон, то нельзя и говорить, что он должен пройти через одно из двух отверстий. Только в том случае, когда действует прибор, определяющий путь электрона, можно утверждать, что он действительно проходит через одно из этих отверстий. Если вы следите за электроном, то видите, где он пролетает, но если вы не наблюдаете за ним, то не можете сказать, как именно он летит. Природа требует от нас предельной логической собранности [как выразились авторы — «walk a logical tightrope».— Ред.], если мы желаем её описывать.

В противоположность такой точке зрения будем следовать в этой книге предположению, сделанному в начале этой главы, и откажемся от суждения, приводящего к ложному выводу: не будем вычислять вероятности путём суммирования вероятностей всех альтернатив. Для того чтобы сделать более понятными новые правила сложения вероятностей, удобно уточнить два различных содержания термина «альтернатива». С первым из них связана концепция взаимоисключения. Так, отверстия 1 и 2 представляют собой несовместимые альтернативы, если одно из них закрыто или если действует прибор, который может однозначно определить, через какое отверстие прошёл электрон. С другим значением связана концепция комбинирования или интерференции («интерференция» означает у нас то же самое, что и в оптике, т.е. усиление или ослабление амплитуды при наложении процессов). Таким образом, будем говорить, что по отношению к электрону отверстия 1 и 2 представляют собой интерферирующие альтернативы, если: 1) открыты оба отверстия и если 2) не предпринимается попыток определить, какое отверстие пропустило электрон. В случае когда подобные альтернативы имеют место, нужно изменить правила получения вероятностей и выбрать их в виде (1.1) и (1.2).

Поделиться:
Популярные книги

Компас желаний

Кас Маркус
8. Артефактор
Фантастика:
городское фэнтези
аниме
фэнтези
5.00
рейтинг книги
Компас желаний

Гибель титанов. Часть 1

Чайка Дмитрий
13. Третий Рим
Фантастика:
попаданцы
альтернативная история
5.00
рейтинг книги
Гибель титанов. Часть 1

Рядовой. Назад в СССР. Книга 1

Гаусс Максим
1. Второй шанс
Фантастика:
попаданцы
альтернативная история
5.00
рейтинг книги
Рядовой. Назад в СССР. Книга 1

Мастер 2

Чащин Валерий
2. Мастер
Фантастика:
фэнтези
городское фэнтези
попаданцы
технофэнтези
4.50
рейтинг книги
Мастер 2

Вперед в прошлое 9

Ратманов Денис
9. Вперед в прошлое
Фантастика:
попаданцы
альтернативная история
5.00
рейтинг книги
Вперед в прошлое 9

Черный рынок

Вайс Александр
6. Фронтир
Фантастика:
боевая фантастика
космическая фантастика
космоопера
5.00
рейтинг книги
Черный рынок

На границе империй. Том 7. Часть 4

INDIGO
Вселенная EVE Online
Фантастика:
боевая фантастика
космическая фантастика
5.00
рейтинг книги
На границе империй. Том 7. Часть 4

Отверженный. Дилогия

Опсокополос Алексис
Отверженный
Фантастика:
фэнтези
7.51
рейтинг книги
Отверженный. Дилогия

Хозяин Теней 2

Петров Максим Николаевич
2. Безбожник
Фантастика:
попаданцы
аниме
фэнтези
5.00
рейтинг книги
Хозяин Теней 2

Кодекс Крови. Книга ХVIII

Борзых М.
18. РОС: Кодекс Крови
Фантастика:
попаданцы
аниме
фэнтези
5.00
рейтинг книги
Кодекс Крови. Книга ХVIII

Господин из завтра. Тетралогия.

Махров Алексей
Фантастика:
альтернативная история
8.32
рейтинг книги
Господин из завтра. Тетралогия.

Жена неверного маршала, или Пиццерия попаданки

Удалова Юлия
Любовные романы:
любовно-фантастические романы
4.25
рейтинг книги
Жена неверного маршала, или Пиццерия попаданки

Неучтенный. Дилогия

Муравьёв Константин Николаевич
Неучтенный
Фантастика:
боевая фантастика
попаданцы
7.98
рейтинг книги
Неучтенный. Дилогия

Личник

Валериев Игорь
3. Ермак
Фантастика:
альтернативная история
6.33
рейтинг книги
Личник