Чтение онлайн

на главную - закладки

Жанры

Огород и сад для лентяев
Шрифт:
Секаторы Это, по сути, усиленные ножницы с кривыми стальными режущими лезвиями и армированными пластмассой ручками. Для удобства между ручками размещена спирально-пластинчатая или проволочная пружина автоматического развода лезвий при работе. Есть секаторы одностороннего и двустороннего резания, а также кустарниковые с удлиненными ручками (рис. 30).
Рис. 30. Секаторы:1 – одностороннего резания; 2 – двустороннего резания; 3 – кустарниковый с удлиненными ручками
Секаторы одностороннего резания применяют для обрезки плодоносящих деревьев и виноградных лоз – они более мощные. Для обрезки молодых деревьев пользуются секатором двустороннего резания. Секатором с удлиненными ручками пользуются при обрезке толстых веток кустарников и прикорневой поросли. Вилка для обрезки толстых веток Обеспечивает обрезку веток диаметром до 35 мм одним ударом, а более толстых – ударами снизу и сверху (рис. 31).
Рис. 31. Вилка:1 – режущая пластина; 2 – соединительное устройство (раструб); 3 – рукоятка; 4 – У-образное лезвие; 5 – удлиненный выступ; 6 – нижнее (вогнутое) лезвие
Выпускается промышленностью, но доступна в изготовлении каждому садоводу. Режущий орган состоит из стальной пластины 1 . Ее максимальные размеры 170Г—130 мм. Крепится к шесту с помощью приваренного к ней металлического раструба 2 . Ее форма позволяет воздействовать на основание растущей или сухой ветви и снизу, и сверху. Заточку проводят верхнего У-образного 4 и нижнего – вогнутого 6 – лезвий. Сучкорезы Применяются при уходе за высокорослыми деревьями (рис. 32). Шестовой сучкорез является модификацией секатора. Но одна его половинка неподвижно соединена с конусным патрубком для насаживания шеста, а рычаг подвижного ножа снабжен роликом, через который проходит натяжной шнур, облегчающий приведение в действие подвижного ножа.
Рис. 32. Сучкорезы:1 – шестовой; 2 – со съемной ножовкой
Для возврата ножа в исходное положение сучкорез снабжен спиральной пружиной. Бордюрные ножницы Используются при уходе за шпалерной оградой и для декоративной обрезки кустарников и крон деревьев (рис. 33).
Рис. 33.
Бордюрные ножницы
Ножовки Сучья диаметром более 2,5 см секатором обрезать трудно. Их удобнее и легче спиливать с помощью ножовки. Причем ножовки с серповидным полотном позволяют пилить движением на себя и полотно не деформируют. Садовые ножи Необходимы при обрезке молодых деревьев для удаления ненужных побегов ветвей и виноградных лоз. Ими же пользуются и для зачистки срезов после отпиливания толстых сучьев перед обработкой их садовым варом. Прививочные ножи Садоводы различают несколько их типов в зависимости от конкретного назначения (рис. 34).
Рис. 34. Ножи прививочные:1 – копулировочный; 2 – окулировочный; 3 – комбинированный
Окулировочные применяют для прививки плодовых культур и винограда почкой (глазком), копулировочные – для прививки черенком, комбинированные – для тех и других прививок. У окулировочного ножа на другом конце ручки имеется гладкая пластмассовая или металлическая пластина для отделения подрезанной коры от древесины.

Вспомогательный инвентарь

Скребки необходимы для очистки стволов взрослых деревьев от отмершей коры. Для более гладкой дальнейшей зачистки оставшейся коры используют щетки.

Во время обрезки, ухода за высокорослыми плодовыми деревьями и сбора плодов садоводу не обойтись без садовой лестницы . Чаще ее изготавливают в виде стремянки. При изготовлении садовой лестницы ширину нижней части делают равной 1вЃ„4–1вЃ„5 высоты всей лестницы, что способствует ее большей устойчивости. Возможны и иные варианты. Материалами для изготовления садовых лестниц могут служить прочная древесина, металлические трубы. Плодосъемники Для съема урожая с верхней части кроны яблони и груши пользуются плодосъемниками промышленного изготовления (рис. 35).
Рис. 35. Плодосъемники:1 – СФ4; 2 – лепестковый
Но обременителен и малопроизводителен сбор ягод. Облегчить его и ускорить поможет простое сборное устройство садовода, состоящее из пластмассовой воронки диаметром 200 мм, гибкого шланга от пылесоса и емкости для ягод (рис. 36).
Рис. 36. Приспособление для сбора ягод:1 – воронка; 2 – гибкий шланг; 3 – тара
Приспособления для полива Садоводы знают, что внутрипочвенное орошение имеет ряд преимуществ перед поверхностным. Оно заключаются прежде всего в том, что влага подается непосредственно в зону обитания корневой системы растения, а поверхность почвы остается сухой и не затрудняет проведение агротехнических мероприятий на участке. Кроме того, из-за обезвоженности верхнего слоя почвы на ней меньше растет сорняков. Внутрипочвенный полив исключает уплотнение водой верхних горизонтов, поливная вода более экономно используется, уменьшается ее испарение и не образуется почвенная корка, затрудняющая доступ кислорода к корням растений. К тому же, при этом способе полива вместе с водой в виде раствора можно вносить и минеральные удобрения. Для устройства внутрипочвенных увлажнителей применяют различные трубы. Удобнее пользоваться полиэтиленовыми трубами. Частота их размещения зависит от схемы посадки орошаемых культур. Это и обеспечит нормальный полив, и предохранит увлажнители от повреждений в период обработки почвы. Расстояние между увлажнителями также зависит от схемы посева. Воду к увлажнителям, уже отстоянную и нагретую на солнце, подают из накопительных емкостей через выпускные краны и распределительный трубопровод автономно к каждой группе культур. Для внутрипочвенного полива можно обойтись и без укладки труб в грунт. Для этого на расстоянии 1 м вокруг штамба буром небольшого диаметра делают восемь скважин на глубину 50– 60 см, в которые одновременно подается вода через распределитель (рис. 37).
Рис. 37. Схема скважинного полива плодового дерева
В качестве подающих трубочек используются медицинские резиновые трубки с внутренним диаметром 6–8 мм (имеются в аптеках). Количество скважин может быть и иным, в зависимости от возраста и кроны дерева. Из резинового шланга с отверстиями можно изготовить специальное приспособление и для наружного полива приствольного круга (рис. 38).
Рис. 38. Приспособление для полива плодового дерева(кольцо из резинового шланга с отверстиями)

Приспособления для прививок

Садовод А. В. Сергеев из Серпухова Московской области предлагает специальный шаблон для косых срезов на черенках при весенних и зимних прививках (рис. 39). Им можно пользоваться при ширине черенка от 10 до 4 мм. Поступают следующим образом: в паз шириной 10 мм вкладывают сбоку пластинку толщиной 1 и 0,5 мм, что позволяет производить косой срез на черенках любого диаметра. В отсутствие шаблона, когда срез производится одним лишь прививочным ножом, для проверки правильности произведенного косого среза пользуются плоской стороной лезвия (рис. 40).

Рис. 39. Шаблон
Рис. 40. Проверка среза на черенке плоской стороной лезвия прививочного ножа:а – срез сделан правильно; б – срез сделан неправильно
При окулировке пользуются специальной шпилькой, изготовленной из планки твердой древесины (рис. 41).
Рис. 41. Окулировочная шпилька
Длина рабочей части приспособления – 31 мм, ширина – 3 мм, высота вблизи ручки – 4 мм, в конце – 1,5 мм. Верхние бока шпильки частично скошены, образуя треугольник. Конец шпильки с боков и сверху заострен, а ручка оснащена крючком для подвешивания. Шпилька используется вместо косточки прививочного ножа, так как минимально поднимает кору.

Механические приспособления

Ручные буры

Даже лучшая лопата мало поможет, если приходится копать глубокие и узкие ямы, например, для опор виноградных шпалер, под столбы для ограды сада и т. п. Для этого предназначены ручные буры.

На рисунке 42, а изображен самодельный бур, изготовленный из шнека диаметром 130 мм от списанного зернового комбайна.

Находящиеся внизу шнека два ножа – отслужившие свой срок культиваторные лапы. Их приваривают под углом 25–28° к горизонтальной оси. В муфту 3 завинчивают насадку 2 такой длины, которая обеспечивает необходимое заглубление орудия. К планке 1 с отверстиями болтами присоединяют металлическую поперечину длиной 1200 мм. На конце орудие имеет вид штопора.

Можно изготовить бур из кастрюлеподобной емкости (рис. 42, б). Ее фиксируют на стояке 6, установив снизу обломок сверла диаметром 25 мм (вместо сверла можно использовать согнутую стальную полосу). С двух сторон к корпусу прикреплены по одному ножу 3. Перед каждым ножом проделана щель шириной 30–40 мм. При завинчивании орудия грунт через эти щели поступает в кастрюлю. Когда она наполняется, грунт вытряхивают и продолжают работу.

Очень простой ручной бур (рис. 42, в) легко смастерить из двух полудисков диаметром 140 мм из трехмиллиметрового стального листа, заостренных с внутренней стороны. Оба полудиска приварены на расстоянии 900 мм от ручки под углом 30° один к другому. С помощью такого бура можно просверлить яму глубиной 1 м и диаметром около 15 см за 10 минут.

Рис. 42. Ручные самодельные буры:а – шнековый: 1 – планка; 2 – насадка; 3 – муфта; 4 – шнек; 5 – ножи; б – бур кастрюлеподобный: 1 – наконечник; 2 – щель; 3 – нож; 4 – крепление ножа; 5 – корпус; 6 – стояк; в – с полудисковыми режущими элементами: 1 – рукоятка; 2 – стояк; 3 – режущие полудиски
Дымари Весной садовники с тревогой следят за погодой – весенние заморозки могут причинить немало вреда. Чтобы цветущие деревья не подмерзли, садовый участок необходимо периодически окуривать дымом. Сделать это вам помогут специальные устройства – дымари, как правило самодельные. Они могут быть различной конструкции. Наиболее простой дымарь изображен на рис. 43, а. Воздух поступает и конденсируется в емкости 4. С помощью насоса создается струя воздуха, которая распыливает через наконечник дым. Для образования дыма в корпусе дымаря 3 сжигают любое топливо. Дымарь другой конструкции состоит из переносной грубы и системы распыливания (рис. 43, б). В грубке на дно обечайки положены колосники. Зажигают грубку сверху при снятой крышке 8. На колосники сначала укладывают стружку, щепки, бумагу, потом немного дров и затем сверху материалы, которые дымят при сгорании (торф, шишки, траву, хвою и др.). Дверцами 3 регулируют подачу воздуха. Растапливают грубу через поддувало, используя дутье под колосники с помощью пылесоса. Увеличить тягу можно с помощью колена трубы, которую надевают на патрубок 9. Размеры грубки произвольные, однако высота должна быть приблизительно в два раза больше диаметра. Для перенесения грубы за петли 7 цепляют ручки.
Рис. 43. Дымари:а – с дутьем от насоса: 1 – насос; 2 – шланг; 3 – корпус дымаря с губкой; 4 – емкость для воды; 5 – наконечник; б – с дутьем от пылесоса: 1 – пылесос; 2 – кирпич; 3 – дверца; 4 – поддувало; 5 – колосники; 6 – обечайка; 7 – петля; 8 – съемная крышка; 9 и 11 – патрубки; 10 – наконечник; 12 – емкость с водой
Длительность обработки дымом должна быть 1,5–2 часа при диаметре дымаря (патрубка 9) 300 мм и высоте 600 мм от земли до уровня вытекания дыма. Для направления струи дыма можно использовать пылесос. На конце рукава закрепляют наконечник с выходным отверстием диаметром 10–12 мм, а над ним емкость (банку) с патрубком диаметром 2,5–3 мм. При работе наконечник подносят к патрубку 9. Емкость заполняется водой, которая вытекая из патрубка на струю воздуха, выходящего из наконечника, увлажняет дым, в результате чего он становится тяжелым и стелется ниже к земле. Дутье с помощью пылесоса, вентилятора или опрыскивателя увеличивает эффективность дымления. Обеспечивается устойчивая пелена дыма на большой площади. Чтобы подстраховаться при сильных заморозках, устраивают дымовые завесы, используя несколько таких устройств.

Приспособления для уборки плодов и ягод

Уборка урожая – ответственный период в жизни садовода, наглядная демонстрация того, что его усилия в течение сезона не пропали даром. И, естественно, при этом не обойтись без помощников. Как правило, на приусадебном участке плоды убирают вручную, используя для этих целей различные приспособления. Мы здесь не будем говорить о таких простых вещах, как ведро, лестница, стремянка, шест с крючком и т. п., которые есть в каждом доме. Речь пойдет об оригинальных устройствах.

• Наиболее легки в изготовлении и необходимы при уборке плодов съемники фруктов . Съемник фруктов состоит из алюминиевого стержня, стальных втулок, захватов, тяг и проволочной пружины. Чтобы предотвратить повреждение плода, на захваты надеты резиновые трубки. Габариты съемника 260Г—100Г— Г—85 мм; масса 0,26 кг; максимальный захват 110 мм. • Плодосъемник , который легко изготовить, состоит из обруча и прикрепленного к нему мешка. В двух противоположных точках обруча приварены V-образные ножи, один из которых выполнен заодно с втулкой для шеста. Ножи сверху соединены двумя дугами, образующими отверстие для захвата плода. Плодосборная сумка с открывающимся дном (рис. 44) выполнена из картона. Самораскрывающееся дно 10 представляет собой короткий рукав из мягкого и влагостойкого материала. Верхняя часть рукава закреплена в корпусе 8 на высоте 90 мм от нижней кромки. Верхнее 7 и нижнее 11 кольца соединены четырьмя проволочными стойками 3 и 6 и образуют жесткий каркас, охватывающий корпус стойки 6. Они снабжены кольцами для присоединения дужки 2 с крючком 5. Шнур 9 с крючком 4 стягивает дно. В этом положении крючок зацеплен за верхнее кольцо 7. При разъединении крючка и кольца дно раскрывается под весом плодов, и они высыпаются в тару.
Рис. 44. Плодосборная сумка:1 – подвеска; 2 – дужка; 3 – стойка; 4 – крючок; 5 – крючок дужки; 6 – стойка с ушком; 7 и 11 – верхнее и нижнее кольца; 8 – конический корпус; 9 – стягивающий шнур; 10 – самораскрывающееся дно
Плодосъемник с пружинящими пальцами (рис. 45) немного сложнее в изготовлении. Его корпус 19 должен быть из легкого материала – например, из пластмассы. К нему болтами крепится алюминиевый патрубок 7 для шеста 8. В корпусе делают отверстия 5 и 20.
Рис. 45. Плодосъемник с пружинящими пальцами:1 – короткая трубка; 2 – стягивающая леска; 3 – ограничительное кольцо; 4 – шнур; 5 – отверстия для крепления мешка; 6 – болты крепления патрубка; 7 – патрубок для шеста; 8 – шест; 9, 11 и 13 – малые и большие кольца; 10 – стягивающий шнур; 12 – зажим; 14 – быстродействующий узел; 15 – плодосборный мешок; 16 и 18 – нижнее и верхнее проволочные кольца; 17 – скобы; 19 – корпус; 20 – отверстия для крепления пальцев; 21 – сдвоенные пружинящие пальцы; 22 – удлиненная трубка
Основным рабочим органом этого приспособления служат сдвоенные пружинящие пальцы, изготовленные из
проволоки (1 мм). В местах изгибов проволоку прокаливают.
Нижнюю часть пальцев фиксируют в трех точках по наружной поверхности корпуса мягкими проволочными скобами 17. Скобы продевают в отверстия 20, концы их загибают внутрь так, чтобы они обхватывали вставленные в корпус проволочные кольца 16 и 18. Всего по периметру корпуса равномерно размещают восемь пар пружинящих пальцев на расстоянии 20–25 мм. Верхнюю часть пальцев изгибают в виде колец, через которые продевают стягивающую леску 2. Плодосборный мешок 15 диаметром 170…180 мм и длиной от нижнего торца корпуса до стягивающей части не более 200 мм шьют из мягкой ткани. Верхнюю часть мешка продевают в корпус и прикрепляют к нему за отверстия 5 и пальцы. Мешок закрывает своими складками концы скрепляющих скоб 17 и вставные кольца 16 и 18, предохраняя плоды от повреждения. Параллельно шесту 8 располагают шнур 4, при помощи его и лески, продетой через верхние концы пальцев, захватывают плод. Один конец лески привязывают к кольцу пружинящего пальца, находящегося у патрубка 7, второй – продевают через кольца всех или части пальцев и привязывают к ограничительному кольцу 3. К нему же прикрепляют шнур 4 необходимой длины. Для захвата и отрыва плода можно не сближать все пальцы, роль которых состоит еще и в том, чтобы не дать плоду выпасть из приспособления. Для уменьшения усилия, надев на леску пластмассовые или резиновые трубки 1 и 22 диаметром от 5 до 10 мм, можно захватывать, например, четыре противоположные пары пальцев. Длина трубок между смежными парами – 15 мм, в середине пары – 5 мм. Трубки смягчают нажим на плод и равномерно распределяют пальцы. Плодосъемник используют следующим образом. Пружинистые пальцы подводят к плоду и натягивают шнур 4 для захвата плода. После этого, двигая шестом, отрывают плод, и он попадает в мешок.
• Если из консервной банки емкостью 1 л сделать кольцо, в которое вставить в виде клетки 1 шпильки 4, то можно получить сниматель фруктов, изображенный на рисунке 46, а. Верхние концы шпилек П-образной формы загибают в кольца, в которые протягивают крепкий шнур или толстую леску. В клетку заводят фрукт и тянут за шнур. Верхний край клетки сходится, устройство тянут вниз, плод отрывается и падает в мешочек. Эту конструкцию можно упростить, применив вместо клетки 1 нож 7, который крепят на конце шеста. • Можно также изготовить плодосъемник с ножницами (рисунок 46, б). Ножницы подводят под плодоножку яблока или груши, надавливают на рычаг 7, движение от него через трос 4 передается рычагу 3. Ножницы срабатывают, т. е. перерезают плодоножку, и плод, минуя приемную чашу, попадает в рукав 6 и медленно сползает по нему вниз. Для рукава подбирают сетчатую или эластичную ткань, чтобы не повредить нежную кожицу плода. Диаметр рукава должен быть равен или немного меньше среднего диаметра плодов, тогда он неповрежденным скатится прямо в руку собирающего. • Для сбора груш с нежной кожицей удобен механический плодосъемник (рис. 46, в), потому что высота падения плода от ножа в мешочек из ткани невелика. Изготовить такой сниматель плодов можно по размерам, указанным на рисунке.
Рис. 46. Устройство для сбора плодов:а – сниматель фруктов: 1 – клетка с подвижными стенками; 2 – шнур; 3 – кольцо клетки; 4 – прутья; 5 – мешочек; 6 – шест; 7 – нож; б – плодосъемник с ножницами: 1 – ножницы; 2 – приемная часть; 3 и 7 – рычаги; 4 – трос; 5 – шест; 6 – длинный рукав; в – плодосъемник: 1 – планка с лезвием; 2 – нож захват; 3 – мешочек для плода; 4 – шест
Очень трудно и неудобно собирать яблоки или груши, которые висят на высокой кроне. Без лестницы здесь не обойтись. Можно пользоваться простой лестницей, но, если ее приставить к стволу дерева, она может соскользнуть, обдирая кору и угрожая падением. Лестница-стремянка (рис. 47) удобнее в пользовании. Ее нетрудно изготовить самостоятельно, поставив под две верхние ступеньки необходимой длины бруски с закрепленными с двух сторон металлическими или деревянными планками. Эта лестница устойчива, на верху можно предусмотреть крючок для подвески корзины или небольшую полку.
Рис. 47. Лестницы-стремянки (1, 2) и подставки (3)
Однако основным недостатком любой высокой садовой лестницы является то, что ее трудно переносить от дерева к дереву. На рисунке 48 представлена лестница-конвейер для сбора урожая плодов в собственном саду.
Рис. 48. Лестница-конвейер:1 – верхний шкив; 2 – транспортер; 3 – рама основа; 4 – поперечный брус; 5 – рама; 6 – нижний шкив; 7 – лоток
Она сделана из двух металлических лестниц, соединенных друг с другом наподобие стремянки. Чтобы зафиксировать короткую лестницу в нужном положении, в пазы крепится поперечный брус, к которому приварены нижние концы ее боковых опор. Колеса можно использовать, например, от трехколесного детского велосипеда и установить их на поворотной оси. В рабочем положении эти оси ставят под углом одна к другой. На основную лестницу устанавливают верхний 1 и нижний 6 шкивы, на них смонтирован транспортер 2. На ленте транспортера из крепкого холста шириной 100 мм нашиты небольшие карманы такого размера, чтоб в каждом размещался один большой плод. Сорванный плод кладут в ближайший на транспортере карман. Под действием веса плодов, находящихся в карманах, транспортер движется вниз, где плоды свободно выкатываются из карманов на обшитый мягким материалом лоток 7, а из него – прямо в корзину, подвешенную на раму. От дерева к дереву эту лестницу-конвейер перекатывают. Все, кто выращивает в саду облепиху, знают, как трудно собирать ее ягоды. Поэтому для выполнения этой работы хороши любые устройства. Наиболее удачным устройством можно считать специальную рукавицу (рис. 49, а). Открытый сверху мешочек 3 пришит к рукавичке и проволоке 4. Над мешочком закреплена полукруглая металлическая гребенка 2, на палец пришит кусочек шкуры 1. Когда при срывании ягод с ветки облепихи сгибают ладонь, проволока 4 изгибается и мешочек открывается. При передвижении руки по ветке вниз ягоды попадают в мешочек рукавицы. Если ладонь выпрямить, мешочек закрывается, благодаря чему ягоды из него не высыпаются при перемещении руки к другой ветке. Можно пользоваться для сбора облепихи петелькой (рис. 49, б), изготовленной из рыбацкой лески диаметром 0,6–1 мм. Ее плотно приклеивают к широкому концу ручки клейкой лентой. При работе петелькой охватывают ягоды и надавливанием вниз обрывают их. Пружинный крючок (рис. 49, в) очень простой, но помогает повысить производительность труда при сборе облепихи. Надо подвести устройство к ветке так, чтобы она оказалась зажатой между концами крючка. После этого движением вдоль ветки снимают плоды вместе с листьями. Крючок скользит по ветке. При работе устройством, изображенным на рисунке 49, г, сборщик оттягивает крючок 1 и заводит ветку между крючками так, чтобы они охватили ее. Потом за одно-два движения устройства по ветке плоды срываются и падают в корзину. Также можно сделать шпиндельное устройство (рис. 49, д). Сборщик подводит его к нижней части ветки так, чтобы при вращении шпинделя его ребра захватывали плоды облепихи и обрывали их вместе с листьями.
Рис. 49. Устройство для сбора плодов облепихи:а – рукоятка для сбора ягод: 1 – кожаная нашивка; 2 – металлическая гребенка; 3 – мешок; 4 – проволока; б – петлевое устройство: 1 – ручка; 2 – крепление петли; 3 – петля; в – пружинный крючок; г – устройство с подвижным и неподвижным крючками: 1 – подвижный крючок; 2 – неподвижный крючок; 3 – держак с пружиной; д – шпиндельное устройство:1 – шпиндель; 2 – вал; 3 – валик
• Легкий (его вес около 200 г) съемник для плодов с удлиненной плодоножкой (рис. 50), выполнен из фасонного эллипсовидного кольца 2 из проволоки диаметром 3 мм, согнутой в середине под углом 90°. К верхней части кольца приварен неподвижный упор-нож 3 из стали Ст3 толщиной 2 мм с вырезом под углом 90° для захода плодоножки. Упор-нож 3 приварен к трубке 5 (диаметр ее 14 мм, толщина стенки 1 мм, длина 1100 мм). К кольцу 2 снизу по всему периметру привязана сетка-мешок 9 или капроновый чулок. В трубку 5 вставлен стержень 8 диаметром 5 мм, к верхнему концу которого прикреплен нож 4 толщиной 3 мм, а к нижнему, на резьбе М5, присоединена гайкой 7 и контргайкой 6 рукоятка 1 поворота, выполненная из прутка диаметром 8 мм так, чтобы зазор между поворотным ножом 4 и неподвижным 3 был как можно меньше и они перемещались относительно один другого со скольжением.
Рис. 50. Плодосъемник для груш, слив:1 – рукоятка; 2 – эллипсовидное кольцо; 3 – неподвижный упор-нож; 4 – поворотный нож; 5 – трубка; 6 – контргайка М5; 7 – гайка М5; 8 – стержень; 9 – сетка-мешок
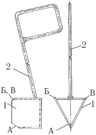
Пользоваться таким устройством очень просто: нужно левой рукой взять за нижнюю часть трубки 5, а правой за рукоятку 1 поворотного ножа 4 подвести эллипсовидное кольцо 2 с сеткой-мешком 9 снизу под грушу так, чтобы плодоножка вошла в углубление неподвижного ножа 3, а груша оказалась в сетке-мешке, после чего повернуть рукоятку 1 против хода часовой стрелки – нож перерезает плодоножку, а неповрежденный плод окажется в сетке-мешке, откуда его легко переложить в корзину или ящик. Плодосъемником можно работать стоя как на земле, так и на лестнице-стремянке. • Очень неудобно снимать ягоды крыжовника, которые находятся снизу и внутри куста, – иглы на ветвях ранят руки. Исключить это неудобство позволяет плодосъемник (рис. 51), который вводят в куст, не повреждая при этом веток и рук садовода, подводят к ягоде любыми двумя смежными гранями призмы 1 и срывают плод. Весит такое приспособление около 150 г и состоит из стержня 2 с загнутым концом в виде рукоятки. Стержень несет трехгранную призму 1, которая в верхней части открыта и имеет срезы А, Б, В на гранях.
Рис. 51. Плодосъемник для крыжовника:1 – полая трехгранная призма; 2 – стержень
Призма выполнена из стали Ст3 размером 50Г—50Г—50 мм, толщиной 1 мм, а стержень – из проволоки (сталь Ст3) диаметром 5 мм и длиной 650 мм. При раскрое призмы используют ручные ножницы, грани сгибают в тисках. Детали сварены прерывистым швом сварочной проволокой диаметром 1 мм в срезе углекислого газа (можно применить и газовую сварку). • Все, кто выращивает в саду облепиху, знают, как трудно собирать ее ягоды. Поэтому для выполнения этой работы хороши любые устройства. Можно пользоваться для сбора облепихи петелькой из рыбацкой лески диаметром 0,6–1 мм. Ее плотно приклеивают к широкому концу ручки клейкой лентой. При работе петелькой охватывают ягоды и надавливанием вниз обрывают их. Пружинный крючок очень простой, но помогает существенно повысить производительность труда при сборе облепихи. Надо подвести устройство к ветке так, чтобы она оказалась зажатой между концами крючка. После этого движением вдоль ветки снимают плоды вместе с листьями. Крючок как будто скользит по ветке. При работе устройством сборник оттягивает крючок и заводит ветку между крючками так, чтобы они охватили ее. Потом за одно-два движения устройства по ветке плоды обрываются и падают в корзину. Также можно сделать шпиндельное устройство. Сборщик подводит устройство к нижней части ветки так, чтобы при вращении шпинделя его ребра захватывали плоды облепихи и обрывали их вместе с листьями. Ковш-гребенку для сбора ягод черной смородины можно сделать из прямоугольной консервной банки или алюминиевого листа. К одному краю банки припаивают кусочки проволоки диаметром 2–3 мм или металлическую гребенку с расстоянием между зубьями 15 мм. Съемник ягод изготавливают в виде овального стакана с ручкой, который в передней части имеет гребенку с разновеликими зубьями. Съемник изготавливают из алюминиевого листа толщиной 2–3 мм, а дно – или из листового алюминия толщиной 0,5– 0,8 мм, или из жести. Зубья гребенки выполняют пропилом тремя сложенными вместе ножовочными полотнами. Всего делают 11 зубьев – одно широкое боковое и десять центральных. Во время работы гребенку заводят под ягоды, и они падают в стакан съемника, который освобождают при его заполнении. Использование съемника позволяет в три-четыре раза повысить скорость сбора ягод по сравнению с ручной уборкой.

Предпосадочная подготовка почвы

Предпосадочная подготовка почвы под сад включает выкорчевывание кустарников, уборку камней, пней и других посторонних предметов, выравнивание естественного или искусственного микрорельефа участка. При этом необходимо сохранить верхний плодородный слой почвы. Там, где он был снят при выравнивании участка, его надо возвратить на то же место, чтобы плодородие почвы было одинаковым на всем участке.

Практически почва считается готовой для обработки, или «спелой», если взятая с глубины 10 см и сжатая в комок горсть земли при свободном падении равномерно разваливается. Основными орудиями труда для обработки почвы у садоводов-любителей являются лопаты, вилы садовые, грабли, полольники и рыхлители различных конструкций. Они должны быть исправными, плотно насажены на черенки, остро наточены и подобраны по росту. Если поставленная вертикально лопата (или вилы) верхним обрезом черенка упирается в локоть согнутой руки, значит, она подобрана правильно. При обработке задерненных участков следует уничтожить многолетние сорняки – пырей ползучий, осот, одуванчик, сурепку, репейник и другие. На обыкновенных и южных черноземах, а также на каштановых почвах сады лучше растут и плодоносят по глубокой плантажной вспашке. Она улучшает аэрацию в основных корнеобитаемых слоях почвы, водный и пищевой режим, вследствие чего деревья становятся более продуктивными. Рекомендована следующая глубина предпосадочной вспашки: для семечковых пород – 60–70 см, для косточковых – 45–60 см. На вновь закладываемых садах такую предпосадочную обработку почвы можно провести плантажными плугами с отвалами за 3– 4 месяца до посадки деревьев. Перед плантажной вспашкой в зависимости от плодородия почвы вносят 4–6 кг/м2 навоза или компоста и 9–12 г фосфорно-калийных удобрений. Для посадки плодовых растений приготавливают ямы. К этой работе приступают сразу после разбивки площади под сад. При осенней посадке ямы готовят за 1–2 недели до посадки, но не позже чем за 20 дней до замерзания почвы; при весенней – осенью, с таким расчетом, чтобы они хорошо проветрились, накопили влаги и были готовы для высадки саженцев в самые ранние сроки. Размеры ям на культурных орошаемых почвах составляют 70– 90 см в диаметре и 60–70 см глубиной, на бедных почвах их увеличивают в 1,5–2 раза. Во время копки ям черноземный слой почвы выбрасывают в одну сторону, а глинистый – в другую. Эти требования садовод должен строго соблюдать. При посадке деревьев ямы следует засыпать только верхним черноземным грунтом, обеспечивающим им лучший рост и плодоношение. Особенно это важно для малоплодородных участков, когда почва смешивается с органическими и минеральными удобрениями. Нормы органических и минеральных удобрений, вносимых в яму, указаны в табл. 13. Таблица 13 Количество удобрений на посадочную яму
Ямы для посадки плодовых деревьев копают круглой или квадратной формы. Края ямы делают отвесными, чтобы почва после посадки деревьев оседала равномерно. Дно ямы разрыхляют на длину штыка лопаты. Посадочные ямы заполняют удобренной почвой (около 2вЃ„3 объема) за 7–10 дней до посадки деревьев, чтобы почва успела осесть. Во время заполнения ямы почву периодически уплотняют. В больших посадочных ямах корни растений быстрее регенерируют после посадки, сильнее ветвятся, охватывают большие объемы почвы, более глубоко уходят в землю. Это, в свою очередь, ускоряет рост надземной части растений. Деревья быстрее вступают в плодоношение, дают больший урожай.
Поделиться:
Популярные книги

Неучтенный элемент. Том 1

NikL
1. Антимаг. Вне системы
Фантастика:
городское фэнтези
фэнтези
5.00
рейтинг книги
Неучтенный элемент. Том 1

Служанка царского лекаря

Семина Дия
Фантастика:
фэнтези
5.00
рейтинг книги
Служанка царского лекаря

Камень

Минин Станислав
1. Камень
Фантастика:
боевая фантастика
6.80
рейтинг книги
Камень

Идеальный мир для Демонолога 7

Сапфир Олег
7. Демонолог
Фантастика:
юмористическое фэнтези
аниме
5.00
рейтинг книги
Идеальный мир для Демонолога 7

Кодекс Охотника. Книга XXV

Винокуров Юрий
25. Кодекс Охотника
Фантастика:
фэнтези
попаданцы
аниме
6.25
рейтинг книги
Кодекс Охотника. Книга XXV

Черный Маг Императора 9

Герда Александр
9. Черный маг императора
Фантастика:
юмористическое фэнтези
попаданцы
аниме
5.00
рейтинг книги
Черный Маг Императора 9

Отмороженный 3.0

Гарцевич Евгений Александрович
3. Отмороженный
Фантастика:
боевая фантастика
рпг
5.00
рейтинг книги
Отмороженный 3.0

Неучтенный. Дилогия

Муравьёв Константин Николаевич
Неучтенный
Фантастика:
боевая фантастика
попаданцы
7.98
рейтинг книги
Неучтенный. Дилогия

Лидер с планеты Земля

Тимофеев Владимир
2. Потерявшийся
Фантастика:
боевая фантастика
космическая фантастика
6.00
рейтинг книги
Лидер с планеты Земля

Я Гордый часть 7

Машуков Тимур
7. Стальные яйца
Фантастика:
попаданцы
аниме
фэнтези
5.00
рейтинг книги
Я Гордый часть 7

Он тебя не любит(?)

Тоцка Тала
Любовные романы:
современные любовные романы
7.46
рейтинг книги
Он тебя не любит(?)

Специалист по нечисти

Билик Дмитрий Александрович
2. Бедовый
Фантастика:
юмористическая фантастика
городское фэнтези
мистика
5.00
рейтинг книги
Специалист по нечисти

Неверный

Тоцка Тала
Любовные романы:
современные любовные романы
5.50
рейтинг книги
Неверный

Неправильный лекарь. Том 4

Измайлов Сергей
4. Неправильный лекарь
Фантастика:
городское фэнтези
попаданцы
альтернативная история
аниме
5.00
рейтинг книги
Неправильный лекарь. Том 4